DRAPER 94186 10 Tonne Hydraulic Body Repair Kit

These instructions accompanying the product are the original instructions. This document is part of the product, keep it for the life of the product passing it on to any subsequent holder of the product. Read all these instructions before assembling, operating or maintaining this product.
This manual has been compiled by Draper Tools describing the purpose for which the product has been designed, and contains all the necessary information to ensure its correct and safe use. By following all the general safety instructions contained in this manual, it will ensure both product and operator safety, together with longer life of the product itself.
All photographs and drawings in this manual are supplied by Draper Tools to help illustrate the operation of the product.
Whilst every effort has been made to ensure the accuracy of information contained in this manual, the Draper Tools policy of continuous improvement determines the right to make modifications without prior warning.
TITLE PAGE
INTRODUCTION:
USER MANUAL FOR: 10TONNE BODY REPAIR KIT
Stock No: 94186
Part No: BR10/KITC
REVISION HISTORY:
Date first published November 2019
First revision June 2022
As our user manuals are continually updated, users should make sure that they use the very latest version.
Downloads are available from: http://drapertools.com/manuals
Draper Tools Limited
Hursley Road
Chandler’s Ford
Eastleigh
Hampshire
SO53 1YF
UK
Delta International
Delta International BV
Oude Graaf 8 8
6002 NL
Weert
Netherlands
Website: drapertools.com
Product help line: +44 (0) 23 8049 4344
General Fax: +44 (0) 23 8026 0784
UNDERSTANDING THIS MANUALS SAFETY CONTENT:
WARNING!- Information that draws attention to the risk of injury or death.
CAUTION!- Information that draws attention to the risk of damage to the product or surroundings.
COPYRIGHT ® NOTICE:
CopyrightO Draper Tools Limited.
Permission is granted to reproduce this publication for personal and educational use only. Commercial copying, redistribution, hiring or lending is prohibited.
No part of this publication may be stored in a retrieval system or transmitted in any other form or means without written permission from Draper Tools Limited.
In all cases this copyright notice must remain intact.
WARRANTY
Draper tools have been carefully tested and inspected before shipment and are guaranteed to be Tree from defective materials and workmanship. Should the tool develop a fault, please return the complete tool to your nearest distributor or contact
Draper Tools Limited, Chandler’s Ford, Eastleigh, Hampshire, S053 1YF. England.
Telephone Sales Desk: (023) 8049 4333 or Product Help Line (023) 8049 4344.
A proof of purchase must be provided with the tool.
fupon inspection it is found that the fault occurring is due to defective materials or workmanship, repairs wil be carried out tree of charge. his warranty period covering parts & labour is 12 months from the date of purchase except where tools are hired out when the warranty period is 90 days from the date of purchase. This warranty does not apply to any consumable parts, any type of battery or normal wear and tear, nor does it cover any damage caused by misuse, careless or unsafe handling, alterations, accidents, or repairs attempted or made by any person other than the authorized Draper warranty repair agent.
Note: If the tool is found not to be within the terms of warranty, repairs and carriage charges will De quolea and made accordingly.
This warranty applies in lieu of any other warranty expressed or implied and variations of its terms are not authorised.
Your Draper warranty is not effective unless you can produce upon request a dated receipt or invoice to verity your proof of purchase within the warranty period.
Please note that this warranty is an additional benefit and does not affect your statutory rights.
Draper Tools Limited.
HEALTH AND SAFETY INFORMATION
GENERAL SAFETY INSTRUCTIONS
Read all safety warnings and instructions. Failure to heed these markings may result in personal injury and/or property damage.
Save all warnings and instructions for future reference.
The warnings, precautions and instructions discussed in this manual cannot cover all possible conditions and situations that may occur. It must be understood by the operator that common sense and caution are factors that cannot be built into this product, but must be supplied by the operator.
WORK AREA
Turn off the engine, set the parking brake and block the tyres before working on a vehicle.
Keep the work area clean and well lit. Cluttered benches and dark areas increase the risk of injury to persons.
Keep bystanders and children away while operating the tool. Distractions can result in loss of control of the tool.
PERSONAL SAFETY
Stay alert. Watch what you are doing and use common sense when operating the tool.
Do not use the tool while tired or under the influence of drugs, alcohol or medication.
A moment of inattention while operating the tool increases the risk of injury to persons.
Dress properly. Do not wear loose clothing or jewellery. Contain long hair. Keep hair, clothing and gloves away from moving parts. Loose clothes, jewellery or long hair increases the risk of injury to persons as a result of being caught in moving parts.
Use safety equipment. Wear safety goggles and heavy-duty work gloves during use.
TOOL USE AND CARE
Do not force the tool. Use the correct tool for the application. The correct tool will do the job better and safer at the rate for which the tool is designed.
Store the tool when it is idle out of reach of children and other untrained persons. A tool is dangerous in the hands of untrained users.
Check for misalignment or binding of moving parts, breakage of parts and any other condition that affects the tool’s operation. If damaged, have the tool serviced before using.
Many accidents are caused by poorly maintained tools.
Use only accessories that are identified by the manufacturer for the specific tool model.
Use of an accessory not intended for use with the specific tool model, increases the risk of injury to persons.
Avoid off-centre loads. If the Pump seems unusually hard to operate, immediately stop.
Adjust the Ram to eliminate or diminish an off-centre load. The Flange Base and Flange Head must QDJy be used together to prevent an off-centre load.
Protect the Hose. Do not drop heavy objects on the Hose. Avoid kinks in the Hose.
Maintain proper clearance to avoid damage to the Hose and Couplers.
Inspect repair before using vehicle. Repairs to structural or frame members must be inspected by a qualified technician to ensure that the structure is still strong enough to safely fulfil its potential.
SERVICE
Tool service must be performed only by qualified repair personnel.
When servicing a tool, use only identical replacement parts. Use only authorised parts.
TECHNICAL DESCRIPTION
IDENTIFICATION

- Handle
- Breather Valve (Oil Filler Screw)
- Pump
- Release Valve
- Hose
- Warning Line
- Hose Coupler
- Ram
- Ram Coupler
Warning!- Ensure that the rated working pressure of each pressurised attachment be equal to or greater than the rated working pressure developed by the hydraulic pump.
- Always check connections before using. Alteration of these products is strictly prohibited. Use only those adapters and attachments provided and approved by the manufacturer.
- When extension tubes and/or offset attachments are used, the rated capacity is always reduced by 50% for each tube or offset attachment connected.
- Do not attempt to operate pump unless the Breather Valve is open.
- Do not overextend the Ram. (Do not go over the Warning Line on the Ram’s Piston.
- Do not exceed rated capacity.UNPACKING AND CHECKING
PACKAGING
Carefully remove the product from the packaging and examine it for any sign of damage that may have happened during shipping. Lay the contents out and check them against the parts shown below. If any part is damaged or missing please contact the Draper help line (the telephone number appears on the Title page) and do not attempt to use the tool. The packaging material should be retained at least during the warranty period in case the tool needs to be returned for repair.
Warning!
Some of the packaging materials used may be harmful to children. Do not leave any of these materials in the reach of children.
.If any of the packaging is to be thrown away, make sure they are disposed of correctly according to local regulations.
WHAT’S IN THE BOX?
As well as the Pump and Ram there are parts not fitted or attached to it.
- Spreader
- Extension Bara
- Flat Base
- Flange Base
- Flange Head
- Wadge Head
- 90 V Base
- Male Connector
- Cap Head
- Rubber Head
ASSEMBLY
RAM ATTACHMENTS
- The Extensions 11) connect in different combinations to reach desired lengths.
- The Male Connector 17) is used to connect the female end of the Ram (8) to a Base.
- The Flat Base 12) is typically used on the stationary side to spread out the force of the Ram(8)
- The 90 V Base 16) is used to offset the force of the Ram (8) when there is not a straight line between the stationary side and the damaged side, or to spread out force on curved surtaces.
- The Cap Head 18 is typically used on the pushing end to prevent slipping.
- The Rubber Head 19) is typically used for popping dents out of sheet metal such as doors or body panels and to minimise damage to the work surtace.
- The Wedge Head 9 is used to repair small dents and areas located in angles and tight spaces.
- The Flange Base 13) and Flange Head 14) are used together to allow spreading in areas that the Ram cannot fit into.
Note: The Flange Base and Flange Head must only be used together to prevent an off-centre load.
RAM SET UP – FIG. 2
When extension tubes and/or offset attachments are used, the rated capacity is always reduced by 50% for each tube or offset attachment connected.
- Clean the end of the Hose CD and the inlet on the Ram®· Unscrew and save the Dust Covers located on the end of the Hose CD and Ram®·
- Attach the Hose to the Ram.
- Assemble attachments as shown below:

OPERATION AND USE
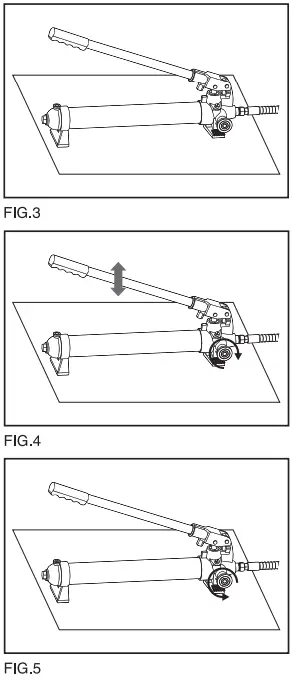
TO OPERATE PUMP – FIGS. 3 – 5
- Check the Hydraulic Fluid Level, following the instructions in the Cleaning and Maintenance section.
- Determine which direction the frame needs to be bent.
- Remove any obstructions that could be damaged or are in the way.
- Position the Pump Unit on a stable, flat and level surface.
- Close the release valve by turning it clockwise until it is firmly closed. Pump Handle to apply pressure.
- Turn the Release Valve counter-clockwise to release the pressure.
Note: The Pump Unit may be positioned horizontally or vertically. When using the Hydraulic Pump@ in a vertical position, always keep the Hose ® end of the Hydraulic Unit downward.
TO OPERATE RAM
Connect the appropriate Base(12,13, 16) to the stationary side of the Ram 8 and connect the appropriate head to the pushing end of the Ram.
Note: When repairing larger body panel dents such as a dented door, fender or quarter-panel use the Rubber Head 19 on the pushing end.
- If using the Flange Base 13 or Flange Head 14: Thread the Flange Base onto the Ram completely and align the Flange Head to it. The Flange Base and Flange Head must only be used together to prevent off-centre load.
- Position the Ram 8 so that the Base is resting against a frame member opposite the damaged area. It must also be in line with the direction in which the damaged area needs to be pushed. The vehicle body part must be stronger than the area to be bent or it may be damaged. A block of wood or a towel may be used to protect the body part.
- Aim the pushing end towards the area that needs to be repaired and slowly apply pressure with the Pump 3·
Note: To prevent damage, do not overextend the Ram.
TO OPERATE SPREADER (C)
- Place the Spreader 10 so that the hinged (pushing) arm is resting against the part to be moved and the stationary arm is resting against a non-movable base.
- Carefully hold the Spreader in position and apply pressure with the Pump3·
Warning! - Once both ends have made contact, move as far away as possible and continue to slowly apply pressure to the damaged area until the desired bend has been made.
- CAUTION! Keep hands away from contact areas and tight spaces. The tool may slip and cause injury.
- When the damaged area has been bent to the desired position, slowly turn the Release
Valve counter-clockwise to release the hydraulic pressure and remove the Ram 8 or Spreader 10). - Clean all hydraulic ports and cover them with clean Dust Covers to prevent contamination and damage
MAINTENANCE
CLEANING AND MAINTENANCE
- Keep the surface of this tool and its accessories free of hydraulic fluid and grease. Use only a mild detergent and damp cloth when cleaning. Do not use a flammable or combustible solvent to clean this tool or its accessories.
- Before each use, examine the general condition of the tool and its accessories. Check for loose components, misalignment, binding of moving parts, broken parts and any other condition that may affect its safe operation. Do not use a damaged tool or its damaged accessories.
- Keep hydraulic connections clean. Clean all hydraulic ports and replace Dust Covers immediately after use.
- Store the Pump® with the Release Valve open.
FILLING AND BLEEDING HYDRAULIC FLUID – FIG. 6
If the Pump 3operation feels spongy, or the Ram 8 lowers while the Release Valve is closed, there may be air in the Pump. Bleed the Pump as follows:
- Set Pump 3 flat on a level surface.
- Remove the Fill Screw2· The Seal Ring should come off with it.
- The fluid level should be near the bottom of the opening. If required, add high grade hydraulic fluid.
- Make sure the Seal Ring is still in place around the Fill Screw and thread the Fill Screw into the
- Pump securely. Do not use thread seal tape.
- Firmly close the Release Valve by turning it clockwise.
- Press the tip of the Coupler against a hard surface and pump the pump handle.
- Continue pumping until the hydraulic fluid coming out the end of the Coupler tip is free of air bubbles.

- Recheck the fluid level and add fluid if necessary.
- Turn the Release Valve counter-clockwise to release the pressure in the Pump and Hose
CHANGING HYDRAULIC FLUID
- Change the hydraulic fluid yearly.
- Remove the Fill Screw and tilt the Pump ® to drain out the old fluid.
- Refill the hydraulic fluid and bleed the system several times to ensure all air is out of the system.
TROUBLESHOOTING
| Problems | Possible cause | Required action |
| Ram does not operate when handle is pumped. | – Release valve not tightly closed. – Air in the pump. – The steel ball is immersed inside for too long a time. | – Firmly close the release valve. – See Filling and Bleeding Hydraulic Fluid on page 13. – Please follow these steps: 1. Open the release valve by turning it counter-clockwise, pump up the handle 10-15 times. 2. Close the release valve by turning it clockwise, pump up the handle 5 – 10 times. 3. Repeat steps 1 and 2 about 3times. |
| Ram will not hold load. | – Release valve not tightly closed. – Malfunction in pump such as dirt inside valve mechanism. | – Firmly close the release valve. – Please follow these steps: 1. Open the release valve by turning it counter-clockwise, pump up the handle 10-15 times. 2. Close the release valve by turning it clockwise, pump up the handle 5 – 1o times. 3. Repeat steps 1 and 2. |
| Ram reluctant to lower when load removed. | – Oil reservoir overfilled. – Piston binding. – Overextend the Ram. | – Drain oil to correct level. – Clean and lubricate moving parts. – Replace Ram. |
| Ram will not extend to full range of stroke. | – Low oil level. | – Add hydraulic oil to the reservoir. |
| Ram tries to tilt to one side. | – Incorrect use of connection or unbalanced footing. | – Stop work and reposition Ram and base, ensuring it is well supported and as close to perpendicular to the repair as possible. |
DISPOSAL
– At the end of the machine’s working life, or when it can no longer be repaired, ensure that it is disposed of according to national regulations.
– Contact your local authority for details of collection schemes in your area.
In all circumstances:
- Do not dispose of tools with domestic waste.
- Do not incinerate.
- During decommissioning of the equipment, certain hazards should be understood and avoided:
- Only with the line pressure released shall the equipment be disassembled.
- Goggles should be worn.
CONTACT US
- Draper Tools Limited, Hursley Road,
- Chandler’s Ford, Eastleigh, Hampshire. SO53 1 YF. U.K.
- Delta International BV, Oude Graaf 8, 6002 NL, Weert, Netherlands
- Help line: +44 (0) 23 8049 4344
- Sales desk: +44 (0) 23 8049 4333
- Internet: www.drapertools.com
- E-mail: [email protected]
- General enquiries: (023) 8026 6355
- Service/Warranty Repair Agent:
For aftersales servicing or warranty repairs, please contact the Draper Tools help line for details of an agent in your local area.



















