
Owner’s Manual & Safety Instructions
Save This Manual Keep this manual for the safety warnings and precautions, assembly, operating, inspection, maintenance, and cleaning procedures. Write the product’s serial number in the back of the manual near the assembly diagram (or month and year of purchase if the product has no number). Keep this manual and the receipt in a safe and dry place for future reference.

Visit our website at: http://www.harborfreight.com
Email our technical support at: [email protected]
When unpacking, make sure that the product is intact and undamaged. If any parts are missing or broken, please call 1-888-866-5797 as soon as possible.
Copyright© 2021 by Harbor Freight Tools ®. All rights reserved. No portion of this manual or any artwork contained herein may be reproduced in any shape or form without the express written consent of Harbor Freight Tools. Diagrams within this manual may not be drawn proportionally. Due to continuing improvements, the actual product may differ slightly from the product described herein. Tools required for assembly and service may not be included.
WARNING
Read this material before using this product. Failure to do so can result in serious injury. SAVE THIS MANUAL.
SPECIFICATIONS
| Length | Operating Pressure | Capacity Dia. | |||
| Min | Max | ||||
| 2-Ton Hydraulic Push Ram (with Saddle) | 5-1/2″ | 9-1/2″ | 5700 PSI | 4400 lb. | 1-5/8″ |
| 4-Ton Hydraulic Push Ram | 1-5/8″ | 2-1/4″ | 5700 PSI | 8800 lb. | 2″ |
| 4-Ton Hydraulic Push Ram (with Spring) | 10-3/4″ | 16″ | 8000 PSI | 8800 lb. | 1-5/8″ |
| 10-Ton Hydraulic Push Ram (w/Saddle & Spring) | 5-1/4″ | 7-1/2″ | 8800 PSI | 22000 lb. | 2-3/16″ |
| 10-Ton Hydraulic Push Ram (with Spring) | 13-3/4″ | 19-5/8″ | 8800 PSI | 22000 lb. | 2-1/8″ |
| 2-Ton Hydraulic Pull Ram (with Spring) | 16-5/8″ | 21-5/8″ | 7800 PSI | 4400 lb. | 1-1/2″ |
| 5-Ton Hydraulic Pull Ram (with Spring) | 19″ | 24″ | 8800 PSI | 11000 lb. | 2-3/8″ |
Note: This equipment requires a compatible Hydraulic Pump, hydraulic hoses, and hydraulic fittings to operate properly. None of this equipment is provided, and all of it must be properly rated for use with this kit.
IMPORTANT SAFETY INFORMATION
INFORMATION
- Do not exceed operating pressure or maximum length for any ram, refer to Specifications chart.
- Use as intended only. Do not use this item to raise or move a vehicle.
- Use according to vehicle’s service instructions only. It is beyond the scope of this manual to discuss body/frame repair guidelines. It is the responsibility of the user to
consult a body/frame repair technical manual for full instructions. - Wear ANSI-approved safety goggles and heavy-duty work gloves during setup and use.
- Stay clear of Rams during operation. Position body as far away as practical when Ram is under load. Ram can slip suddenly, causing injury.
- Keep work area clean and well-lit.
- Keep bystanders out of the work area.
- Do not use when tired or when under the influence of alcohol, drugs, or medication.
- This product is not a toy. Do not allow children to play with or near this item.
- Inspect before every use; do not use if parts are loose or damaged.
- Maintain product labels and nameplates. These carry important safety information. If unreadable or missing, contact Harbor Freight Tools for a replacement.
- Use compressed hydraulic fluid only. Do not use any other power source or fluid to operate this product.
- Read and understand Hydraulic Pump instructions before use.
- Before working on a vehicle, set the parking brake and block the tires.
- Avoid off-center loads. If the Hydraulic Pump (not included) unit seems unusually hard to pump, immediately stop the operation. Adjust the Hydraulic Ram unit to
eliminate or diminish an off-center load. - The results you achieve with these tools will depend upon your skill and experience at using tools of this type. Harbor Freight Tools is not responsible for damage to vehicles caused by misuse of these tools.
- Keep the Hose Couplers protected when the Hydraulic Rams are not in use. Screw Dust Caps into all Hose Couplers when not in use to keep Ram internal mechanisms clean.
- The warnings and cautions discussed in this manual cannot cover all possible conditions and situations that may occur. It must be understood by the operator that common sense and caution are factors which cannot be built into this product but must be supplied by the operator.
SAVE THESE INSTRUCTIONS.

ASSEMBLY INSTRUCTIONS
Read the ENTIRE IMPORTANT SAFETY INFORMATION section at the beginning of this document including all text under subheadings therein before set up or use of this product.
Refer to instructions provided with pump, hoses, and fittings for proper hydraulic line purging, preparation, and connection procedures.
OPERATION INSTRUCTIONS
Read the ENTIRE IMPORTANT SAFETY INFORMATION section at the beginning of this document including all text under subheadings therein before set up or use of this product.
Note: In most cases, the Push and Pull Hydraulic Rams in this Kit will only be capable of returning vehicle body and frame parts to their approximate, original position. Additional work may be required to completely repair the vehicle part.
Pushing
- Use the larger Push Rams where greater force is needed and where there is sufficient room to operate.
- Use the smaller Push Rams where less force is required.
- When positioning the Push Ram, place a block of wood or other material behind the base of the Push Ram and on the side that is to be bent for protection and to spread the Push Ram pressure over a greater area.
Note: The Push Rams require a solid, non-movable base directly across from the damaged area and in line with the direction the damaged area needs to be bent.

Pulling
- Use the larger Pull Ram where greater force is needed and where there is sufficient room to operate.
- Use the smaller Pull Ram where less force is required.
- Hook one end of the Pull Ram to the object to be moved and the other end of the Pull Ram to a stable, unmovable base.
- A chain or strap may be used on either end to provide a hooking surface. Make sure the chain or strap is rated to support the pulling weight.
Note: The Hydraulic Pull Rams may be used in either horizontal or vertical positions. The Hooks will turn to accept hooking from different angles.

INSPECTION, AND CLEANING MAINTENANCE,
Procedures not specifically explained in this manual must be performed only by a qualified technician.
WARNING
TO PREVENT SERIOUS INJURY FROM TOOL FAILURE: Do not use damaged equipment. If abnormal noise or vibration occurs, have the problem corrected before further use.
- BEFORE EACH USE, inspect the general condition of the tool. Check for:
- loose hardware,
- misalignment or binding of moving parts,
- cracked or broken parts, and
- any other condition that may affect its safe operation.
2. AFTER USE, wipe external surfaces of the tools with clean cloth.
3. Keep the Auto Body/Frame Repair Kit in its Carrying Case and in a clean, dry, safe location out of reach of children and other unauthorized people.
Troubleshooting
Problem | Possible Cause | Possible Solution | ||
| Hydraulic Ram will not push or | 1. | Release Valve on Hydraulic Pump (not included) not tightly closed. | 1. | Close Release Valve tightly. |
| pull the load. | 2. | Overload condition. | 2. | Do not exceed maximum PSI or range of travel for Hydraulic Ram. |
| 3. | Air trapped in Hydraulic Pump system. | 3. | Purge air from Hydraulic Pump system. | |
| 4. | Hydraulic Pump oil level low. | 4. | Add oil to proper level. | |
| 5. | Loose connection from Hydraulic Pump to Hydraulic Ram. | 5. | Make sure connection from Hydraulic Pump to | |
| Hydraulic Ram is secure. | ||||
| Hydraulic Ram will push or pull, but will not maintain pressure. | 1. 2. | Release Valve on Hydraulic Pump (not included) not tightly closed. Overload condition. | 1. 2. | Close Release Valve tightly. Do not exceed maximum PSI or range of travel for Hydraulic Ram. |
| 3. | Hydraulic Pump or Hydraulic Ram malfunction. | 3. | Have a qualified service technician check out the Hydraulic | |
| Pump and/or Hydraulic Ram. |
PLEASE READ THE FOLLOWING CAREFULLY
THE MANUFACTURER AND/OR DISTRIBUTOR HAS PROVIDED THE PARTS LIST AND ASSEMBLYDIAGRAM IN THIS DOCUMENT AS A REFERENCE TOOL ONLY. NEITHER THE MANUFACTURER OR DISTRIBUTOR MAKES ANY REPRESENTATION OR WARRANTY OF ANY KIND TO THE
BUYER THAT HE OR SHE IS QUALIFIED TO MAKE ANY REPAIRS TO THE PRODUCT, OR THAT HE OR SHE IS QUALIFIED TO REPLACE ANY PARTS OF THE PRODUCT. IN FACT, THE MANUFACTURER AND/OR DISTRIBUTOR EXPRESSLY STATES THAT ALL REPAIRS AND PARTS REPLACEMENTS SHOULD BE UNDERTAKEN BY CERTIFIED AND LICENSED TECHNICIANS, AND NOT BY THE BUYER. THE BUYER ASSUMES ALL RISK AND LIABILITY ARISING OUT OF HIS OR HER REPAIRS TO THE ORIGINAL PRODUCT OR REPLACEMENT PARTS THERETO, OR ARISING OUT OF HIS OR HER INSTALLATION OF REPLACEMENT PARTS THERETO.
Record Serial Number Here:
Note: If product has no serial number, record month and year of purchase instead.
Note: Some parts are listed and shown for illustration purposes only, and are not available individually as replacement parts. Specify UPC 193175451484 when ordering parts.
PARTS LISTS AND DIAGRAMS
Parts List and Diagram A – 2 Ton Push Ram with Saddle
Part | Description | Qty |
| 1A | Screw | 1 |
| 2A | Ram | 1 |
| 3A | Seal Ring | 1 |
| 4A | Nut | 1 |
| 5A | Cylinder | 1 |
| 6A | Coupling Ring | 1 |
| 7A | Hose Coupler | 1 |
| 8A | 0-Ring | 1 |
| 9A | Dust Cap | 1 |

Parts List and Diagram B – 4 Ton Push Ram
| Part | Description | Qty |
| 1B | Nylon Ring | 1 |
| 2B | 0-Ring | 1 |
| 3B | Cylinder Screw | 1 |
| 4B | 0-Ring | 1 |
| 5B | Ram | 1 |
| 6B | Cylinder | 1 |
| 7B | Coupling Ring | 1 |
| 8B | Hose Coupler | 1 |
| 9B | 0-Ring | 1 |
| 10B | Dust-Cap | 1 |

Parts List and Diagram C – 4 Ton Push Ram with Spring
| Part | Description | Qty |
| 1C | Snap Ring | 1 |
| 2C | Piston Rod | 1 |
| 3C | Snap Ring | 1 |
| 4C | Bushing | 1 |
| 5C | Nylon Ring | 1 |
| 6C | Seal Ring | 1 |
| 7C | Snap Ring | 1 |
| 8C | Spring | 1 |
| 9C | Screw | 1 |
| 10C | Thread Protector Ring | 1 |
| 11C | Cylinder Screw | 1 |
| 12C | Cylinder | 1 |
| 13C | Hex Screw | 1 |
| 14C | Coupling Ring | 1 |
| 15C | Hose Coupler | 1 |
| 16C | 0-Ring | 1 |
| 17C | Dust Cap | 1 |

Parts List and Diagram D – 10-Ton Push Ram with Saddle & Spring
| Part | Description | Qty |
| 10 | Saddle | 1 |
| 2D | Snap Ring | 1 |
| 3D | Hex Screw | 1 |
| 4D | Copper Washer | 1 |
| 5D | Ram | 1 |
| 6D | Bushing | 1 |
| 7D | Nylon Ring | 1 |
| 8D | Seal Ring | 1 |
| 9D | Snap Ring | 1 |
| 10D | Nut | 1 |
| 110 | Spring | 1 |
| 12D | Cylinder Screw | 1 |
| 13D | Cylinder | 1 |
| 14D | 0-Ring | 1 |
| 15D | Cylinder Base | 1 |
| 16D | Pin | 1 |
| 17D | Coupling Ring | 1 |
| 18D | Hose Coupler | 1 |
| 19D | 0-Ring | 1 |
| 20D | Dust Cap | 1 |

Parts List and Diagram E – 10 Ton Push Ram with Spring
| Part | Description | Qty |
| 1E | Hex Screw | 1 |
| 2E | Copper Washer | 1 |
| 3E | Snap Ring | 1 |
| 4E | Piston Rod | 1 |
| 5E | Snap Ring | 1 |
| 6E | Bushing | 1 |
| 7E | Nylon Ring | 1 |
| 8E | Seal Ring | 1 |
| 9E | Snap Ring | 1 |
| 10E | Screw | 1 |
| 11E | Spring | 1 |
| 12E | Thread Protector Ring | 1 |
| 13E | Cylinder Screw | 1 |
| 14E | Cylinder | 1 |
| 15E | Pin | 1 |
| 16E | Coupling Ring | 1 |
| 17E | Hose Coupler | 1 |
| 18E | 0-Ring | 1 |
| 19E | Dust Cap | 1 |

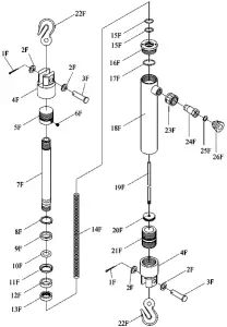
Parts List and Diagram F – 2 Ton Pull Ram with Spring
| Part | Description | Qty |
| 1F | R-Pin | 2 |
| 2F | Washer | 4 |
| 3F | Axle Pin | 2 |
| 4F | Couplinq | 2 |
| 5F | Screw | 1 |
| 6F | Hex Screw | 1 |
| 7F | Ram | 1 |
| 8F | Snap Ring | 1 |
| 9F | Bushing | 1 |
| 1OF | 0-Ring | 1 |
| 11F | U-Cup | 1 |
| 12F | Bushing | 1 |
| 13F | Nut | 1 |
| 14F | Spring | 1 |
| 15F | 0-Ring | 2 |
| 16F | Nut | 1 |
| 17F | 0-Ring | 1 |
| 18F | Cylinder | 1 |
| 19F | Shaft | 1 |
| 20F | Shaft Base | 1 |
| 21F | Screw Coupler | 1 |
| 22F | Hook | 2 |
| 23F | Couplinq Ring | 1 |
| 24F | Hose Coupler | 1 |
| 25F | 0-Ring | 1 |
| 26F | Dust Cap | 1 |

Parts List and Diagram G – 5 Ton Pull Ram with Spring
| Part | Description | Qty |
| 1G | Top Hook | 1 |
| 2G | Nut | 1 |
| 3G | Hex Screw | 2 |
| 4G | Ram | 1 |
| 6G | Snap Ring | 1 |
| 7G | Bushing | 1 |
| 8G | 0-Ring | 1 |
| 9G | U-Cup | 1 |
| 10G | Bushing | 1 |
| 11G | Nut | 1 |
| 12G | Spring | 1 |
| Part | Description | Qty |
| 13G | Shaft | 1 |
| 14G | 0-Ring | 1 |
| 15G | 0-Ring | 1 |
| 18Ga | Cylinder | 1 |
| 19G | Bottom Hook | 1 |
| 20G | Coupling Ring | 1 |
| 21G | Hose Coupler | 1 |
| 22G | 0-Ring | 1 |
| 23G | Dust Cap | 1 |
| 24G | Nut | 1 |

Limited 90 Day Warranty
Harbor Freight Tools Co. makes every effort to assure that its products meet high quality and durability standards, and warrants to the original purchaser that this product is free from defects in materials and workmanship for the period of 90 days from the date of purchase. This warranty does not apply to damage due directly or indirectly, to isuse, abuse, negligence or accidents, repairs or alterations outside our facilities, criminal activity, improper installation, normal wear and tear, or to lack of maintenance. We shall in no event be liable for death, injuries to persons or property, or for incidental, contingent, special or consequential damages arising from the use of our product. Some states do not allow the exclusion or limitation of incidental or consequential damages, so the above limitation of exclusion may not apply to you. THIS WARRANTY IS EXPRESSLY IN LIEU OF ALL OTHER WARRANTIES, EXPRESS OR IMPLIED, INCLUDING THE WARRANTIES OF MERCHANTABILITY AND FITNESS.
To take advantage of this warranty, the product or part must be returned to us with transportation charges prepaid. Proof of purchase date and an explanation of the complaint must accompany the merchandise. If our inspection verifies the defect, we will either repair or replace the product at our election or we may elect to refund the purchase price if we cannot readily and quickly provide you with a replacement. We will return repaired products at our expense, but if we determine there is no defect, or that the defect resulted from causes not within the scope of our warranty, then you must bear the cost of returning the product.
This warranty gives you specific legal rights and you may also have other rights which vary from state to state.
![]()
26541 Agoura Road • Calabasas, CA 91302 • 1-888-866-5797



















