PITTSBURGH 58867 Long Ram Hydraulic Jack

Product Information
The Long Ram Jack is a heavy-duty hydraulic jack designed for lifting and supporting loads. The jack comes in four different models: 58867 – 3 Ton Round, 58866 – 8 Ton Round, 58906 – 3 Ton Flat, and 58868 – 8 Ton Flat. The Round Bottom models have 5/8 round pin holes for the base, while the Flat Bottom models have either a 4-1/2 x 3-13/16 or 5-1/8 x 4-1/4 flat base. The jack has a maximum height ranging from 41-1/2 to 44-1/2 inches and a minimum height ranging from 22-3/4 to 24-3/4 inches, depending on the model. The jack’s rated load capacity ranges from 3 tons (6,000 lb.) to 8 tons (16,000 lb.), again depending on the model.
Product Usage Instructions
- Before using the Long Ram Jack, read all safety warnings and instructions provided in the user manual.
- Ensure that the jack is intact and undamaged when unpacking it. If any parts are missing or broken, contact customer support immediately by calling 1-888-866-5797.
- Identify the appropriate model of the jack for your needs based on the load capacity and base type.
- Mount the jack properly as part of a device designed for this type of jack before use. Ensure that the mounting points, maximum length, and rating are identical to those recommended for the jack.
- Wear ANSI-approved safety goggles and heavy-duty work gloves while using the jack.
- Keep bystanders, children, and visitors away from the area while operating the jack.
- Keep clear of the load while lifting and lowering it with the jack.
- Lower the load slowly to prevent sudden failure of the jack or device.
- Do not use the jack for aircraft purposes.
- Inspect the jack before every use and do not use it if any parts are loose or damaged.
- Keep your work area clean and well lit to avoid accidents.
- Stay alert while operating the jack, and do not use it while tired or under the influence of drugs, alcohol, or medication.
Owner’s Manual & Safety Instructions
Save This Manual Keep this manual for the safety warnings and precautions, assembly, operating, inspection, maintenance and cleaning procedures. Write the product’s serial number in the back of the manual near the assembly diagram (or month and year of purchase if product has no number). Keep this manual and the receipt in a safe and dry place for future reference.
Visit our website at: http://www.harborfreight.com
Email our technical support at: [email protected]
When unpacking, make sure that the product is intact and undamaged. If any parts are missing or broken, please call 1-888-866-5797 as soon as possible.
Copyright© 2021 by Harbor Freight Tools®. All rights reserved.
No portion of this manual or any artwork contained herein may be reproduced in any shape or form without the express written consent of Harbor Freight Tools. Diagrams within this manual may not be drawn proportionally. Due to continuing improvements, actual product may differ slightly from the product described herein. Tools required for assembly and service may not be included.
Read this material before using this product. Failure to do so can result in serious injury. SAVE THIS MANUAL.
Specifications
| ITEM | Rated Load | Max. Height | Min. Height | Base Type | Ram Pin Hole |
| 58867 | 3 Tons (6,000 lb.) | 44-1⁄2″ | 24-3⁄4″ | 5⁄8″ Round Pin Holes | 5⁄8″ |
| 58866 | 8 Tons (16,000 lb.) | 43-1⁄4″ | 24-3⁄8″ | 5⁄8″ Round Pin Holes | 5⁄8″ |
| 58906 | 3 Tons (6,000 lb.) | 42-1⁄2″ | 23″ | 4-1⁄2″ x 3-13⁄16″ Flat | 5⁄8″ |
| 58868 | 8 Tons (16,000 lb.) | 41-1⁄2″ | 22-3⁄4″ | 5-1⁄8″ x 4-1⁄4″ Flat | 5⁄8″ |
Note: Height indicates hole-to-hole on Round Bottom models; hole-to-flat on Flat Bottom models.
| WARNING SYMBOLS AND DEFINITIONS | |
![]() | This is the safety alert symbol. It is used to alert you to potential personal injury hazards. Obey all safety messages that follow this symbol to avoid possible injury or death. |
![]() | Indicates a hazardous situation which, if not avoided, will result in death or serious injury. |
![]() | Indicates a hazardous situation which, if not avoided, could result in death or serious injury. |
![]() | Indicates a hazardous situation which, if not avoided, could result in minor or moderate injury. |
![]() | Addresses practices not related to personal injury. |
IMPORTANT SAFETY INFORMATION
Read all safety warnings and instructions. Failure to follow the warnings and instructions may result in serious injury and DEATH from sudden failure of Jack or device. Save all warnings and instructions for future reference.
- Study, understand, and follow all instructions before operating this device.
- Install ONLY on device designed for a Jack with the same rating:
- A device designed for a Jack with a higher rating may damage the Jack or cause it to suddenly fail under load.
- A device designed for a Jack with a lower rating may be damaged or may suddenly fail under load.
- Mount properly as part of a device designed for this type of Jack before use. Mounting points, maximum length, and rating must be IDENTICAL.
Do not mount on different device or use while not mounted properly. - Do not use upside-down.
- Do not adjust safety valve.
- Wear ANSI-approved safety goggles and heavy-duty work gloves during use.
- Keep clear of load while lifting and lowering.
- Lower load slowly.
- Do not use for aircraft purposes.
- Inspect before every use; do not use if parts loose or damaged.
- Keep your work area clean and well lit. Cluttered work areas invite accidents.
- Keep bystanders, children, and visitors away while operating Jack.
- Stay alert. Watch what you are doing, and use common sense when operating a Jack. Do not use a Jack while tired or under the influence of drugs, alcohol, or medication.
- Jack service must be performed only by qualified repair personnel. Service or maintenance performed by unqualified personnel could result in a risk of injury.
- When servicing a Jack, use only identical replacement parts.
Follow instructions in the “Cleaning, Maintenance and Lubrication” section of this manual. Use of unauthorized parts or failure to follow maintenance instructions may create a risk of injury. - Maintain labels and nameplates on the Jack.
These carry important information.
If unreadable or missing, contact Harbor Freight Tools for a replacement. - Industrial applications must
follow OSHA requirements. - The warnings, precautions, and instructions discussed in this manual cannot cover all possible conditions and situations that may occur.
The operator must understand that common sense and caution are factors which cannot be built into this product, but must be supplied by the operator.
SAVE THESE INSTRUCTIONS.
Operating Instructions
Read the ENTIRE IMPORTANT SAFETY INFORMATION section at the beginning of this document including all text under subheadings therein before set up or use of this product.
Mounting
WARNING! TO PREVENT SERIOUS INJURY: Install ONLY on device designed for a Jack with the same rating:
- A device designed for a Jack with a higher rating may damage the Jack or cause it to suddenly fail under load.
- A device designed for a Jack with a lower rating may be damaged or may suddenly fail under load.
WARNING! TO PREVENT SERIOUS INJURY: Mount properly as
part of a device designed for this type of Jack before use. Mounting points, maximum length, and rating must be IDENTICAL. Do not mount on different device or use while not mounted properly.
Note: Do not mount upside-down.
Note: Jack must have load on Piston to retract.
WARNING! TO PREVENT SERIOUS INJURY: Only use pins that are capable of supporting the rated load, and ensure that the pins are properly secured before use. Make sure the pins’ diameters are a push fit with just enough clearance so they move freely.

- Secure the Base to the device:
- Round Base:
Insert a pin (not included) through the holes in the Round Base and in the device, properly securing it. - Flat Base:
Secure Flat Base to the device according to device supplier’s instructions.
- Round Base:
- Insert another pin (not included) through the device and Ram Pin Hole.
- Secure pins in place with appropriate retaining rings or cotter pins (both sold separately).
Bleeding
IMPORTANT! Before first use, check for proper hydraulic oil level in the Jack. Then thoroughly test the Jack for proper operation prior to its actual use. If the Jack appears not to be working properly, it may be necessary to bleed its hydraulic system of excess air.

- Remove the Oil Fill Plug.
- Turn the Release Valve counterclockwise.
- Insert the Handle into the Handle Socket.
- Apply pressure to the lifting point, and pump the Handle quickly several times.
- Check the Oil Fill Hole and, if necessary, top off the Oil Fill Hole with hydraulic oil.
- Replace the Oil Fill Plug.
- Test the Jack several times for proper operation before attempting to lift a load. If, after purging, the Jack still does not appear to be working properly, do not use the Jack until it has been repaired by a qualified service technician.
WARNING! TO PREVENT SERIOUS INJURY: Do NOT adjust the safety valve which is to the right of the Release Valve.
Extending Jack
WARNING! TO PREVENT SERIOUS INJURY: Read device warnings and operation instructions before use. The following general Jack instructions do not cover necessary device-specific operation warnings and instructions.

- Before each use, thoroughly test the Jack for proper operation prior to its actual use. If the Jack appears not to be working properly, follow Bleeding instructions on page 5.
- Clear area near device and Jack.
- Turn the Release Valve firmly clockwise.
- Insert the Handle into the
Handle Socket. Pump the Handle to extend the Jack. Use smooth, full strokes for best results.
Note: Lower the Jack completely after use.
Retracting Jack
WARNING! TO PREVENT SERIOUS INJURY: Read device warnings and operation instructions before use. The following general Jack instructions do not cover necessary device-specific operation warnings and instructions.
Note: Jack must have load on Piston to retract.

- Clear area near device and Jack.
- Slowly turn the Release Valve counterclockwise (never more than two full turns) to allow the Jack to retract.
Note: Lower the Jack completely after use.
Maintenance and Servicing
Procedures not specifically explained in this manual must be performed only by a qualified technician.
TO PREVENT SERIOUS INJURY FROM ACCIDENTAL OPERATION: Do not use damaged equipment. If abnormal noise or vibration occurs, have the problem corrected before further use.
Cleaning, Maintenance, and Lubrication
- BEFORE EACH USE, inspect the general condition of the Jack. Check for:
- loose hardware,
- misalignment or binding of moving parts,
- cracked, bent, or broken parts, and
- any other condition that may affect its safe operation.
- Before each use, thoroughly test the Jack for proper operation prior to its actual use. If the Jack appears not to be working properly, follow Bleeding instructions on page 5.
- Change the hydraulic oil at least once every three years:
- With the Jack fully lowered, remove the Oil Fill Plug on the side.
- Tip the Jack to allow the old hydraulic oil to drain out completely, and dispose of the old hydraulic oil in accordance with local regulations.
- With the Jack upright, completely fill the Reservoir with a high quality hydraulic oil (not included) until the oil just begins to run out of the Oil Fill Hole.
- Then, reinstall the Oil Fill Plug.
- Clean with a clean cloth with a detergent or mild solvent.
Then, store the Jack in a safe, dry location out of reach of children and other non-authorized people.
Troubleshooting
TO PREVENT SERIOUS INJURY:
Use caution when troubleshooting a malfunctioning Jack.
Stay well clear of the supported load. Completely resolve all problems before use. If the solutions presented in the Troubleshooting guide do not solve the problem,
have a qualified technician inspect and repair the Jack before use.
After the Jack is repaired:
Test it carefully without a load by raising it and lowering it fully, checking for proper operation, BEFORE RETURNING THE JACK TO OPERATION.
DO NOT USE A DAMAGED OR MALFUNCTIONING JACK!
| POSSIBLE SYMPTOMS | PROBABLE SOLUTION (Make certain that the Jack is not supporting a load while attempting a solution.) | |||||
| Jack will not lift at its weight capacity | Saddle lowers under load | Pump stroke feels spongy | Saddle will not lift all the way | Handle moves up when Jack is under load | Oil leaking from filler plug | |
![]() | ![]() | Check that Release Valve is closed fully. | ||||
![]() | ![]() | ![]() | Valves may be blocked and may not close fully. To flush the valves: 1. Lower the Saddle and securely close the Release Valve. 2. Manually lift the saddle several inches. 3. Open the release valve and force the saddle down as quickly as possible. | |||
![]() | ![]() | ![]() | Jack may be low on oil. Check the oil level and refill if needed. | |||
| Jack may require bleeding – see instructions on page 5. | ||||||
![]() | Unit may have too much hydraulic oil inside, check fluid level and adjust if needed. | |||||
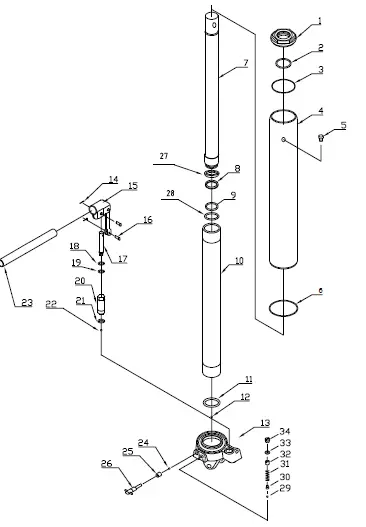
Parts List and Diagram
Parts List – 3 Ton Jacks
| Part | Description | Qty |
| 1 | Top Nut | 1 |
| 2 | O-Ring | 1 |
| 3 | Sealing Gasket | 1 |
| 4 | Reservoir | 1 |
| 5 | Oil Plug | 1 |
| 6 | T-Ring | 1 |
| 7 | Ram | 1 |
| 8 | Retaining-Ring | 1 |
| 9 | O-Ring | 1 |
| 10 | Cylinder | 1 |
| 11 | Washer | 1 |
| 12 | Steel Ball | 1 |
| 13 | Round Base (58867 only) | 1 |
| Flat Base (58906 only) | ||
| 14 | Cotter Pin | 2 |
| 15 | Handle Socket | 1 |
| 16 | Pin | 2 |
| 17 | Pump Piston | 1 |
| 18 | O-Ring | 1 |
| 19 | Back Up Ring | 1 |
| 20 | Pump | 1 |
| 21 | Washer | 1 |
| 22 | Steel Ball | 1 |
| 23 | Handle | 1 |
| 24 | Steel Ball | 1 |
| 25 | Square Pin | 1 |
| 26 | Release Valve | 1 |
| 27 | Guide Ring | 1 |
| 28 | Retaining Ring | 1 |
| 29 | Steel Ball | 1 |
| 30 | Seat | 1 |
| 31 | Spring | 1 |
| 32 | Screw | 1 |
| 33 | Seal Ring | 1 |
| 34 | Screw | 1 |

Parts List – 8 Ton Jacks
| Part | Description | Qty |
| 1A | Top Nut | 1 |
| 2A | O-Ring | 1 |
| 3A | Sealing Gasket | 1 |
| 4a | Reservoir | 1 |
| 5A | Oil Plug | 1 |
| 6A | T-Ring | 1 |
| 7A | Ram | 1 |
| 8A | Retaining-Ring | 1 |
| 9A | O-Ring | 1 |
| 10A | Cylinder | 1 |
| 11A | Washer | 1 |
| 12A | Steel Ball | 1 |
| 13A | Round Base (58866 only) | 1 |
| Flat Base (58868 only) | ||
| 14A | Cotter Pin | 2 |
| 15A | Handle Socket | 1 |
| 16A | Pin | 2 |
| 17A | Pump Piston | 1 |
| 18A | O-Ring | 1 |
| 19A | Back Up-Ring | 1 |
| 20A | Pump | 1 |
| 21A | Washer | 1 |
| 22A | Steel Ball | 1 |
| 23A | Handle | 1 |
| 24A | Steel Ball | 1 |
| 25A | Square Pin | 1 |
| 26A | Release Valve | 1 |
| 27A | Steel Ball | 1 |
| 28A | Seat | 1 |
| 29A | Spring | 1 |
| 30A | Screw | 1 |
| 31A | Seal Ring | 1 |
| 32A | Screw | 1 |

Note: When ordering replacement parts from this list, the “A” suffix must be included in order to get the correct part.
PLEASE READ THE FOLLOWING CAREFULLY
THE MANUFACTURER AND/OR DISTRIBUTOR HAS PROVIDED THE PARTS LIST AND ASSEMBLY DIAGRAM IN THIS DOCUMENT AS A REFERENCE TOOL ONLY. NEITHER THE MANUFACTURER OR DISTRIBUTOR MAKES ANY REPRESENTATION OR WARRANTY OF ANY KIND TO THE BUYER THAT HE OR SHE IS QUALIFIED TO MAKE ANY REPAIRS TO THE PRODUCT, OR
THAT HE OR SHE IS QUALIFIED TO REPLACE ANY PARTS OF THE PRODUCT. IN FACT, THE MANUFACTURER AND/OR DISTRIBUTOR EXPRESSLY STATES THAT ALL REPAIRS AND PARTS REPLACEMENTS SHOULD BE UNDERTAKEN BY CERTIFIED AND LICENSED TECHNICIANS, AND NOT BY THE BUYER. THE BUYER ASSUMES ALL RISK AND LIABILITY ARISING OUT OF HIS OR HER REPAIRS TO THE ORIGINAL PRODUCT OR REPLACEMENT PARTS THERETO,
OR ARISING OUT OF HIS OR HER INSTALLATION OF REPLACEMENT PARTS THERETO.
Record Serial Number Here:
Note: If product has no serial number, record month and year of purchase instead.
Note: Some parts are listed and shown for illustration purposes only, and are not available individually as replacement parts. Parts may not be interchangeable. Specify UPC number when ordering, as follows.
- 3 Ton Round (58867): 193175474810
- 8 Ton Round (58866): 193175474803 3
- Ton Flat (58906): 193175474841 8
- Ton Flat (58868): 193175474834
Limited 90 Day Warranty
Harbor Freight Tools Co. makes every effort to assure that its products meet high quality and durability standards, and warrants to the original purchaser that this product is free from defects in materials and workmanship for the period of 90 days from the date of purchase. This warranty does not apply to damage due directly or indirectly, to misuse, abuse, negligence or accidents, repairs or alterations outside our facilities, criminal activity, improper installation, normal wear and tear, or to lack of maintenance. We shall in no event be liable for death, injuries to persons or property, or for incidental, contingent, special or consequential damages arising from the use of our product. Some states do not allow the exclusion or limitation of incidental or consequential damages, so the above limitation of exclusion may not apply to you. THIS WARRANTY IS EXPRESSLY IN LIEU OF ALL OTHER WARRANTIES, EXPRESS OR IMPLIED, INCLUDING THE WARRANTIES OF MERCHANTABILITY AND FITNESS.
To take advantage of this warranty, the product or part must be returned to us with transportation charges prepaid. Proof of purchase date and an explanation of the complaint must accompany the merchandise. If our inspection verifies the defect, we will either repair or replace the product at our election or we may elect to refund the purchase price if we cannot readily and quickly provide you with a replacement. We will return repaired products at our expense, but if we determine there is no defect, or that the defect resulted from causes not within the scope of our warranty, then you must bear the cost of returning the product.
This warranty gives you specific legal rights and you may also have other rights which vary from state to state.
26677 Agoura Road • Calabasas, CA 91302 • 1-888-866-5797























