
20 Ton Hydraulic Shop Press
User Manual

85138 20 Ton Hydraulic Shop Press
Please read and understand all instructions before use. Retain this manual for future reference.
This 20-ton hydraulic shop press, with a pump that may be both hand and foot-spring operated, features an H-frame design with a large working range and bed width. Ideal for light industrial and do-it-yourself home use, this press can be used for straightening, stamping, bending and pressing jobs, including removing or installing bearings, bushings, gears, ball joints, pulleys, U-joints and more.
SPECIFICATIONS
| Press Capacity | 20 tons (40,000 lbs / 18,181 kg) |
| Press Type | Hydraulic |
| Stroke | 5-7/8 in. (150 mm) |
| Bed Width | 19-5/8 in. (500 mm) |
| Working Range | 2-1/2 to 40-1/2 in. (65 to 1028 mm) |
| Overall Height | 69 in. (1753 mm) |
The safety instructions provided in this manual are not intended to cover all possible conditions and practices that may occur when using, maintaining and cleaning the product.
Always use common sense and pay particular attention to all DANGER, WARNING, CAUTION, and NOTICE statements of this manual.
WARNING SYMBOLS AND DEFINITIONS
| This is the safety alert symbol. It is used to alert you to potential personal injury hazards. Obey all safety messages that follow this symbol to avoid possible injury or death. | |
| Indicates a hazardous situation which, if not avoided, will result in death or serious injury. | |
| Indicates a hazardous situation which, if not avoided, could result in death or serious injury. | |
| Indicates a hazardous situation which, if not avoided, could result in minor or moderate injury. | |
| NOTICE CAUTION | Addresses practices not related to personal injury. |
| Symbol | Property or Statement |
| Read and understand this instruction manual prior to using this product. | |
| Wear ANSI approved (or applicable national standard) goggles or properly fitted protective glasses with top and side protection. | |
| Use safety footwear. | |
| Shear / Crush hazard. | |
| Injection Hazard. | |
| Do not operate without guards (if applicable). |
This instruction manual is intended for your benefit. Please read and follow the safety, installation, maintenance and troubleshooting steps described herein to ensure your safety and satisfaction. The contents of this instruction manual are based upon the latest product information available at the time of publication. The manufacturer reserves the right to make product changes at any time without notice.
UNPACKING & INSPECTION
When unpacking, please inspect the product carefully to ensure the product is intact and undamaged. If any parts are missing or broken, please call 1-800-386-0191 as soon as possible.
WARNING
Do not operate this product if damaged during shipment, handling, or after misuse.
Do not operate the product until the parts have been replaced or the fault rectified. Failure to do so may result in serious personal injury or property damage.
Remove the parts and accessories from the packaging and inspect for damage. Make sure that all items in the contents are included. See the Parts List at the end of this manual for package contents.
SAFETY RULES
WARNING
READ ALL SAFETY WARNINGS AND ALL INSTRUCTIONS. Failure to follow the warnings and instructions may result in electric shock, serious injury and/or DEATH. SAVE ALL WARNINGS AND INSTRUCTIONS FOR FUTURE REFERENCE.
WORK AREA SAFETY
- Operate in a safe work environment. Keep your work area clean, well-lit and free of distractions. Place lights so you are not working in a shadow.
- Keep anyone not wearing appropriate safety equipment away from the work area.
- Store properly and in a safe and dry location to prevent rust or damage. Keep out of reach of children.
PERSONAL SAFETY
- Stay alert, watch what you are doing and use common sense when operating this product. Do not use this product while you are tired or under the influence of drugs, alcohol or medication. A moment of inattention while operating may result in serious personal injury.
- Dress properly. Do not wear loose clothing or jewelry. Keep your hair, clothing and gloves away from moving parts. Loose clothes, jewelry or long hair can be caught in moving parts.
- Do not overreach when operating. Proper footing and balance enables better control in unexpected situations.
- Use Personal Protective Equipment. Always wear eye protection. Protective equipment such as dust mask, non-skid safety shoes, hard hat, and hearing protection will reduce personal injuries.
- Do not let familiarity gained from frequent use to allow you to become complacent and ignore safety principles. A careless action can cause severe injury within a fraction of a second.
SPECIFIC SAFETY PRECAUTIONS
- Use the correct tool for the job. This tool was designed for a specific function. Do not modify or alter this tool or use it for an unintended purpose.
- The maximum load is 20 tons. Do not exceed this rated capacity. Never apply excessive force to a workpiece and always use the pressure gauge to accurately determine the applied load.
- Inspect the press before each use. Do not use if any component is bent, broken, cracked, leaking or showing other damage. Do not use the press after a shock load until a qualified technician has examined the press.
- Check to ensure that all bolts and nuts are tight.
- Use this shop press only on a surface that is stable, level and not slippery. The surface must be capable of sustaining the weight of the shop press and the load.
- Ensure that the workpiece is center-loaded and secure. An unbalanced load may slip off the heel blocks or bed frame.
- Always keep hands and feet away from the bed frame area.
- Do not use the shop press to compress a spring or any other item that could disengage and cause a potential hazard. Never stand directly in front of a loaded press and never leave a loaded press unattended.
- Do not allow an untrained person to operate the press.
- Do not use brake fluid or other improper fluid in place of hydraulic oil. Avoid mixing different types of oil when adding hydraulic oil. Only good quality hydraulic jack oil can be used.
- Do not expose the press to rain, snow or inclement weather.
- Bolt the press to the floor if it is to be used on bulky or unstable items.
HYDRAULIC SAFETY
Hydraulic fluid under pressure can penetrate skin and cause serious injury or death. In case of accidental skin injection seek immediate medical treatment. |
Seek immediate, professional medical treatment if hydraulic fluid penetrates your skin. It may feel like a prickling or sting. Do not wait for the appearance of symptoms. A toxic reaction will occur from the exposure, and delay in treatment can lead to amputation or death.
Inform the medical staff that you have a hydraulic fluid penetration injury as soon as you arrive at the medical facility. The symptoms are tissue swelling near the wound that can burst through the skin. This follows with throbbing and numbness in the tissue. Bring the Material Safety Data Sheet for the hydraulic fluid with you to the medical facility.
To avoid accidental skin injection:
- Do not touch or handle hydraulic hoses or components while under pressure. A pinpoint hole may inject hydraulic fluid into your flesh.
- Hydraulic oil under pressure is hot and can burn.
- Hydraulic components require regular inspection. Release all pressure from the system before inspection.
Replace damaged hydraulic parts only with identicamanufacturer’s components. - Do not attempt makeshift repairs to a hydraulic system. Such repairs can fail suddenly and create a hazardous condition.
- Never exceed the hydraulic system’s load capacity (see Specifications).
- Do not adjust the hydraulic system’s safety relief setting.
- Hydraulic fluid escaping under pressure has sufficient force to penetrate your clothing and skin.
- Always check for leaks wearing a face shield and safety goggles.
- Wear rubberized gloves.
- Wear protective clothing.
- Do not use your hands to detect a hydraulic fluid leak. Use a large piece of wood, cardboard or paper and watch for discoloration.
- A damaged or disconnected hydraulic hose under pressure may whip around and inflict personal injury or damage the work area. Secure the hose to a fixed or permanent structure with clamps or cable ties.
- Change your clothing immediately if sprayed with hydraulic fluid. Store clothing or rags contaminated with hydraulic fluid in an approved metal safety can with a spring closing lid and venting designed to contain a fire.
- Do not expose the fluid to an ignition source. Hydraulic fluid has a combustible flash point of approximately 200°F (93 °C). Consult the Material Safety Datasheet (MSDS) for your hydraulic oil to determine the actual flashpoint.
INSTALLATION AND ASSEMBLY
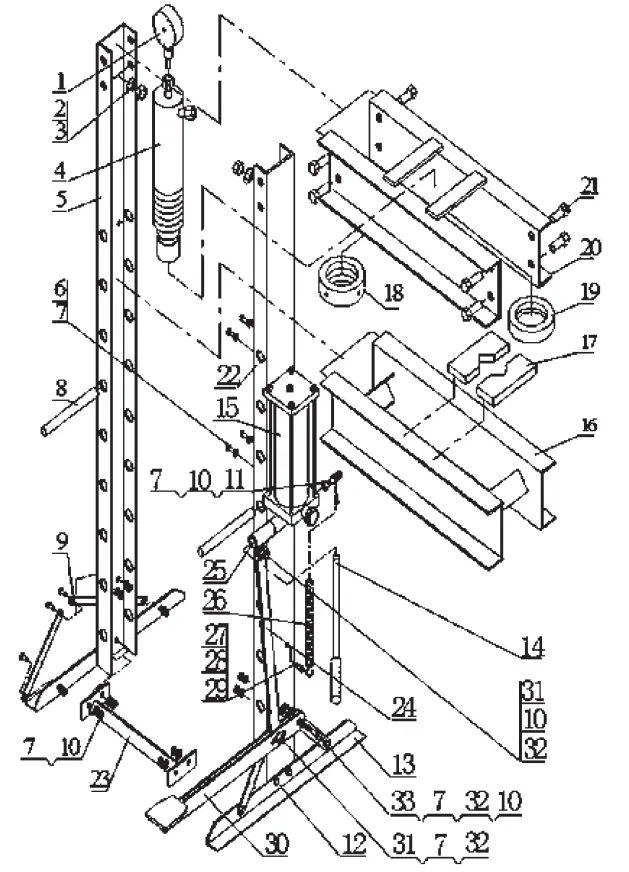
Numbered references in parenthesis (#1) refer to the included Parts List at the end of this instruction manual.
- Position the Bottom Crossbeam (#23) so the bolt holes align with the lower bolt holes in the Left Post (#5). Insert a Bolt (#12) through each bolt hole from the outside.
- Position a Base section (#13) over the protruding bolts. Secure in place with a Washer (#7) and Nut (# 10) on each bolt.
- Align each Support (#9) bolt hole with the holes on the Left Post, then on the outer bolt holes of the Base section. Place a Bolt (#12) through each bolt hole from the outside, then secure the Supports with a Washer (#7) and Nut (#10) on each bolt.
- Follow steps 1 to 3 to attach the base section and supports to the Right Post (#22).
- Place the Upper Crossbeam (#20) to align the top holes in the beam with the top holes in the Left Post. Insert Bolts (#21) so it protrudes inside the post. Repeat for the Right Post. Secure the Upper Crossbeam in place with a Washer (#3) and Nut (#2) on each bolt.
- Raise the shop press frame upright.
- Thread the Pressure Gauge (#1) into the pressure gauge connection nut at the top of the Cylinder (#4).
- Thread the Upper Round Nut (#19) onto the Cylinder (#4) until it reaches the top threads.
- Slide the Cylinder through the opening in the under plate on the Upper Crossbeam (#20) until the Upper Round Nut (#19) is resting on top of the plate. Position the Cylinder so the Pressure Gauge is facing the front.
- Thread the Lower Round Nut (#18) onto the Cylinder from underneath and tighten to secure the cylinder to the under plate on the Upper Crossbeam.
- Push each Worktable Pin (#8) through the matching set of holes on the left and right side of the frame. The Worktable (#16) will rest on these so ensure they are level with each other.
- Position the Worktable so the beams are outside of the leg assemblies, then lower the Worktable so it is resting on the Worktable Pins.
- Secure the Pump (#15) with the Bolts (#6) and Washers (#7) by inserting through the post and into the screw holes in the pump mounting frame.
- Connect the hydraulic hose from the pump (#15) to the fitting on the side of the Cylinder (#4)
- Insert the Bolt (#33) into the bolt hole opening on the Right Post above the Supports (#9). Secure the Bolt to the Right Post with the Washer (#7), and Nut (#10) on the inside of the post.
- Slide the Foot Pedal’s (#30) bolt hole onto the bolt. Ensure the pedal is face-up. Secure with a nut (#32).
- Secure the Pin (#29) to the Right Post with a Washer (#28 and Nut (#29), then place the Spring (#26) onto the pin.
- Attach the Spring to the back end of the Connector Base (#25) using a Bolt (#11), Washer (#7), and Nut (#10)
- Attach one end of the Foot Pedal Connector (#24) to the Foot Pedal using a Bolt (#31), Washer (#7) and Nut (#32).
- Attach the other end of the Foot Pedal Connector to the Connector Base (#25) using a Bolt (#31), Washer (#7) and Nut (#10).
- The Pump Handle (#14) may be used as an alternative to the Foot Pedal. Insert the Pump Handle into the Connector Base when needed.
- Check that all bolts and nuts are completely tightened.
- Place the Heel Blocks (#17) onto the Worktable.
PERMANENTLY ANCHORING THE PRESS
The shop press can be permanently anchored to a concrete floor.
Select an area that is clean and flat, and which will have sufficient space to allow a user to operate the press. Leave space on both sides of the press and be sure to consider the area needed for loading and unloading of workpieces.
Once an area is selected, drill two 13/16 in. (20 mm) holes spaced 3 in. (75 mm) from the ends and on the centerline of each Base (#13), four holes in total.
Measure the distance between all of the holes and mark the hole locations onto the concrete floor.
Measure and compare again to ensure accuracy, then drill the holes.
Use 3/4 in. (19 mm) concrete anchors (not included) to permanently affix the shop press to the floor.
OPERATION
BEFORE FIRST USE
Before first use, check for proper hydraulic oil level in the system. Then thoroughly test the hydraulic cylinder for proper operation prior to actual use.
- Purge air from the hydraulic system. See Bleeding the Hydraulic System in the Maintenance section.
- Test the shop press without a workpiece to ensure all parts work smoothly.
- Test again with a load. Gradually increase pressure and watch that the workload does not shift and there is no distortion or deflection of the cylinder, leakage from the pump assembly or shifting of the frame.
- Consult a qualified technician should the pump need to be examined or repaired.
OPERATING THE SHOP PRESS
- Lift or lower the bed frame until it is in position. Insert a Worktable Pin (#8) into the left and right posts beneath the bed frame. Lower the bed frame so it rests on the bed frame pins.
- Place the Heel Blocks (#17) onto the Worktable (#16), then insert a workpiece on the Heel Blocks.
- Close the release valve on the pump by turning it clockwise.
- Pump the pedal or handle until the cylinder nears the workpiece.
- Align the workpiece and cylinder to ensure proper center-loading.
- Pump the pedal or handle to apply load onto the workpiece.
- Once the work is completed, stop pumping the pedal or handle. Slowly, and carefully remove the load from the workpiece by turning the release valve counterclockwise in small increments.
- Once the cylinder has fully retracted, remove the workpiece from the bed frame.
WARNING
Ensure all equipment operators are properly trained and understand how to safely and correctly operate the press prior to use. Industrial applications must follow OSHA requirements.
CARE AND MAINTENANCE
- Maintain the tool with care. A tool in good condition is efficient, easier to control and will have fewer problems.
- Inspect the tool components periodically. Repair or replace damaged or worn components. Use only identical replacement parts when servicing.
- Follow instructions for lubricating and changing accessories.
- Only use accessories intended for use with this tool.
- Keep the tool handles clean, dry and free from oil/grease at all times.
- Maintain the tool’s labels and name plates. These carry important information.
WARNING
Only qualified service personnel should repair the tool. An improperly repaired tool may present a hazard to the user and/or others.
HYDRAULIC CYLINDER MAINTENANCE
Monthly maintenance is recommended for the hydraulic cylinder. Restrictions caused by dirt, rust, etc. may cause either slow movement or extremely rapid jerks, and result in damage of the internal components. The following steps are designed to keep the pump maintained and operational.
- Lubricate the cylinder and pumping mechanism with light oil.
- Visually inspect for cracked welds, bent, loose, missing parts or hydraulic oil leaks.
- Inspect the hydraulic cylinder immediately if it has been subjected to an abnormal load or shock load.
- Remove any hydraulic pump from service that is damaged, worn down or operates abnormally, until repaired or replaced by an authorized service technician.
- Check and maintain the cylinder oil level.
- Always store the press with the hydraulic cylinder in the fully retracted position. This will help protect critical areas from corrosion.
- Do not use brake or transmission fluids or regular motor oil as they can damage the seals. Always purchase and use products labeled as hydraulic oil.
BLEEDING THE HYDRAULIC SYSTEM
Bleed excess air from the hydraulic system as follows:
- Open the release valve by turning it counterclockwise.
- Remove the oil filler screw and fill the pump with hydraulic fluid.
- Wait 5 minutes for trapped air to rise to the surface.
- Pump the pedal or handle for several full strokes toeliminate any air in the system.
- Check the oil filler hole and if necessary, top off with more hydraulic oil.
- Re-install the oil filler screw and close the release valve by turning counterclockwise.
- Test the ram several times for proper operation before putting it into use. Do not use the cylinder if it still does not appear to be working properly.
Have a qualified service technician service or repair the hydraulic system if needed.
CLEANING
Clean the outside of the press with a dry, clean and soft cloth.
LUBRICATION
Inspect and lubricate the tool when required. Only use a light oil. Periodically lubricate all moving parts. Do not allow oil onto the heel blocks or frame of the shop press
STORAGE
When not in use, store the press in a dry location with ram and piston fully retracted. Apply a coat of light oil to exposed metal surfaces.
DISPOSAL
Recycle a tool damaged beyond repair at the appropriate facility. Contact your local municipality for a list of disposal facilities or by-laws for electronic devices, batteries, oil or other toxic liquids.
NOTICE! Do not pollute the environment by allowing uncontrolled discharge of waste oil.
DISPOSAL OF HYDRAULIC FLUID
Do not drain hydraulic oil into the sewer system or dispos in an uncontrolled location. Hydraulic fluid may take up to a year to breakdown in the environment and the ingredients may still be toxic. Contact your local municipality for proper disposal instructions or locations.
TROUBLESHOOTING
Contact your distributor for a solution if the tool does not function properly or parts are missing. If unable to do so, have a qualified technician service the tool.
| Problem(s) | Possible Cause(s) | Suggested Solution(s) |
| No oil flow | 1. Cylinder does not move. 2. Air lock in the hydraulic lines. 3. No pressure reading on gauge. | 1. Check Oil level. Fill as required. 2. Loosen fitting to bleed line. 3. Check pressure gauge. Replace if defective. 4. Check control valve. Clean, repair, or replace if needed. 5. Check cylinder seals. Oil bypassing in cylinder. Replace seals if needed. |
| Oil on press | 1. Oil leaking from cylinder. 2. Oil leaking from loose fitting or hydraulic line. | 1. Replace seals if necessary. 2. Tighten or add sealant as required. 3. Defective fitting. Replace if needed. |
| Cylinder does not move | 1. Hydraulic problem. 2. Press overloaded. 3. Cylinder jammed or binding. 4. Press efficiency has dropped. | 1. Check hydraulic system. 2. Press capacity exceeded. Use a larger press. 3. Check the cylinder and repair or replace if necessary. 4. Cylinder has been bent. Replace if necessary. 5. Purge air from hydraulic system as described in Bleeding the Hydraulic System. |
PARTS DIAGRAM

PARTS LIST
Refer to the parts diagram to view corresponding item numbers.
| # | DESCRIPTION | QTY |
| 1 | Pressure gauge | 1 |
| 2 | Nut M16 | 8 |
| 3 | Washer M16 | 8 |
| 4 | Cylinder | 1 |
| 5 | Left Post | 1 |
| 6 | Bolt M10 x 15 | 4 |
| 7 | Washer M10 | 16 |
| 8 | Worktable Pin | 2 |
| 9 | Support | 4 |
| 10 | Nut M10 | 13 |
| 11 | Bolt M10 x 30 | 18 |
| 12 | Bolt M10 x 25 | 11 |
| 13 | Base | 2 |
| 14 | Handle | 1 |
| 15 | Pump | 1 |
| 16 | Worktable | 1 |
| 17 | Arbor plate | 2 |
| 18 | Lower Round Nut | 1 |
| 19 | Upper Round Nut | 1 |
| 20 | Upper crossbeam | 1 |
| 21 | Bolt M16 x 40 | 8 |
| 22 | Right Post | 1 |
| 23 | Bottom crossbeam | 1 |
| 24 | Foot Pedal Connector | 1 |
| 25 | Connecter base | 1 |
| 26 | Spring | 1 |
| 27 | Nut M8 | 1 |
| 28 | Washer M8 | 1 |
| 29 | Pin M8 | 1 |
| 30 | Foot pedal | 1 |
| 31 | Bolt M10 x 30 | 2 |
| 32 | Nut M10 | 3 |
| 33 | Bolt M10 x 60 | 1 |
NOTES…….
90 DAY LIMITED WARRANTY
Star Asia-USA, LLC (hereinafter “seller”) warrants to the original purchaser only, that this product will be free from defects in material or workmanship for a period of 90 days from date of purchase for home domestic use.
Warranty Performance
Warranty coverage is conditioned upon purchaser furnishing seller or its authorized service center with adequate written proof of the original purchase date. Products returned, freight prepaid and insured, to our factory or to an Authorized Service Center will be inspected and repaired or replaced, at seller’s option, free of charge if found to be defective and subject to warranty. Defective parts not subject to normal wear and tear will be repaired or replaced, at our option during the above stated warranty periods. In any event, reimbursement is limited to the purchase price paid. Other than the postage and insurance requirement, no charge will be made for repairs or replacements covered by this warranty. Under no circumstances shall the manufacturer bear any responsibility for loss of the unit, loss of time or rental, inconvenience, commercial loss or consequential damages, There are no warranties which extend beyond the description of the face hereof.
Exclusions
This warranty does not cover parts damaged due to normal wear, abnormal conditions, misapplication, misuse, abuse, accidents, operation at other than recommended pressures or temperatures, improper storage of freight damage. Parts damaged or worn by operation in dusty environments are not warranted. Failure to follow recommended operating and maintenance procedures also voids warranty. Additional items not covered under warranty: product failure caused by rain, excessive humidity, corrosive environments or other contaminants; cosmetic defects that do not interfere with product’s functionality. This warranty shall not apply when: the product has been used for commercial or rental purposes; defects in materials or workmanship or damages result from repairs or alterations which have been made or attempted by others or the unauthorized use of nonconforming parts; this damage is due to abuse, improper maintenance, neglect or accident; or the damage is due to use of the product after partial failure or use with improper accessories. Warranty does not apply to accessory items. Seller will not be liable for: labor charges, loss or damage resulting from improper operation, maintenance or repairs made by persons other than a Star Asia-USA, LLC Authorized Service Center. The use of other than genuine Star Asia-USA, LLC repair parts will void warranty.
Warranty Disclaimers
NO WARRANTY, ORAL OR WRITTEN, OTHER THAN THE ABOVE WARRANTY IS MADE WITH REGARD TO THIS PRODUCT, ANY IMPLIED WARRANTIES OF SELLER REGARDING THIS PRODUCT INCLUDING BUT NOT LIMITED TO, THE IMPLIED WARRANTIES OF MERCHANTABILITY OR FITNESS FOR A PARTICULAR PURPOSE, ARE EXCLUDED. BUYER’S OR USER’S REMEDIES ARE SOLELY AND EXCLUSIVELY AS STATED ABOVE. STAR ASIA-USA, LLC SHALL IN NO EVENT BE LIABLE FOR INCIDENTAL, CONSEQUENTIAL, INDIRECT, OR SPECIAL DAMAGES. IN NO EVENT, WHETHER AS A RESULT OF A BREACH OF CONTRACT, WARRANTY, TORT (INCLUDING NEGLIGENCE) OR OTHERWISE, SHALL SELLER’S LIABILITY EXCEED THE PRICE OF THE PRODUCT WHICH HAS GIVEN RISE TO THE CLAIM OR LIABILITY. ANY LIABILITY CONNECTED WITH THE USE OF THIS PRODUCT SHALL TERMINATE UPON THE EXPIRATION OF THE WARRANTY PERIODS SPECIFIED ABOVE.
Limitations on Warranty Disclaimers
Any implied warranties shall be limited in duration to 90 days from the date of purchase. In some states of the U.S.A. and in some provinces of Canada there is no limitation for how long an implied warranty is valid, so the aforementioned limitation may not apply to you. In no event shall a seller be liable for any incidental or consequential damages (including but not limited to liability for loss of profits) arising from the sale or use of this product. In some states of the U.S.A. and in some provinces of Canada the exclusion or limitation of incidental or consequential damages is not allowed, so that aforementioned limitation or exclusion may not apply to you. This Limited warranty gives you specific legal rights, and you may also have other rights which vary from state to state in the U.S.A., Canada and the Commonwealth of Puerto Rico. For warranty coverage within other countries, contact your local star Asia-USA, LLC dealer or importer.
Distributed by Star Asia-USA, LLC
P.O. Box 58399, Renton, WA 98058
Consumer Service: 800-386-0191
e-mail: [email protected]
©2022 Star Asia-USA, LLC


















