XPOtool 50795 Hydraulic Gearbox Jack

Read and follow the operating instructions and safety information before using for the first time. Technical changes reserved! Due to further developments, illustrations, functioning steps, and technical data can differ insignificantly. Updating the documentation If you have suggestions for improvement or have found any irregularities, please contact us.
The information contained in this document may alter at any time without previous notice. It is prohibited to copy or spread any parts of this document in any way without prior written allowance. All rights re-served. The WilTec Wildanger Technik GmbH cannot be held accountable for any possible mistakes in this operating manual, nor in the diagrams and figures shown. Even though, the WilTec Wildanger Technik GmbH has undergone biggest possible efforts to ensure that the operating manual is complete, faultless, and up to date, mistakes cannot be entirely avoided. If you should find a mistake or wish to make a suggestion for improvement, we look forward to hearing from you.
Send an e-mail to: [email protected]
or use our contact form: https://www.wiltec.de/contacts/
The most recent version of this manual in various languages can be found in our online shop via: https://www.wiltec.de/docsearch Our postal address is: WilTec Wildanger Technik GmbH To return orders for exchange, repair, or other purposes, please use the following address. Attention! To allow for a smooth execution of your complaint or return, it is important to contact our customer service team before returning the goods. Returns Department WilTec Wildanger Technik GmbH Königsbenden 28 52249 Eschweiler
- E-mail: [email protected]
- Tel: +49 2403 55592–0
- Fax: +49 2403 55592–15
Introduction
Thank you for purchasing this quality product. To minimise the risk of injury we urge that our clients take some basic safety precautions when using this device. Please read the operation instructions carefully and make sure you have understood its content. Keep these operation instructions safe.
Description
This transmission jack with a load capacity of 500 kg and max. lifting height of 195 cm is ideal for performing maintenance, repairs or assembly work on gearboxes and undercarriages. It can further be used when replacing bearings under lifting platforms. The transmission jack can be conveniently placed beneath the vehicle due to it being equipped with castors, can then be pumped to the required height via the easy to operate foot pedal and afterward be lowered without much effort by using the infinitely variable hand wheel located on its side.
| Model | Rated load (㎏) | Min. retainer height (㎜) | Max. retainer height (㎜) | Distance saddle arms (㎜) | Weight (㎏) | Size (㎝) |
| 50795 | 500 | 1100 | 1950 | 325 | 30 | 82×82×113 |
Safety precautions and warnings
Please make sure to carefully read the information and safety instructions found within this operation manual and adhere to them to ensure an ideal mode of operation while at the same time minimising the risk of accidents. The instructions found in this manual thereby do not replace rules and regulations applied at your workplace and instead complement them. Keep this manual and make sure it is in reach when working with this product.
- Familiarise yourself with all the information, instructions and warnings found in this manual as well as the respective manuals of other tools being used.
- Be knowledgeable about how to properly handle and apply the device.
- The transmission jack may only be used for the installation and removal of gearboxes and associated parts (gearshifts, differentials etc.)
- Make sure that all connection supports have been connected properly and securely.
- This device can only be used by children or individuals with reduced physical, sensory, or mental capabilities, or lack of experience and knowledge if they have received instructions concerning the use of the appliance from and are being supervised by a person familiar with the product and responsible for their safety.
- Children must be always supervised to ensure that they do not play with the device.
- Ensure that the process of lifting is not obstructed or hindered by other objects.
- Always make sure that the load is properly and securely placed upon the centre of the retainer.
- When loaded, the transmission jack may only be rolled across even flooring in a slow manner and while its retainer has completely been lowered.
- Ensure that the load cannot slip off the transmission jack.
- After moving the loaded transmission jack for several centimeters, stop moving to check the balance of its load before continuing.
- Avoid the unsteadiness of the load.
- Keep bystanders out of the path of the transmission jack.
- Make sure to warn bystanders within the working area of lifted loads.
- Never exceed the load capacity of the transmission jack.
- Never use transmission jacks if they are damaged or malfunctioning in any way.
- Never use retainers showing signs of damage or wear.
- Do not lift loads if the lifting process could be obstructed by nearby objects.
- Always make sure to stay focused and attentive when handling loads.
- Do not abuse the transmission jack as ladder and do not lift individuals with it.
- Do not lift objects over persons’ heads.
- Incorrectly secured or placed loads might cause damage to the device as well as its surroundings and even cause severe injuries or death.
- Always keep an eye on lifted loads.
- Ensure that the transmission jack does not bump into objects when being moved around.
- Do not attempt to modify or repair the retainer of the transmission jack.
- Do not use welding devices in the vicinity of the transmission jack.
- Always make sure that your work place is well-lit and clean since cluttered and dark work areas increase the risk of accidents.
- Always make sure to wear non-skid safety shoes.
- Do not wear loose clothing, scarves, necklaces and other accessories or unconfined long hair when working with the transmission jack as they might get stuck in the device and cause severe injuries.
- Do not operate the transmission jack when you are tired or under the influence of alcohol, drugs, or medicine.
- Working while standing for a long time might cause dizziness. Ensure to regularly take breaks and drink enough.
- Do not abuse the transmission jack as car jack.
- Only use the transmission jack on sturdy and even grounds for it to be capable of utilising its maximum capacity.
- Before working on a vehicle, ensure that the vehicle is properly secured and has been placed accordingly.
- Never loosen pressurised screws or bolts.
- Make sure the load is placed in the centre of the retainer.
- When refilling hydraulic oil, make sure that the retainer has been completely lowered. Only use high-quality hydraulic oil and never use brake fluids, alcohol, glycerine, detergents, engine oil, water, polluted oil, or other liquids.
- The hydraulic cylinder is exposed to constant pressure and must not be opened by force.
Control/inspection
- Before operating the transmission jack, always visually check it for signs of damage or wear to timely notice potentially loose or missing parts. Further make sure to regularly check the oil level. Before refuelling oil, bring the retainer of the device into its lowest position. Then remove the cover lid; the oil-level must reach to the opening for the device to function properly.
- If having been exposed to stronger impact forces or excess load, the transmission jack needs to be checked for its integrity before it is used again. This examination should only be performed by qualified personnel. It is further advised to have an inspection performed on an annual basis. Defect parts need to be replaced immediately and the transmission jack must not be used before its integrity has been restored. Therefore, regularly check the device for signs of cracks caused by wear and corrosion. In case of corrosion, clean the affected area with an oily cloth.
- In case of the transmission jack having to be scrapped, make sure to drain the oil beforehand and to dispose of it in a proper and professional manner.
Assembly instructions
- The transmission jack is delivered disassembled and must be assembled before using it for the first time. Check the supplied parts before assembling. The jack must not show any transport damage, no part must be missing.
- Attach the four wheels to the two feet. Use the supplied materials for this purpose (Fig. 1). Then attach the two feet to the underside of the base with the Allen bolts and washers without tight-ening the screws. Before tightening the screws, check that the piston rod is completely vertical; this is important so that the gearbox jack is secure and all wheels are completely on the ground.
- Attach the retainer to the end of the piston rod, loosen the screw (Fig. 2, oil filler opening) to allow the air to escape and raise the gearbox jack without any load. Pressing the foot pedal while the screw is tightened will damage the hydraulic pump. The transmission jack can then no longer be used. After lowering the gearbox jack, it is now ready for use.
- ATTENTION: When using the gearbox jack, always observe the specified load capacity.
- The gearbox jack is only designed for the transport of loads over short distances and may only be moved when the support is in the lowest position, i.e., with the piston rod fully retracted (Fig. 5). Make sure that the load being carried is secured and cannot fall to the ground.
- Do not overload the device. Overloading can seriously damage the gearbox jack and also lead to property damage and personal injury.
- Special positioners must be used to move other components (e.g., the rear axles, etc.).
- Before carrying out repairs, it must be ensured that the vehicle is securely supported and cannot tip over from the lifting platform when the gearbox is removed (change of the centre of gravity of the vehicle!).
ATTENTION!
- It must be ensured that the load is centered on the gearbox jack. Off-center loads can cause the gearbox jack to tip over or be damaged, and objects to be damaged and people to be injured.
- The transmission jack is designed for use on a level floor that can withstand the lifted load. Setting up the gear jack on an uneven and/or
the flexible floor can cause the lifted load to vibrate heavily and fall (Fig. 5).
Failure to follow these instructions could result in the lifted load falling and damage to the transmission jack, property damage and personal injury.
Commissioning
- Lifting: Press the pedal of the cylinder pump with your foot.
- Lowering: Turn the side handwheel (Fig. 4) counter-clockwise to re-lower the gearbox jack.

Quick guide
|
| № | Name |
| 1 | Drain screw | |
| 2 | Hand wheel | |
| 3 | Pedal | |
| 4 | Retainer | |
| Loosen the drain screw (1) before using the device.
Use the pedal (3) to lift the hydraulic piston rod until the desired height has been reached.
Turn the hand wheel (2) counter-clock- wise and hold it in that position to lower the hydraulic piston rod. Let go of the hand wheel once the desired height has been reached.
Always make sure that loads are properly positioned in the centre of the retainer (4). | ||
- Loosen the drain screw (1) before using the device.
- Use the pedal (3) to lift the hydraulic piston rod until the desired height has been reached.
- Turn the hand wheel (2) counter-clock-wise and hold it in that position to lower the hydraulic piston rod. Let go of the hand wheel once the desired height has been reached.
- Always make sure that loads are properly positioned in the centre of the retainer (4).
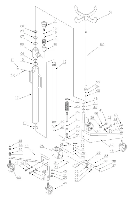
Exploded view

PARTS LIST
| № | Name | Qty. | № | Name | Qty. |
| 1 | Retainer | 1 | 24 | Piston | 1 |
| 2 | Hydraulic piston rod | 1 | 25 | O-ring | 1 |
| 3 | Hydraulic piston head | 1 | 26 | Pump unit | 1 |
| 4 | Spring washer | 1 | 27 | Washer | 1 |
| 5 | Hexagon socket screw | 1 | 28 | Pump body | 1 |
| 6 | Ring cover | 1 | 29 | Sphere | 1 |
| 7 | O-ring | 2 | 30 | Spring | 1 |
| 8 | Sleeve | 1 | 31 | Nut | 1 |
| 9 | O-ring | 1 | 32 | Washer | 1 |
| 10 | O-ring | 1 | 33 | Screw | 1 |
| 11 | Cover | 1 | 34 | Sleeve | 1 |
| 12 | O-ring | 1 | 35 | Pedal | 1 |
| 13 | Main frame | 1 | 36 | Pedal retainer | 1 |
| 14 | Hand wheel | 1 | 37 | Stud | 3 |
| 15 | O-ring | 1 | 38 | Splint pin | 3 |
| 16 | Sphere | 1 | 39 | Washer | 4 |
| 17 | Torsion spring | 1 | 40 | Spring washer | 4 |
| 18 | Sleeve | 1 | 41 | Hexagon socket screw | 4 |
| 19 | Cylinder | 1 | 42 | Stand | 2 |
| 20 | Cylinder bottom | 1 | 43 | Washer | 4 |
| 21 | Sphere | 3 | 44 | Spring washer | 4 |
| 22 | Washer | 1 | 45 | Acorn nut | 4 |
| 23 | Spring | 1 | 46 | Castor | 4 |
Important notice:
The reprint or reproduction, even of excerpts, and any commercial use, even in part, of this instruction manual require the written permission of WilTec Wildanger Technik GmbH.
https://www.XPOtool.com
The Tool Experts






















