
ELECTRIC HYDRAULIC JACK
USER MANUAL
ZSY01-2 Electric Hydraulic Jack
We continue to be committed to provide you tools with competitive price. “Save Half”, “Half Price” or any other similar expressions used by us only represents an estimate of savings you might benefit from buying certain tools with us compared to the major top brands and doses not necessarily mean to cover all categories of tools offered by us. You are kindly reminded to verify carefully when you are placing an order with us if you are actually saving half in comparison with the top major brands.
ELECTRIC HYDRAULIC JACK
USER MANUAL
MODEL:ZSY01-2
NEED HELP? CONTACT US!
Have product questions? Need technical support? Please feel free to contact us:
[email protected]
This is the original instruction, please read all manual instructions carefully before operating. VEVOR reserves clear interpretation of our user manual. The appearance of the product shall be subject to the product you received. Please forgive us that we won’t inform you again if there is any technology or software updates on our product.
Safety Warning
- Please read this manual carefully before using.
- The material of the cover is plastic, which is easy to break, please handle it with care when using. Then if carrying it, please with the handle, NOT lifting the pressure rod.
- Do not overhaul the machine to avoid destroying the machine and lose the right of Guarantee.
- Do not work for long time, when not using, please cut off the power.
- Avoid the machine dropping into the water and using in the bad condition.
- Check the power to match well with 12V Car Cigarette Lighter before using.
- Take notice of the smooth floor and loading capacity when using, also pay attention to finding the exact loading position of the car before the operation of lifting.
- Do not overload when using the machine, make sure to keep upright with the lifting car at the same time, never operate it aslant.
- Do not pull the power cable casually when using, avoid the cable broken or short circuit.
- Make sure the car park in one side and close the engine before using.
- In the process of using the machine, ensure the operator stay with it all time, in case the operator have to leave for a short while, please shut off the machine first.
- The machine adopts the power of precise hydraulic oil, please keep the adequate ventilation, avoid doing it in the environment of high temperature and rather low temperature, while the suitable temperature should be from -15T to 50T.
- It can only be used for car maintenance, not for other purposes.
CAUTION: The maximum loading car weight is 5T model !
Advantages
The machine is with the fashion and beautiful design, and adopts the advanced electric machinery technology. It is low noise, quick speeding, stable lifting perfomance and so on.
Considering the safety, the machine designs self-locking power structure and overloading protection device specially. That is to say: when the power has been disconnected, the lifted jack will not fall, only re-connecting the power, the jack will go on working, or using the safety knob to fall the car, which will protect the operator’ s personal safety effectively.
In order to strengthen the practicability, the machine is added the function of Tire Inflator Pump. So the machine combines two functions: Car Jack and Tire Inflator Pump
The machine is widely used for Family Car, Go-anywhere Vehicle, Multi-Purpose Vehicle.
Packing List
- Portable Multifunctional Electric Jack One Piece
- Instruction Manual One Piece
- Mini tool bag: The inflating needle, one of American-type Inflatable head, one of British-type Inflatable head, one of fuse for cigarette lighter, one of six-angle spanner
Introduction

Diagram One :
| NO. | NAME | FUNCTION DESCRIPTION |
| 1 | Pressure Rod | The rod is for lifting |
| 2 | Handle | If moving the jack, pls hold here |
| 3 | Baseplate | Make the loading stable |
| 4 | Rubber Foot | Shockproof and Anti-skidding |
| 5 | Line Winding Box | The box is used for collecting the lines |
Diagram Two :
| NO. | NAME | FUNCTION DESCRIPTION |
| 1 | Switches | Ph check Diagram Three |
| 2 | Tool Box | Put the tools and collect the air hose here |
| 3 | Pressure Gauge | Show the pressure |
| 4 | Safety Valve | Unlock the pressure rod in emergency |
| 5 | Protective Pad | Lift the protective pad |
| 6 | Adjusting Screw | Adjust the distance of the pressure rod and automobile chassis |


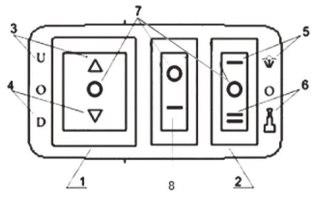
Diagram Three:
| No. | NAME | FUNCTION DESCRIPTION |
| 1 | Direction Switcb | Up/Close/Down |
| 2 | Function Switclb | Inflation/Close/Lift |
| 3 | U | Up |
| 4 | D | Down |
| 5 | Air Bag | Inflation |
| 6 | Jack | Lift |
| 7 | 0 | Close |
| 8 | — | The lamp |
Application Method
Jack Function:
- Stop the car, tension the car brake.
- Check the switch whether it is to the close position, it should be to “O” state, if no, please do it so first, then connect the power plug into the car cigarette lighter.
- Put the jack in the side of car tyre, and ensure the centre of Pressure Rod to align the loading part of automobile chassis, then rotate the adjusting screw to make it close to the automobile chassis as far as possible.
- Adjust the function switch to “Lift” , the direction switch to “Up” , then the jack will start to work, till the distance between the car tyre and the floor is about 5cm, reset the power switch, while the power is disconnected, the machine would lock automatically and wouldn’ t fall.
- After changing the tyre, adjust the direction switch to “Down” , the jack would start to fall in constant speed.
- Finish all, please collect the cables and tools in the line winding box.
Inflation Function:
- Prepare for the equipment well, pull out the air hose and choose the suitable inflatable head to connect, then turn on the power.
- Adjust the function switch to “inflation” , then it would start to inflate, please check the change of the pressure gauge.
- If finishing, please close the power first, then pull out the inflatable head to collect in the tool box. Later also pull out the plug from the cigarette lighter,then collect the cables into the tool box.
Specification
a. For Jack:
| Input Voltage | DC12V |
| Rated Power | 180W |
| Rated Current | 15A |
| Fuse | 15A |
| Length of Power Cable | 4m |
| Max Loading car weigth | 5T |
| Lifting Range | 155-450mm |
| Working Temperature | -15-50°C |
| Jack Size | 31*15.5*15cm |
| Weigth | 4.8kg |
b. For Inflator Pump:
| Input Voltage | DC12V |
| Inflating Speed | 35L/min |
| Working Current | 10A |
| Pressure | 1013AR/150PSI |
| Length of Air Hose | 600mm |
| Cylinder Diameter | 25mm |
Fault Diagnosis
- Jack couldn’ t work
a).Check whether turning on the auto power.
b). Inspect whether the function switch is adjusted to the relevant function position.
c).The pilot lamp for the cigarette lighter plug is lighted or not, if not, please re-connect the plug; if re-connecting it, still no lighting, please check whether the inside fuse of the cigarette lighter plug is destroyed.
d).Whether the plug for the power cable of jack is loosen with the jack or falling off.
The socket is no electric or loosen, or check the cable, please connect the power correctly; If the power switch is in the position of “O” , pls adjust the switch to “ |” (See Diagram Three); Check the plug of cigarette lighter, whether the fuse is destroyed, if it is destroyed, pls replace it, then try again. - Not Inflating
a). Check whether starting the inflator pump.
b). Whether the gas nozzle of air hose is rightly connected with tyre gas nozzle.
c). Inspect the air hose whether leaking air because of being destroyed in emergency. - The pressure rod couldn’ t be risen
a). Confirm whether starting the motor.
b).Whether the function switch is adjusted to the JACK function position, and also check the direction switch for “Up” / “Down” .
c). Check whether the lowest temperature is within the range of suitable temperature for this product, if not, please preheating the jack first, making the hydraulic oil thaw, then using it.
d).Not using for tong time maybe cause the oil is not smooth, please first press “Down” switch for starting one minute, then press “Up” switch. - The pressure rod couldn’ t be fallen
a). Confirm whether starting the motor.
b).Whether the function switch is adjusted to the JACK function position, and also check the direction switch for “Up” / “Bown” .
c).Not using for tong time maybe cause the oil is not smooth, please first press “Up” switch for starting five seconds , then press “Down” switch.
Remove the head of safety valve(See Diagram Two, point 4), loose the safety valve with six-angle spanner( rotate about half circle by anticlockwise), till the pressure rod falls to the prior position, then tightening it.
Package contents
| No. | Name | Quantity |
| 1 | Electric hydraulic jack | 1 |
| 2 | Safety rescue hammer | 1 |
| 3 | Power line(4m) | 1 |
| 4 | Battery clip | 1 |
| 5 | Glove | 1 |
| 6 | Fuse wire | 2 |
| 7 | Air filling nozzle | 3 |
| 8 | Six-angle spanner | 1 |
| 9 | Carrying case | 1 |
| 10 | User manual | 1 |
Manufacturer: Jinyun Zhaoshi Tool Co.,Ltd
Add: 231 Xianmu West Road, Huzhen Town,
Jinyun County, Lishui City, Zhejiang Province, China
EU Importer: WAITCHX
Address: 250 bis Boulevard Saint-Germain, 75007 Paris, France UK Importer: FREE MOOD LTD
Address: 2 Holywell Lane, London, England, EC2A 3ET
EUREP GmbH
Unterlettenweg 1a, 85051
Ingolstadt, Germany
EUREP UK LTD
UNIT 2264, 100 OCK STREET, ABINGDON OXFORDSHIRE ENGLAND OX14 5DH
MADE IN CHINA
Support and E-Warranty Certificate
https://www.vevor.com/support
MADE IN CHINA















