HYTROL PVEZD Heavy-Duty Roller Conveyor

INTRODUCTION
- This manual provides guidelines and procedures for installing, operating, and maintaining your conveyor. A complete parts list is provided with recommended spare parts highlighted in gray.
- Important safety information is also provided throughout the manual.
- For safety to personnel and for proper operation of your conveyor, it is recommended that you read and follow the instructions provided in this manual.
Receiving and Uncrating
- Check the number of items received against the bill of lading.
- Examine condition of equipment to determine if any damage occurred during shipment.
- Move all crates to area of installation.
- Remove crating and check for optional equipment that may be fastened to the conveyor. Make sure these parts (or any foreign pieces) are removed.
NOTE: If damage has occurred or freight is missing, Contact your Hytrol Integration Partner.
How to Order Replacement Parts
- Included in this manual are parts drawings with complete replacement parts lists. Minor fasteners, such as nuts and bolts, are not included.
When ordering replacement parts:
SAFETY INFORMATION
Installation
GUARDS AND GUARDING
- Interfacing of Equipment. When two or more pieces of equipment are interfaced, special attention shall be given to the interfaced area to insure the presence of adequate guarding and safety devices. Guarding Exceptions. Whenever conditions prevail that would require guarding under these standards, but such guarding would render the conveyor unusable, prominent warning means shall be provided in the area or on the equipment in lieu of guarding.
- Guarded by Location or Position. Where necessary for the protection of employees from hazards, all exposed moving machinery parts that present a hazard to employees at their work station shall be mechanically or electrically guarded, or guarded by location or position.
- Remoteness from frequent presence of public or employed personnel shall constitute guarding by location.
- When a conveyor passes over a walkway, roadway, or work station, it is considered guarded solely by location or position if all moving parts are at least 8 ft. (2.44 m) above the floor or walking surface or are otherwise located so that the employee cannot inadvertently come in contact with hazardous moving parts.
- Although overhead conveyors may be guarded by location, spill guards, pan guards, or equivalent shall be provided if the product may fall off the conveyor for any reason and if personnel would be endangered.
HEADROOM
- When conveyors are installed above exit passageways, aisles, or corridors, there shall be provided a minimum clearance of 6 ft. 8 in. (2.032 m) measured vertically from the floor or walking surface to the lowest part of the conveyor or guards.
- Where system function will be impaired by providing the minimum clearance of 6 ft. 8 in. (2.032 m) through an emergency exit, alternate passageways shall be provided.
- It is permissible to allow passage under conveyors with less than 6 ft. 8 in. (2.032 m) clearance from the floor for other than emergency exits if a suitable warning indicates low headroom.
Operation
- A) Only trained employees shall be permitted to operate conveyors. Training shall include instruction in operation under normal conditions and emergency situations.
- B) Where employee safety is dependent upon stopping and/or starting devices, they shall be kept free of obstructions to permit ready access.
- C) The area around loading and unloading points shall be kept clear of obstructions which could endanger personnel.
- D) No person shall ride the load-carrying element of a conveyor under any circumstances unless that person is specifically authorized by the owner or employer to do so. Under those circumstances, such employee shall only ride a conveyor which incorporates within its supporting structure platforms or control stations specifically designed for carrying personnel. Under no circumstances shall any person ride on any element of a vertical conveyor.
- E) Personnel working on or near a conveyor shall be instructed as to the location and operation of pertinent stopping devices.
- F) A conveyor shall be used to transport only material it is capable of handling safely.
- G) Under no circumstances shall the safety characteristics of the conveyor be altered if such alterations would endanger personnel.
- H) Routine inspections and preventive and corrective maintenance programs shall be conducted to insure that all safety features and devices are retained and function properly.
- I) Personnel should be alerted to the potential hazard of entanglement in conveyors caused by items such as long hair, loose clothing, and jewelry.
- J) Conveyors shall not be maintained or serviced while in operation unless proper maintenance or service requires the conveyor to be in motion. In this case, personnel shall be made aware of the hazards and how the task may be safely accomplished.
- K) Owners of conveyor should insure proper safety labels are affixed to the conveyor warning of particular hazards involved in operation of their conveyors.
CAUTION!
- Because of the many moving parts on the conveyor, all personnel in the area of the conveyor need to be warned that the conveyor is about to be started.
Maintenance
- All maintenance, including lubrication and adjustments, shall be performed only by qualified and trained personnel.
- It is important that a maintenance program be established to insure that all conveyor components are maintained in a condition which does not constitute a hazard to personnel.
- When a conveyor is stopped for maintenance purposes, starting devices or powered accessories shall be locked or tagged out in accordance with a formalized procedure designed to protect all persons or groups involved with the conveyor against an unexpected start.
- Replace all safety devices and guards before starting equipment for normal operation.
- Whenever practical, DO NOT lubricate conveyors while they are in motion. Only trained personnel who are aware of the hazard of the conveyor in motion shall be allowed to lubricate.
Safety Guards
- Maintain all guards and safety devices IN POSITION and IN SAFE REPAIR.
Safety Labels
- In an effort to reduce the possibility of injury to personnel working around HYTROL conveying equipment, safety labels are placed at various points on the equipment to alert them of potential hazards. Please check equipment and note all safety labels. Make certain your personnel are alerted to and obey these warnings. See Safety Manual for examples of warning labels.
REMEMBER
- Do not remove, reuse or modify material handling equipment for any purpose other than it’s original intended use.
INSTALLATION
Support Installation
- Determine direction of product flow. Figure 4A indicates the flow as related to the EZLogic® controls.
- Refer to “Match-Mark” numbers on ends of conveyor sections. (Figure 4A.) Position them in this sequence near area of installation.
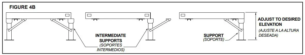
- Attach supports to all conveyor sections as shown in Figures 4B and 4C. Hand tighten bolts only at this time.
- Adjust elevation to required


Conveyor Set-Up
- Mark a chalk line on floor to locate center of the conveyor.
- Place the infeed section in position.
- Place remaining sections on extended support of previous section.
- Fasten sections together with butt couplings and pivot plates (Figure 4C). Hand tighten bolts only at this time.

- Check to see that the conveyor is level across the width and length of the unit. Adjust supports as necessary.
- Tighten all butt couplings and support mounting bolts and lag conveyor to the floor.
- Connect the EZLogic® cordset and EZDrive™ cable (Fig. 5A).
- Install electrical controls and wire disconnect panel (Figure 4D). The Dual Output Disconnect Panel requires a 30 amp service and the Single Output Disconnect Panel requires a 15 amp service. All lines must have proper Fuse or Breakers. See Disconnect Panel for the required voltage.


- Connect IOP to EZLogic®. See EZLogic® GEN3 Component Manual for more information about IOP.
Note! All drive roller shafts are turned to within 10 thousandths TIR (Total Indicator Runout). Some wobbling of the gear motor may be noticeable and is typical in Torque Arm mounted gear motors. This allows the gearmotor to float which prevents fatiguing of the drive shaft or premature failure of bearing components.
Racked Sections
It is important that each bed section be checked for an out-of-square condition. If the conveyor is not square, tracking problems will result. Figure 5B indicates a racked section.
TO CORRECT AN OUT-OF-SQUARE SECTION
- Locate points on corners of section and measure distance “A” & “B”. If the dimensions are not equal, the section will need to be squared.(Figure 5B).


- After all bed sections have been checked and corrected for “racked condition”, tighten all butt couplings and pivot plate bolts.
- Make final check to see that all conveyor sections are level across width and length. If entire conveyor is level, supports can be lagged to floor. “Racked” conveyor sections will cause product to travel toward side of conveyor.
IMPORTANT! Being out of level across this width of conveyor can cause product drift on long conveyor lines.
Electrical Equipment
WARNING! Electrical controls shall be installed and wired by a qualified electrician. Wiring information for the motor and controls are furnished by the equipment manufacturer.
CONTROLS
Electrical Code: All motor controls and wiring shall conform to the National Electrical Code (Article 670 or other applicable articles) as published by the National Fire Protection Association and as approved by the American Standards Institute, Inc.
CONTROL STATIONS
- A) Control stations should be so arranged and located that the operation of the equipment is visible from them, and shall be clearly marked or labeled to indicate the function controlled.
- B) A conveyor which would cause injury when started shall not be started until employees in the area are alerted by a signal or by a designated person that the conveyor is about to start.
- When a conveyor would cause injury when started and is automatically controlled or must be controlled from a remote location, an audible device shall be provided which can be clearly heard at all points along the conveyor where personnel may be present.
- The warning device shall be actuated by the controller device starting the conveyor and shall continue for a required period of time before the conveyor starts. A flashing light or similar visual warning may be used in conjunction with or in place of the audible device if more effective in particular circumstances.
- Where system function would be seriously hindered or adversely affected by the required time delay or where the intent of the warning may be misinterpreted (i.e., a work area with many different conveyors and allied devices), clear, concise, and legible warning shall be provided. The warning shall indicate that conveyors and allied equipment may be started at any time, that danger exists, and that personnel must keep clear. The warnings shall be provided along the conveyor at areas not guarded by position or location.
- C) Remotely and automatically controlled conveyors, and conveyors where operator stations are not manned or are beyond voice and visual contact from drive areas, loading areas, transfer points, and other potentially hazardous locations on the conveyor path not guarded by location, position, or guards, shall be furnished with emergency stop buttons, pull cords, limit switches, or similar emergency stop devices.
- All such emergency stop devices shall be easily identifiable in the immediate vicinity of such locations unless guarded by location, position, or guards. Where the design, function, and operation of such conveyor clearly is not hazardous to personnel, an emergency stop device is not required.
- The emergency stop device shall act directly on the control of the conveyor concerned and shall not depend on the stopping of any other equipment. The emergency stop devices shall be installed so that they cannot be overridden from other locations.
- D) Inactive and unused actuators, controllers, and wiring should be removed from control stations and panel boards, together with obsolete diagrams, indicators, control labels, and other material which serve to confuse the operator.
SAFETY DEVICES
- A) All safety devices, including wiring of electrical safety devices, shall be arranged to operate in a “Fail-Safe” manner, that is, if power failure or failure of the device itself would occur, a hazardous condition must not result.
- B) Emergency Stops and Restarts. Conveyor controls shall be so arranged that, in case of emergency stop, manual reset or start at the location where the emergency stop was initiated, shall be required of the conveyor(s) and associated equipment to resume operation.
- C) Before restarting a conveyor which has been stopped because of an emergency, an inspection of the conveyor shall be made and the cause of the stoppage determined. The starting device shall be locked out before any attempt is made to remove the cause of stoppage, unless operation is necessary to determine the cause or to safely remove the stoppage.
- Refer to ANSI Z244.1-1982, American National Standard for Personnel Protection – Lockout/Tagout of Energy Sources – Minimum Safety Requirements and OSHA Standard Number 29 CFR 1910.147 “The Control of Hazardous Energy (Lockout/Tagout).”
Sequence of Operation
The PVEZD models are made up of a series of accumulation zones, each zone having an EZLogic® zone controller, an EZDrive™ zone starter box and a gearmotor. The sequence of “loading” and “unloading” the conveyor is as follows:
LOADING THE CONVEYOR – SINGULATION MODE (Figure 6A)
- Beginning with the conveyor “empty,” and the zone stop signal to the discharge zone controller “active,”(Refer to the “Auxiliary Connections” section) a load placed on the conveyor continues forward until it reaches the discharge zone (Zone #1). If two or more loads are placed on the conveyor with a space of less than one zone length between them, the loads will singulate (separate) during the first few feet of travel on the conveyor, until a space approximately equal to one zone length exists between all loads.
- When load #1 activates zone controller “A”, Zone #1 stops driving. A signal is sent to Zone #2 indicating that Zone #1 is occupied (Figure 6A).

- When load #2 activates zone controller “B”, Zone #2 stops driving. A signal is sent to Zone #3 indicating that Zone #2 is occupied.
- The above sequences are repeated until the conveyor is fully loaded.
UNLOADING THE CONVEYOR – SINGULATION MODE
- Releasing load #1 is accomplished by “de-activating” the zone stop signal to the discharge zone (Refer to the “Auxiliary Connections” section). This restores power to the tread rollers in zone #1. Load #1 will then move forward, causing a gap between itself and load #2 (Figure 6B).

- When load #1 clears zone controller “A”, load #2 will then move forward, creating a gap between itself and load #3.
- This sequence will continue as long as the preceding load continues to move forward.
EZLogic® System
- EZLogic® Accumulation System Connections The PVEZD models are equipped with the EZLogic® accumulation system. The following basic information may be used as a guide during the installation and initial setup of the conveyor. For detailed information about EZLogic® system components, options, functions, and programming, please refer to the EZLogic® GEN3 Component Manual.
- Each EZLogic® zone controller is equipped with sealed connectors for zone-to-zone communication, solenoid output, and zone stop connections. These connections are described in the following sections.
- An optional conveyor-to-conveyor connector is required when two conveyors are joined end-to-end. Please refer to the EZLogic® GEN3 Component Manual for more information.
EZDrive™ CONNECTIONS
- Each zone controller has a built-in run enable output cable to provide a zone drive/no drive output to the EZDrive™ zone starter box operating the zone. This cable is terminated with a female pico-style sealed snap-lock connector. Connection is made by pushing the cable connector onto the corresponding male connector of the zone starter box until it snaps in.
Please note that this output is only to be used to operate the zone mechanism of the conveyor. It is not to be used as an output signal to other control devices. If a control output is needed, an optional auxiliary I/O module should be used. Please refer to the EZLogic® GEN3 Component Manual for more information.
AUXILIARY CONNECTIONS
- Every EZLogic“ zone controller is equipped with an auxiliary port to accept a zone stop signal, a slug input signal, or a zone wake-up signal by simply connecting an auxiliary input cable to the auxiliary port of the controller and then wiring the two wires of the cable to any “dry contact” type switching device, such as a toggle switch or relay. No other components are required. The default setting is for a zone stop signal. To use the signal for slug input or zone wake-up, program the zone controller as detailed in the EZLogic“ Gen 3 Component Manual.
- Note: Do not apply a voltage to these wires, or wire more than one controller to any one contact. Closing the zone stop contacts will place the EZLogic“ controller into “accumulate” mode. The next carton to activate the controller will be stopped and held in the “stop zone” until the contact is opened. The zone stop feature is used on all conveyors to control the release of product from the discharge zone. Other zones may be wired for this feature at any time.
SLUG MODE CONNECTIONS
- The EZLogic“ accumulation system provides two modes of accumulation which are user-selectable: Singulation mode and Slug mode. (For descriptions of the sequence of operation for each mode, refer to the “Sequence of Operation” section). The desired mode of operation may be programmed into the zone controllers at installation (refer to the EZLogic“ Gen 3 Component Manual for details). If the user wishes to be able to alternate between singulation mode and slug mode “on-the-fly,” an optional Auxiliary
- Input Cable (Hytrol P/N 032.563) may be used. The default mode is the singulation mode. If the user desires to operate the conveyor in slug mode, or if the user wishes to be able to alternate between the two modes as needed, the following procedures should be used.
SLUG MODE ONLY
- Program the zone controllers to operate in “slug mode only” as detailed in the EZLogic“ Gen 3 Component Manual.
SELECTABLE SINGULATION/SLUG
- Install an auxiliary input cable (Hytrol P/N 032.563) on any zone controller of the conveyor. The cable attaches to the auxiliary port on the controller.
- Program the zone controller to accept a slug signal. (Refer to the EZLogic“ Gen 3 Component Manual for details.)
- Connect the two wires of the Auxiliary Input Cable to any “dry contact” type switching device, such as a toggle switch or relay.
- With the switch contacts open, the conveyor will be in singulation mode. When the switch is closed, the conveyor is in slug mode.
Note: Do not apply a voltage to these wires, or wire more than one controller to any one contact.
ZONE CONNECTIONS
Each zone controller has a cordset terminated with a female micro-connector and a male micro-connector. This cordset provides power to all the zone controllers on the conveyor as well as communication between zone controllers (Figure 6C). All zone controllers are mounted and connected at the factory within each conveyor section. Connections between sections are made at installation. (See Conveyor Set-Up on Page 4). The cordset from one zone controller is always connected to the cordset on the upstream side of it. This is the way the zone controllers know which direction product is flowing.
The cordset on the infeed end of the conveyor is simply bundled and tied in the accumulation channel and is not connected. The infeed cordset may be replaced with an infeed zone terminator (P/N 032.550). Protective caps are provided to seal unused connectors.
EZDrive™ Zone Starter Box
Each zone of the model PVEZD is equipped with an EZDrive™ zone starter box. The zone starter box provides an interface between the EZLogic® zone controller and the gearmotor. The zone starter box performs the following functions:
- Provides power to the gearmotor
- Allows the gearmotor to be “remotely controlled” by an EZLogic® zone controller.
- Provides overload protection for the gearmotor.
- Provides LED’s to indicate when the zone starter box is receiving power and when the overload has tripped.
The parts of the EZDrive™ zone starter box are shown in (Figure 7B). Each of these parts and their function is described below.
POWER CABLE
- This cable provides power to the zone starter box and gearmotor. It is terminated with a male quick disconnect connector. The cable is connected to either the previous zone starter box in the chain or to the disconnect panel.
POWER CONNECTOR
- This connector is a female quick disconnect mounted directly to the zone starter box. It is used to provide power to the next zone starter box in the chain. The male connector on the power cable of the next zone starter box is plugged into this connector. This connector is capped on the last zone starter box in the chain.
MOTOR CABLE
- This cable provides the connection between the zone starter box and the motor. The cable is hard-wired to the motor’s wiring box.
RUN-ENABLE INPUT CABLE
- This cable accepts a drive/no drive signal from the EZLogic® zone controller. The cable is terminated with a male pico connector that mates with the female connector on the solenoid output cable of the EZLogic® zone controller which controls the gearmotor.
- Power Indicator LED (Green)
- This LED will be illuminated at all times if power is connected to the zone starter box.
OVERLOAD INDICATOR LED (RED)
- This LED will be illuminated if the zone starter box’s motor overload is tripped. The zone starter box must be manually reset when this indicator is lit.
- This button is used to reset the motor overload if it is tripped. If the red LED is illuminated, press this button to reset the overload.
- CAUTION! Before resetting the zone starter box overload, check the conveyor zone to be sure that it is free of obstruction or is not jammed or “bound up” in any way. Depending on load positions or whether or not an EZlogic® zone controller has been flagged,” the zone MAY START UP IMMEDIATELY WHEN THE RESET BUTTON IS PRESSED!

Loading Applications
END/SIDE LOADING FROM FORK TRUCK
CONTROLS REQUIRED:
- When loading the infeed zone, it must hold the load until the fork truck is clear. A zone stop signal to the infeed zone will do this. A photocell to detect the fork truck or a pull switch activated by the driver may be used to activate the zone stop. EZLogic® zone controller in the infeed zone may need to be relocated to detect product before setting the product in the zone, otherwise, rollers will not stop turning. This may also be accomplished by using the EZLogic® loading zone feature. See EZLogic® GEN3 Component Manual for details.
SIDE LOADING INTERMEDIATE ZONE (MUST BE DESIGNATED LOADING ZONE)
CONTROLS REQUIRED:
- When loading an intermediate zone, the designated loading zone and the pre-ceding zone must be controlled. A zone stop signal to both zones will do this. A photo cell to detect the fork truck or a pull switch activated by the driver may be used to activate the zone stops. EZLogic® zone controller in the loading zone must detect product before setting product in zone otherwise rollers will not stop turning. This may also be accomplished by using the EZLogic® load-ing zone feature. See EZLogic® GEN3 Component Manual for details.
SIDE LOADING WITH CHAIN TRANSFER
CONTROLS REQUIRED:
- When side loading an intermediate zone with a chain transfer, the zone preceding the transfer zone and the transfer zone (13 and 14) must be monitored and/or controlled. The transfer zone (14) must be clear before product may be trans-ferred onto the conveyor. A zone stop signal to (13) will prevent any upstream loads from entering the transfer area. A zone stop signal to (14) will prevent the load being transferred from advancing until the transfer is fully retracted. Other controls are required for the trans-fer and the feed line.

Unloading Applications
CONTROLS REQUIRED:
- A standard zone stop signal is used to hold load.
- Remove the signal to release load.
UNLOADING ONTO TURNTABLE

CONTROLS REQUIRED:
- The zone stop control in the discharge zone may be wired to stop any load entering the zone. The unloading zone feature may be used to delay the restart of zone #2 until the fork truck is clear.
CONTROLS REQUIRED:
- A zone stop signal may be used to stop the product. The unload-ing zone feature may be used to delay the restart of the upstream zone until the fork truck is clear.
OPERATION
Conveyor Start-Up
Before conveyor is turned on, check for foreign objects that may have been left inside conveyor during installation. These objects could cause serious damage during start-up. After conveyor has been turned on and is operating, check motors, reducers, and moving parts to make sure they are working freely.
CAUTION! Because of the many moving parts on the con-veyor, all personnel in the area of the conveyor need to be warned that the conveyor is about to be started.
Trouble Shooting
| TROUBLE SHOOTING dRIVEs | ||
| TROUBLE | CAUsE | sOLUTION |
| zone will not start or motor quits frequently. | 1) motor is overloaded or drawing too much current. | 1) Check for overloading of conveyor. 2) Check heater or circuit breaker and change if necessary. 3) Check for proper amp setting on overload. |
| Loud popping or grinding noise in bearing. | 1) defective bearing. 2) Loose set screw. | 1) Replace bearing. 2) Tighten set screw. |
| motor or reducer overheating. | 1) Conveyor is overloaded. 2) Low voltage to motor. | 1) Check capacity of conveyor and reduce load to recommended level. 2) Have electrician check and correct as necessary. |
| Conveyor will not run and green LEd is off. | 1) No power to conveyor. 2) disconnect switch is off. 3) Circuit breaker is tripped. | 1) Turn power on. 2) Turn disconnect switch on. 3) Turn circuit breaker on. |
| TROUBLE SHOOTING ACCUmULATION | ||
| TROUBLE | CAUsE | sOLUTION |
| Product will not accumulate on one or more zones. | 1) zone controller cordset disconnected. 2) zone starter box cable disconnected. 3) zone starter box not working. 4) zone controller not working. | 1) Reconnect cordset. 2) Reconnect cable. 3) Repair/replace zone starter box. 4) Replace zone controller. |
| zone will not drive. | 1) zone controller lens dirty. 2) Reflector missing or damaged. 3) Power loss to zone controller. | 1) Clean lens in zones upstream and downstream. 2) Replace reflector. 3) Check power from IOP and check connections. |
| zone will not “sleep”. | 1) “sleep” feature disabled. 2) Upstream zone is blocked. 3) zone controller lens is dirty. | 1) set “sleep” to “Enable”. 2) Unblock zone. 3) Clean zone controller lens. |
Accumulation Assembly
(199, 25 PVEZD)
Model 199-PVEZD Parts Drawing
Dibujo de Partes del Modelo 199-PVEZD
Model 199-PVEZD Parts List
| Ref NO. | PART NO. | Description |
| 1 | – | Ezdrive disconnect Panel |
| – | EB-000040 | single Circuit 230V 3HP 60Hz 15AmP, 1-3 zones |
| – | EB-000048 | single Circuit 460V 3HP 60Hz 15AmP, 1-7 zones |
| – | EB-000041 | dual Circuit 230V 3HP 60Hz 30AmP, 4-6 zones |
| – | EB-000049 | dual Circuit 460V 3HP 60Hz 30AmP, 4-6 zones |
| 2 | – | Gearmotor |
| – | 033.07101 | 1/3 HP 230/460/3PH 60Hz 15:1 58fPm |
| – | 033.07102 | 1/3 HP 230/460/3PH 60Hz 25:1 35fPm |
| 3 | – | Ezdrive starter Box |
| – | EB-000020 | 230V starter Box |
| – | EB-000028 | 460V starter Box |
| 4 | – | The connector Cable Double Ended |
| – | 037.006003 | 6 ft. Long |
| – | 037.006007 | 3 ft. Long |
| 5 | PT-102611 | mounting Angle |
| 6 | 090.2036 | shaft Key 1/4 in. sq. x 3-1/4 in. long |
| 7 | PT-129059 | Chain Guard End Cap |
| 8 | – | disconnect Panel mounting Angle |
| – | WA-029091 | single disconnect Panel |
| – | WA-032475 | dual disconnect Panel |
| 9 | Contact factory | frame Channel – drive side |
| 10 | Contact factory | frame Channel |
| 11 | Contact factory | Chain Return |
| 12 | Contact factory | Roller Hold down Angle |
| 13 | PT-049538 | Channel Bed spacer (specify BR) |
| 14 | B-25355 | Brace Plate |
| 15 | PT-106292 | Butt Coupling |
| 16 | PT-129069 | Torque Arm Channel |
| 17 | WA-014214 | Roller mounting stud |
| 18 | sA-056847 | 1.9 dia. drive Roller (specify BR) |
| 19 | sA-056846 | 1.9 dia. slave Roller (specify BR) |
| 20 | Contact factory | Chain Guard |
| 21 | – | Poly-V Belt |
| – | 904.0284 | 6 in. Centers |
| – | 904.0282 | 4 in. Centers |
| – | 904.0280 | 3 in. Centers |
| 22 | 010.0029 | 2-Bolt flange Bearing |
| 23 | 018.202 | Bearing spacer 1 in. Thick |
| 24 | – | Accumulation Channel |
| – | PT-131202 | Retro-reflective (Specify Length) |
| – | B-25367 | diffuse (Specify Length) |
| 25 | – | Unitized zone Controller |
| – | 032.501 | Retro-Reflective |
| – | 032.502 | diffuse |
| 26 | 032.517 | mounting Base for zone Controller |
| 27 | – | Cordset – zone to-zone Communication |
| – | 032.551 | 12 in. Long |
| – | 032.554 | 30 in. Long |
| – | 032.555 | 36 in. Long |
| – | 032.556 | 48 in. Long |
| – | 032.557 | 60 in. Long |
| – | 032.558 | 72 in. Long |
| 28 | – | Ez-Logic Extension Cable |
| – | 032.560 | 3 ft. Long |
| – | 032.561 | 10 ft. Long |
| 29 | 032.550 | Infeed zone Terminator |
| 30 | 032.010 | Upstream Connector Cover |
| 31 | 032.011 | downstream Connector Cover |
| 32 | – | Auxiliary Input Cable |
| – | 032.563 | 3 ft. Long |
| – | 032.564 | 10 ft. Long |
| 33 | – | Infeed Wake-up Eye |
| – | 032.591 | Retro-Reflective |
| – | 032.592 | diffuse |
| 34 | PT-067575 | Infeed Wake-up Eye Mounting Bracket |
| 35 | PT-067576 | Infeed Wake-up Eye Pivot Bracket |
| 36 | 032.582 | TOP |
| 37 | 032.559 | IOP T Cable |
| 38 | PT-073987 | IOP mounting Plate |
| 39 | – | Reflector |
| – | 032.2181 | Adhesive backed – 2.40 in. dia. |
| – | 032.218 | Bolt on – 2.40 in. dia. |
| – | sA-039800 | .930 in. Wide x 1.600 in. Tall Reflector/Tape Assy. |
| – | 953.0055 | .930 in. Wide x 1.600 in. Tall Bolt on |
| 40 | 080-204-204 | L-Rod |
| REf NO. | PART NO. | dEsCRIPTION |
| 41 | B-24173 | Reflector Weldment |
| 42 | B-24175 | mounting Bracket Weldment – L-Rod |
| 43 | 094.1141 | Push Button mount |
| 44 | 091.109 | Cable Tie – 5-1/2 in. Long |
| 45 | 094.1143 | Ez Twist Lock |
| 46 | – | ms Type Pivot Plate |
| – | B-21027 | 3-3/4 in. Wide, 1-9/16 in. High |
| – | B-04103 | 3-3/4 in. Wide, 4 in. High |
| 47 | – | floor support frame |
| – | B-00914 | 6 in. High(specify OAW) |
| – | B-12777 | 7 in. High(specify OAW) |
| – | B-12778 | 8 in. High (specify OAW) |
| – | B-00915 | 9 in. High (specify OAW) |
| – | B-00916 | 11-1/2 in. High (specify OAW) |
| – | B-00917 | 14-1/2 in. High (specify OAW) |
| – | B-02098 | 18-1/2 in. High (specify OAW) |
| – | B-00919 | 22-1/2 in. High (specify OAW) |
| – | B-00921 | 32-1/2 in. High (specify OAW) |
| – | B-00923 | 44-1/2 in. High (specify OAW) |
| – | B-00925 | 56-1/2 in. High (specify OAW) |
| – | B-02107 | 68-1/2 in. High (specify OAW) |
| – | B-02109 | 78-1/2 in. High (specify OAW) |
| – | B-02111 | 90-1/2 in. High (specify (OAW) |
| 48 | B-00911 | Adjustable foot Assembly (Specify Length) |
| 49 | G-00794 | Knee Brace – Heavy duty (Specify Length) |
| 50 | G-00793 | Knee Brace Bracket – Heavy duty |
Model 25-PVEZD Parts Drawing
| Ref NO. | PART NO. | Description |
| 1 | – | Ezdrive disconnect Panel |
| – | EB-000040 | single Circuit 230V 3PH 60Hz 15AmP |
| – | EB-000048 | dual Circuit 230V 3HP 60Hz 30AmP |
| – | EB-000041 | singal Circuit 460V 3PH 60Hz 15AmP |
| – | EB-000049 | dual Circuit 460V 3PH 60Hz 30AmP |
| 2 | – | Gearmotor |
| – | 033.0713 | 1/2 HP 230/460/3PH 60Hz 30:1 40fPm |
| – | 033.0714 | 1/2 HP 230/460/3PH 60Hz 40:1 30fPm |
| 3 | – | Ezdrive Starter Box |
| – | EB-000021 | 230V Starter Box |
| – | EB-000028 | 460V Starter Box |
| 4 | – | The connector Cable Double Ended |
| – | 037.006003 | 6 ft. Long |
| – | 037.006007 | 3 ft. Long |
| 5 | PT-102611 | mounting Angle |
| 6 | 090.2036 | shaft Key 1/4 in. sq. x 3-1/4 in. long |
| 7 | PT-008944 | Chain Guard End Cap |
| 8 | – | disconnect Panel mounting Angle |
| – | WA-029091 | single disconnect Panel |
| – | WA-032475 | dual disconnect Panel |
| 9 | Contact factory | frame Channel – drive side |
| 10 | Contact factory | frame Channel |
| 11 | Contact factory | Chain Return |
| 12 | Contact factory | Roller Hold down Angle |
| 13 | B-25354 | Channel Bed spacer (specify BR) |
| 14 | B-25355 | Brace Plate |
| 15 | PT-110300 | Butt Coupling |
| 16 | PT-129548 | Torque Arm Channel |
| 17 | B-17127 | Roller mounting stud |
| 18 | sA-057300 | 2.5 dia. drive Roller (specify BR) |
| 19 | sA-057266 | 2.5 dia. slave Roller (specify BR) |
| 20 | Contact factory | Chain Guard |
| 21 | – | Poly-V Belt |
| – | 904.0281 | 6 in. Centers |
| – | 904.0286 | 4 in. Centers |
| – | 904.0285 | 3 in. Centers |
| 22 | 010.0029 | 2-Bolt flange Bearing |
| 23 | 018.202 | Bearing spacer 1 in. Thick |
| 24 | – | Accumulation Channel |
| – | PT-131202 | Retro-reflective (Specify Length) |
| – | B-25367 | diffuse (Specify Length) |
| 25 | – | Unitized zone Controller |
| – | 032.501 | Retro-Reflective |
| – | 032.502 | diffuse |
| 26 | 032.517 | mounting Base for zone Controller |
| 27 | – | Cordset – zone to-zone Communication |
| – | 032.551 | 12 in. Long |
| – | 032.554 | 30 in. Long |
| – | 032.555 | 36 in. Long |
| – | 032.556 | 48 in. Long |
| – | 032.557 | 60 in. Long |
| – | 032.558 | 72 in. Long |
| 28 | – | EzLogic Extension Cable |
| – | 032.560 | 3 ft. Long |
| – | 032.561 | 10 ft. Long |
| 29 | 032.550 | Infeed zone Terminator |
| 30 | 032.010 | Upstream Connector Cover |
| 31 | 032.011 | downstream Connector Cover |
| 32 | – | Auxiliary Input Cable |
| – | 032.563 | 3 ft. Long |
| – | 032.564 | 10 ft. Long |
| 33 | – | Infeed Wake-up Eye |
| – | 032.591 | Retro-Reflective |
| – | 032.592 | diffuse |
| 34 | PT-067575 | Infeed Wake-up Eye Mounting Bracket |
| 35 | PT-067576 | Infeed Wake-up Eye Pivot Bracket |
| 36 | 032.582 | TOP |
| 37 | 032.559 | IOP T Cable |
| 38 | PT-073987 | IOP mounting Plate |
| 39 | – | Reflector |
| REf NO. | PART NO. | dEsCRIPTION |
| – | 032.2181 | Adhesive backed – 2.40 in. dia. |
| – | 032.218 | Bolt on – 2.40 in. dia. |
| – | sA-039800 | .930 in. Wide x 1.600 in. Tall Reflector/Tape Assy. |
| – | 953.0055 | .930 in. Wide x 1.600 in. Tall Bolt on |
| 40 | 0080-204-204 | L-Rod |
| 41 | B-24173 | Reflector Weldment |
| 42 | B-24175 | mounting Bracket Weldment – L-Rod |
| 43 | 094.1141 | Push Button mount |
| 44 | 091.109 | Cable Tie – 5-1/2 in. Long |
| 45 | 094.1143 | Ez Twist Lock |
| 46 | – | ms Type Pivot Plate |
| – | B-21027 | 3-3/4 in. Wide, 1-9/16 in. High |
| – | B-04103 | 3-3/4 in. Wide, 4 in. High |
| 47 | – | floor support frame |
| – | B-00914 | 6 in. High(specify OAW) |
| – | B-12777 | 7 in. High(specify OAW) |
| – | B-12778 | 8 in. High (specify OAW) |
| – | B-00915 | 9 in. High (specify OAW) |
| – | B-00916 | 11-1/2 in. High (specify OAW) |
| – | B-00917 | 14-1/2 in. High (specify OAW) |
| – | B-02098 | 18-1/2 in. High (specify OAW) |
| – | B-00919 | 22-1/2 in. High (specify OAW) |
| – | B-00921 | 32-1/2 in. High (specify OAW) |
| – | B-00923 | 44-1/2 in. High (specify OAW) |
| – | B-00925 | 56-1/2 in. High (specify OAW) |
| – | B-02107 | 68-1/2 in. High (specify OAW) |
| – | B-02109 | 78-1/2 in. High (specify OAW) |
| – | B-02111 | 90-1/2 in. High (specify (OAW) |
| 48 | B-00911 | Adjustable foot Assembly (specify Length) |
| 49 | G-00794 | Knee Brace – Heavy duty (specify Length) |
| 50 | G-00793 | Knee Brace Bracket – Heavy duty |
Planned Maintenance Checklist (Lista de Mantenimiento Preventivo)
Note: Check Set Screws for proper torque value after the first 24 hours of operation.
| Component (Componente) | suggested Action (acción sugerida) | schedule (Horario) | ||
| Weekly (seminal) | monthly (manual) | Quarterly (trimestral) | ||
| Gearmotor | Check Noise (revisar el ruido) | |||
| Check Temperature (revisar la temperatura) | ||||
| Check Oil Level (revisar el nivel de aceite) | ||||
| Check mounting Bolts (revisar los tornillos de montaje) | ||||
| Poly V-Belt drive (banda en V dentada mortiz) | Check for Wear (revisar el desgaste) | |||
| Bearing Insert and Rollers (Inserto del balero y rodillos) | Check for Wear (revisar el desgaste) | |||
| Check Noise (revisar el ruido) | ||||
| Check Bearing Lubrication (Verificar lubricacion de los baleros) | ||||
| structural (estructura) | General Check: All loose bolts, etc., tightened (revision general: tornillos sueltos, etc .) | |||
- Use code HYPMANUAL for free shipping on your first order at HytrolParts.com
- [email protected]
- www.HytrolParts.com
- Building Relationships One Conveyor Part at a Time” [email protected]
- www.HytrolParts.com
- Use code HYPMANUAL for free shipping on your first order at HytrolParts.com






























