25/26-CRR Chain Driven Live Roller

Product Information
The product is a conveyor system with the model number 25/26-CRR. The installation, maintenance, and parts list manual is effective from February 2012 and is identified by bulletin number 639. The manual lists recommended spare parts, which are highlighted in gray. Warning signs are placed at various points on the equipment to alert personnel of potential dangers, and these signs should be checked and obeyed.
Product Usage Instructions
Receiving and Uncrating: Upon receiving the conveyor system, carefully uncrate it and inspect it for any damage. Contact the manufacturer if any damage is found.
Installation Safety Precautions: Before installing the conveyor system, ensure that all safety precautions are taken. This includes wearing protective gear, following lockout/tagout procedures, and ensuring that all personnel are clear of the conveyor before starting it.
Support Installation: Install the supports for the conveyor system according to the manufacturer’s instructions.
Conveyor Set-Up: Set up the conveyor system according to the manufacturer’s instructions.
Electrical Equipment: Install the electrical equipment according to the manufacturer’s instructions.
Operation Safety Precautions: Before operating the conveyor system, ensure that all safety precautions are taken. This includes wearing protective gear, following lockout/tagout procedures, and ensuring that all personnel are clear of the conveyor before starting it.
Conveyor Start-Up: Start the conveyor system according to the manufacturer’s instructions.
Maintenance Safety Precautions: Before performing any maintenance on the conveyor system, ensure that all safety precautions are taken. This includes wearing protective gear, following lockout/tagout procedures, and ensuring that all personnel are clear of the conveyor before starting any maintenance.
Lubrication: Lubricate the conveyor system according to the manufacturer’s instructions.
Drive Chain Alignment and Tension: Check the alignment and tension of the drive chain and adjust as necessary according to the manufacturer’s instructions.
Trouble Shooting: Troubleshoot any issues with the conveyor system according to the manufacturer’s instructions.
Preventive Maintenance Checklist: Follow the preventive maintenance checklist provided by the manufacturer to ensure that the conveyor system is properly maintained.
How to Order Replacement Parts: Order replacement parts according to the manufacturer’s instructions.
Model 25/26-CRR Parts Drawing: Refer to the parts drawing provided by the manufacturer when ordering replacement parts.
Model 25/26-CRR Parts List: Refer to the parts list provided by the manufacturer when ordering replacement parts.
Warning Signs
In an effort to reduce the possibility of injury to personnel working around HYTROL conveying equipment, warning signs are placed at various points on the equipment to alert them of potential dangers. Please check equipment and note all warning signs. Make certain your personnel are alerted to and obey these warnings. Shown below are typical signs that are attached to this equipment.
WARNING!
DO NOT START CONVEYOR UNTIL PERSONNEL ARE CLEAR
PLACED ON ALL POWERED CONVEYORS NEAR DRIVE AND/OR CONTROLS.
COLOCADA EN TODOS LOS
TRANSPORTADORES MOTORIZADOS CERCA AL MOTOR Y/O LOS CONTROLES
WARNING
Exposed moving parts can cause severe injury
LOCK OUT POWER
before removing guard
PLACED ON ALL CHAIN GUARDS.
COLOCADA EN TODAS LAS GUARDA CADENAS.
INTRODUCTION
This manual provides guidelines and procedures for installing, operating, and maintaining your conveyor. A complete parts list is provided with recommended spare parts highlighted in gray. Important safety information is also provided throughout the manual. For safety to personnel and for proper operation of your conveyor, it is recommended that you read and follow the instructions provided in this manual.
Receiving and Uncrating
- Check the number of items received against the bill of lading.
- Examine condition of equipment to determine if any damage occurred during shipment.
- Move all crates to area of installation.
- Remove crating and check for optional equipment that may be fastened to the conveyor. Make sure these parts (or any foreign pieces) are removed.
NOTE: If damage has occurred or freight is missing, see the “Important Notice” attached to the crate.
INSTALLATION
Installation Safety Precautions for Conveyors and Related Equipment
GUARDS AND GUARDING
Interfacing of Equipment. When two or more pieces of equipment are interfaced, special attention shall be given to the interfaced area to insure the presence of adequate guarding and safety devices.
Guarding Exceptions. Wherever conditions prevail that would require guarding under these standards, but such guarding would render the conveyor unusable, prominent warning means shall be provided in the area or on the equipment in lieu of guarding.
Guarded by Location or Position. Where necessary for the protection of employees from hazards, all exposed moving machinery parts that present a hazard to employees at their work station shall be mechanically or electrically guarded, or guarded by location or position.
When a conveyor passes over a walkway, roadway, or work station, it is considered guarded solely by location or position if all moving parts are at least 8 ft. (2.44 m) above the floor or walking surface or are otherwise located so that the employee cannot inadvertently come in contact with hazardous moving parts. Although overhead conveyors may be guarded by location, spill guard, pan guards, or equivalent shall be provided if the product may fall off the conveyor for any reason and if personnel would be endangered.
HEADROOM
When conveyors are installed above exit passageways, aisles, or corridors, there shall be provided a minimum clearance of 6 ft. 8 in. (2.032 m) measured vertically from the floor or walking surface to the lowest part of the conveyor or guards.
Where system function will be impaired by providing the minimum clearance of 6 ft. 8 in. (2.032 m) through an emergency exit, alternate passageways shall be provided.
It is permissible to allow passage under conveyors with less than 6 ft. 8 in. (2.032 m) clearance from the floor for other than emergency exits if a suitable warning indicates low headroom.
Support Installation
- Turn conveyor sections upside down and position them in proper sequence per match-marked numbers at each end.(Figure 6A).
- Attach supports to both ends of drive section and to one end of intermediate or tail sections (Figure 6B). Hand tighten bolts only at this time.
- Adjust elevation to required height.
- Assemble Knee braces as shown in Figures 6B and 6C.


Conveyor Set-Up
- Mark a chalk line on floor to locate center of the conveyor. Place the drive section in an upright position.
- Turn remaining sections upright placing end without support on extended pivot plate of previous section (Figure 7A). Check “Match-Mark” Numbers to see that adjoining sections are in proper sequence.
- Fasten sections together with butt couplings and pivot plates (Figure 7B). Hand tighten bolts.
- Connect chains at section joints (Figure 7C).
- Check to see that conveyor is level across width and length of unit. Adjust supports as necessary.
- Tighten all butt couplings and support mounting bolts and lag conveyor to floor.
- Install electrical controls and wire motor. See page 8.


Electrical Equipment
WARNING!
Electrical controls shall be installed and wired by a qualified electrician. Wiring information for the motor and controls are furnished by the equipment manufacturer.
CONTROLS
Electrical Code: All motor controls and wiring shall conform to the National Electrical Code (Article 670 or other applicable articles) as published by the National Fire Protection Association and as approved by the American Standards Institute, Inc.
CONTROL STATIONS
- Control stations should be so arranged and located that the operation of the equipment is visible from them, and shall be clearly marked or labeled to indicate the function controlled.
- A conveyor which would cause injury when started shall not be started until employees in the area are alerted by a signal or by a designated person that the conveyor is about to start.
When a conveyor would cause injury when started and is automatically controlled or must be controlled from a remote location, an audible device shall be provided which can be clearly heard at all points along the conveyor where personnel may be present. The warning device shall be actuated by the controller device starting the conveyor and shall continue for a required period of time before the conveyor starts. A flashing light or similar visual warning may be used in conjunction with or in place of the audible device if more effective in particular circumstances.
Where system function would be seriously hindered or adversely affected by the required time delay or where the intent of the warning may be misinterpreted (i.e., a work area with many different conveyors and allied devices), clear, concise, and legible warning shall be provided. The warning shall indicate that conveyors and allied equipment may be started at any time, that danger exists, and that personnel must keep clear. The warnings shall be provided along the conveyor at areas not guarded by position or location. - Remotely and automatically controlled conveyors, and conveyors where operator stations are not manned or are beyond voice and visual contact from drive areas, loading areas, transfer points, and other potentially hazardous locations on the conveyor path not guarded by location, position, or guards, shall be furnished with emergency stop buttons, pull cords, limit switches, or similar emergency stop devices.
All such emergency stop devices shall be easily identifiable in the immediate vicinity of such locations unless guarded by location, position, or guards. Where the design, function, and operation of such conveyor clearly is not hazardous to personnel, an emergency stop device is not required.
The emergency stop device shall act directly on the control of the conveyor concerned and shall not depend on the stopping of any other equipment. The emergency stop devices shall be installed so that they cannot be overridden from other locations. - Inactive and unused actuators, controllers, and wiring should be removed from control stations and panel boards, together with obsolete diagrams, indicators, control labels, and other material which serve to confuse the operator.
SAFETY DEVICES
- All safety devices, including wiring of electrical safety devices, shall be arranged to operate in a “Fail-Safe” manner, that is, if power failure or failure of the device itself would occur, a hazardous condition must not result.
- Emergency Stops and Restarts. Conveyor controls shall be so arranged that, in case of emergency stop, manual reset or start at the location where the emergency stop was initiated, shall be required of the conveyor(s) and associated equipment to resume operation.
- Before restarting a conveyor which has been stopped because of an emergency, an inspection of the conveyor shall be made and the cause of the stoppage determined. The starting device shall be locked out before any attempt is made to remove the cause of stoppage, unless operation is necessary to determine the cause or to safely remove the stoppage.
Refer to ANSI Z244.1-1982, American National Standard for Personnel Protection – Lockout/Tagout of Energy Sources – Minimum Safety Requirements and OSHA Standard Number 29 CFR 1910.147 “The Control of Hazardous Energy (Lockout/Tagout).”
Use code HYPMANUAL for free shipping on your first order at HytrolParts.com
“Building Relationships One Conveyor Part at a Time”
OPERATION
Operation Safety Precautions
- Only trained employees shall be permitted to operate conveyors. Training shall include instruction in operation under normal conditions and emergency situations.
- Where employee safety is dependent upon stopping and/or starting devices, they shall be kept free of obstructions to permit ready access.
- The area around loading and unloading points shall be kept clear of obstructions which could endanger personnel.
- No person shall ride the load-carrying element of a conveyor under any circumstances unless that person is specifically authorized by the owner or employer to do so. Under those circumstances, such employee shall only ride a conveyor which incorporates within its supporting structure, platforms or control stations specifically designed for carrying personnel. Under no circumstances shall any person ride on any element of a vertical conveyor. Owners of conveyors should affix warning devices to the conveyor reading Do Not Ride Conveyor.
- Personnel working on or near a conveyor shall be instructed as to the location and operation of pertinent stopping devices.
- A conveyor shall be used to transport only material it is capable of handling safely.
- Under no circumstances shall the safety characteristics of the conveyor be altered if such alterations would endanger personnel.
- Routine inspections and preventive and corrective maintenance programs shall be conducted to insure that all safety features and devices are retained and function properly.
- Personnel should be alerted to the potential hazard of entanglement in conveyors caused by items such as long hair, loose clothing, and jewelry.
- As a general rule, conveyors should not be cleaned while in operation. Where proper cleaning requires the conveyor to be in motion and a hazard exists, personnel should be made aware of the associated hazard.
Conveyor Start-Up
Before conveyor is turned on, check for foreign objects that may have been left inside conveyor during installation. These objects could cause serious damage during start-up.
After conveyor has been turned on and is operating, check motors, reducers, and moving parts to make sure they are working freely.
CAUTION!
Because of the many moving parts on the conveyor, all personnel in the area of the conveyor need to be warned that the conveyor is about to be started.
MAINTENANCE
Maintenance Safety Precautions
- Maintenance, such as lubrication and adjustments, shall be performed only by qualified and trained personnel.
- It is Important that a maintenance program be established to insure that all conveyor components are maintained in a condition which does not constitute a hazard to personnel.
- When a conveyor is stopped for maintenance purposes, starting devices or powered accessories shall be locked or tagged out in accordance with a formalized procedure designed to protect all person or groups involved with the conveyor against an unexpected start.
- Replace all safety devices and guards before starting equipment for normal operation.
- Whenever practical, DO NOT lubricate conveyors while they are in motion. Only trained personnel who are aware of the hazard of the conveyor in motion shall be allowed to lubricate.
SAFETY GUARDS
Maintain all guards and safety devices IN POSITION and IN SAFE REPAIR.
WARNING SIGNS
Maintain all warning signs in a legible condition and obey all warnings. See Page 3 of this manual for examples of warning signs.
Lubrication
The drive chain is pre-lubricated from the manufacturer by a hot dipping process that ensures total lubrication of all components. However, continued proper lubrication will greatly extend the useful life of every drive chain.
Drive Chain lubrication serves several purposes including:
- Protecting against wear of the pin-bushing joint
- Lubricating chain-sprocket contact surfaces
- Preventing rust or corrosion
For normal operating environments, lubricate every 2080 hours of operation or every 6 months, whichever comes first. Lubricate with a good grade of non-detergent petroleum or synthetic lubricant (i.e., Mobile 1 Synthetic). For best results, always use a brush to generously lubricate the chain. The proper viscosity of lubricant greatly affects its ability to flow into the internal areas of the chain. Refer to the table below for the proper viscosity of lubricant for your application.
| Ambient Temperature Degrees F | SAE | ISO |
| 20-40 | 20 | 46 or 68 |
| 40-100 | 30 | 100 |
| 100-120 | 40 | 150 |
The drive chain’s lubrication requirement is greatly affected by the operating conditions. For harsh conditions such as damp environments, dusty environments, excessive speeds, or elevated temperatures, it is best to lubricate more frequently. It may be best, under these conditions, to develop a custom lubrication schedule for your specific application. A custom lubrication schedule may be developed by inspecting the drive chain on regular time intervals for sufficient lubrication. Once the time interval is determined at which the chain is not sufficiently lubricated, lubricate it and schedule the future lubrication intervals accordingly.
Drive Chain Alignment and Tension
The drive chain and sprockets should be checked periodically for proper tension and alignment. Improper adjustment will cause extensive wear to the drive components.
TO MAKE ADJUSTMENTS
- Remove chain guard.
- Check sprocket alignment by placing a straightedge across the face of both sprockets (Figure 13A). Loosen set screws and adjust as needed. Re-tighten set screws.
- To adjust chain tension, loosen four bolts that fasten motor base to drive support channels (two on each side) and allow the drive assembly to slide downward. The weight of the drive will normally apply enough tension for proper operation. (Figure 13B). Re-tighten mounting bolts.
- Lubricate chain per lubrication instructions.
- Replace chain guard so that it does not interfere with drive.
CAUTION!
Never remove chain guards while the conveyor is running. Always replace guards after adjustments are made.

Trouble Shooting
The following chart list possible problems that may occur in the operation of the conveyor.
| TROUBLE | CAUSE | SOLUTION | ||||||
| Conveyor frequently. | will | not | start | or | motor | quits |
|
|
| Drive chain and sprockets wear excessively. |
|
| ||||||
| Loud popping or grinding noise in bearing. |
|
| ||||||
| Motor or reducer overheating. |
|
| ||||||
Preventive Maintenance Checklist
The following is a general maintenance checklist which covers the major components of your conveyor.
This will be helpful in establishing a standard maintenance schedule.
| COMPONENT | SUGGESTED ACTION | SCHEDULE | ||
| Weekly | Monthly | Quarterly | ||
| MOTOR | Check Noise | |||
| Check Temperature | ||||
| Check Mounting Bolts | ||||
| REDUCER | Check Noise | |||
| Check Temperature | ||||
| Check Oil Level | ||||
| DRIVE CHAIN | Check Tension | |||
| Lubricate Chain | ||||
| Check For Wear | ||||
| SPROCKETS AND ROLLERS | Check Sprocket Alignment | |||
| Check For Wear | ||||
| Check Noise (Bearings) | ||||
| Check Bearing Lubrication | ||||
| STRUCTURAL | General Check: All loose bolts, etc., tightened | |||
NOTE: Check Set Screws after the first 24 Hours of operation.
How to Order Replacement Parts
Included in this manual are parts drawings with complete replacement parts lists. Minor fasteners, such as nuts and bolts, are not included.
When ordering replacement parts:
- Contact Dealer from whom conveyor was purchased or nearest HYTROL Distributor.
- Give Conveyor Model Number and Serial Number or HYTROL Factory Order Number.
- Give Part Number and complete description from Parts List.
- Give type of drive. Example—8” End Drive, 8” Center Drive, etc.
- If you are in a breakdown situation, tell us.

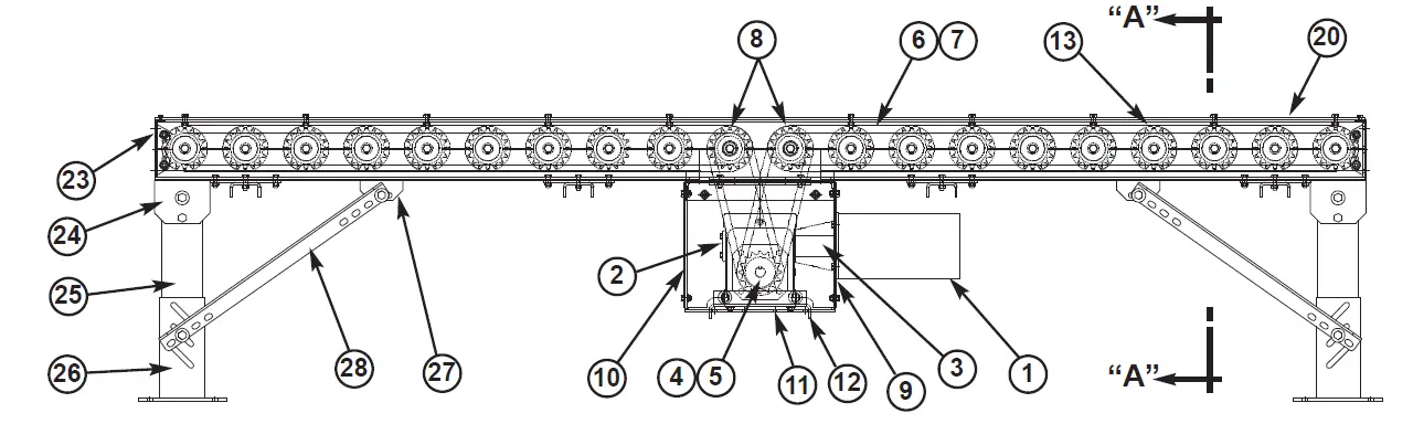
Model 25/26-CRR Parts Drawing 


Model 25/26-CRR Parts List
See Page 16 for Information on How To Order
Replacement Part
Recommended Spare Parts List Highlighted In Gray
| Ref No. | Part No | Description |
| 1 — — | — 030.7324 030.7534 | Motor – C-Face 1 HP 230/460 VAC-3Ph.- 60 Hz. – TEFC 2 HP 230/460 VAC-3Ph.- 60 Hz. – TEFC |
| 2 — — — — — | — R-00153-30R R-00153-40R R-00164-30R R-00164-40R R-00173-40R | Speed Reducer 4AC-RH-30:1 Ratio (#40 Chain) 4AC-RH-40:1 Ratio (#50 Chain) 5AC-RH-30:1 Ratio (#40 Chain) 5AC-RH-40:1 Ratio (#50 Chain) 5AC-RH-40:1 Ratio (#60 Chain) |
| 3 — — | — 052.145 052.146 | Coupling Kit-Motor to Reducer 1 HP 2 HP |
| 4 — — — — — — — — — — — | — 026.121 026.122 028.604 B-07556-19 028.624 | Sprocket-Reducer 2.5 Drive Roller 40B16 x 1 in. Bore (4AC w/#40 Drive Chain) 40B16 x 1-1/4 in. Bore (5AC w/#40 Drive Chain) 50DS19 x 1 in. Bore (4AC w/#50 Drive Chain) 50DS19 x 1-1/4 in. Bore (5AC w/#50 Drive Chain) 60DS17 x 1-1/4 in. Bore (5AC w/#60 Drive Chain) |
| — 026.121 026.122 028.603 B-07556-18 028.623 | Sprocket-Reducer 2.6 Drive Roller 40B16 x 1 in. Bore (4AC w/#40 Drive Chain) 40B16 x 1-1/4 in. Bore (5AC w/#40 Drive Chain) 50DS18 x 1in. Bore (4AC w/#50 Drive Chain) 50DS18 x 1-1/4 in. Bore (5AC w/#50 Drive Chain) 60DS16 x 1-1/4 in. Bore (5AC w/#60 Drive Chain) | |
| 5 6 — — — | 090.203 — 029.100 029.101 029.102 | Shaft Key-1/4 in. Sq. x 1 in Long Chain #40 Riveted Roller Chain #50 Riveted Roller Chain #60 Riveted Roller Chain |
| 7 — — — | — 029.200 029.201 029.202 | Connector Link #40 Roller Chain #50 Roller Chain #60 Roller Chain |
| 8 — — — — — — | — S-05732 S-05733 S-05734 S-05735 S-05736 S-05737 | Drive Roller 2.5 in. Dia. #40 Chian (Specify BR) 2.5 in. Dia. #50 Chian (Specify BR) 2.5 in. Dia. #60 Chian (Specify BR) 2.6 in. Dia. #40 Chian (Specify BR) 2.6 in. Dia. #50 Chian (Specify BR) 2.6 in. Dia. #60 Chian (Specify BR) |
| 9 10 11 | PT-074966-L PT-074966-R PT-075045 | Chain Guard-Left Side 4 in. Thru 7-1/2 in. Roller Centers Chain Guard-Right Side 4 in. Thru 7-1/2 in. Roller Centers Drive Channel Assembly |
| 12 — — | B-07481 B-07482 | Motor Base Plate 19 in. thru 21 in. BR (Specify) 23 in. thru 67 in. BR (Specify) |
| 13 — — — — — — | — B-15261 B-03805 B-04925 B-16809 B-03816 B-04926 | Tread Roller 2.5 in. Dia. #40 Chian (Specify BR) 2.5 in. Dia. #50 Chian (Specify BR) 2.5 in. Dia. #60 Chian (Specify BR) 2.6 in. Dia. #40 Chian (Specify BR) 2.6 in. Dia. #50 Chian (Specify BR) 2.6 in. Dia. #60 Chian (Specify BR) |
| Ref No. | Part No | Description |
| 14 — — — — 15 | — PT-074749 PT-077118 PT-077439 P-00523 PT-074759 | Drive Side Channel (6 in. Tall Channel) 4 in. Roller Centers (Specify Length) 5 in. Roller Centers (Specify Length) 6 in. Roller Centers (Specify Length) 7-1/2 in. Roller Centers (Specify Length) Butt Coupling (6 in. Tall Channel) |
| 16 — — — — 17 | — PT-074758 PT-077119 PT-077440 P-00524 PT-074760 | Side Channel (4 in. Tall Channel) 4 in. Roller Centers (Specify Length) 5 in. Roller Centers (Specify Length) 6 in. Roller Centers (Specify Length) 7-1/2 in. Roller Centers (Specify Length) Butt Coupling (4 in. Tall Channel) |
| 18 19 | B-25354 B-25355 | Bed Spacer Channel (Specify BR) Brace Plate |
| 20 — — — — | — P-00513 P-00514 P-00518 P-00522 | Chain Guard 4 in. Roller Centers (Specify Length) 5 in. Roller Centers (Specify Length) 6 in. Roller Centers (Specify Length) 7-1/2 in. Roller Centers (Specify Length) |
| 21 — — — — | — B-22917 PT-077120 B-25353 P-00525 | Chain Return 4 in. Roller Centers (Specify Length) 5 in. Roller Centers (Specify Length) 6 in. Roller Centers (Specify Length) 7-1/2 in. Roller Centers (Specify Length) |
| 22 — — — — | — PT-074931 PT-077124 PT-077442 PT-077526 | Chain Return Cover 4 in. Roller Centers 5 in. Roller Centers 6 in. Roller Centers 7-1/2 in. Roller Centers |
| 23 — — | — B-17615 B-03815 | Chain Guard End Cap 4 in. Roller Centers 5 Thru 7-1/2 in. Roller Centers |
| 24 — — | — B-11848 B-11491 | HSA Type Pivot Plate 1-11/16 in. Flange 2-1/4 in. High 4-1/2 in. High |
| 25 — — — — — — — — — — — — | — G-00608 G-00609 G-00610 G-00616 G-00617 G-00618 | Floor Support Frame 4-1/2 in. High (Specify OAW) 6 in. High (Specify OAW) 9 in. High (Specify OAW) 12 in. High (Specify OAW) 15 in. High (Specify OAW) 18 in. High (Specify OAW) |
| G-00619 G-00620 G-00621 G-00622 G-00623 G-00624 | 24 in. High (Specify OAW) 30 in. High (Specify OAW) 42 in. High (Specify OAW) 54 in. High (Specify OAW) 66 in. High (Specify OAW) 78 in. High (Specify OAW) | |
| 26 — — — — — | — G-00612 G-00611 G-00613 G-00614 G-00615 | Adjustable Foot Assembly 3-3/4 in. High 5-1/8 in. High 7-1/4 in. High 10-1/4 in. High 18-3/8 in. High |
| 27 28 | G-00793 G-00794 | Knee Brace Bracket Knee Brace Angle (Specify Length) |
“Building Relationships One Conveyor Part at a Time” [email protected] | www.HytrolParts.com
Use code HYPMANUAL for free shipping on your first order at HytrolParts.com


















