Lifestyle 1030424 Cordless Roller Shades

Product Information
The Lifestyle Roller Shades are a type of window covering that can be operated cordlessly. They are available in two types – Open Roll and Clutch Operated with Open Roll. The shades can be installed in two ways – Inside Mount (IB) or Outside Mount (OB). The shades come with installation brackets, screw covers, and fascia brackets (if applicable). The Cordless Operated shades come with a tensioner that allows the user to adjust the length and tension of the shade. The Deco Fascia is an optional accessory that can be installed to cover the installation brackets and give a finished look to the shade.
Product Usage Instructions
Installation Instructions
- Install the Brackets: For both Cordless Operated and Clutch Operated shades, the installation brackets need to be secured using the supplied screws. If the shade is being installed as Outside Mount (OB), attach the supplied screw covers onto the bracket for a finished look. If installing Clutch Operated with Deco Fascia shade as Outside Mount (OB), use T-Bracket installation and space brackets evenly.
- Install the Shade: After installing the brackets, install the shade onto the brackets. For Cordless Operated shades, ensure that the red plastic clip is not removed before installing the bracket as it will disengage once the bracket is installed.
- Install the Bracket Covers (if applicable): If installing Deco Fascia, do not attach it until after the shade has been installed. Once installed, install the bracket covers if applicable.
- Install the Deco Fascia: If installing Deco Fascia, install it after installing the shade and bracket covers (if applicable).
- Install the Returns (Optional): If installing Metal returns (Outside mount only), they include a plastic corner connector. For Plastic returns (Inside mount with Outside Mounted fascia), they snap on the end of the fascia.
Product Operate the Cordless Shade
Adjust the Tensioner: To operate the Cordless Operated shade, pull the bottom handle and let go to lock it into the desired length. To adjust the tension or speed, turn the left side wheel towards the back of the shade to lower tension or speed. To add tension or speed, turn the left side wheel towards the front of the shade while holding the bottom rail. To shorten the length of the shade, turn the right side wheel towards the front of the shade. To lengthen the shade, turn the right side wheel towards the back of the shade.
Overview
Open Roll

Deco Fascia

Cordless Operated with Open Roll
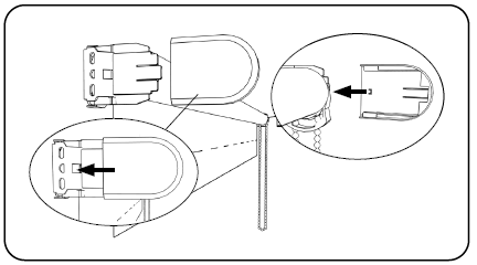
Install the Brackets

- Secure the roller shade installation brackets with the supplied screws.
- If shade was ordered as outside mount (OB), attach the supplied screw covers on to the bracket for a finished look.
Install the Shade

- DO NOT REMOVE THE RED PLASTIC CLIP. IT WILL DISENGAGE ONCE THE BRACKET HAS BEEN INSTALLED.
Install the Bracket Covers (if applicable)

Cordless Operated with Deco Fascia
Install the Fascia Brackets

- Outside mount (OB) requires a T-Bracket installation. Space brackets evenly.
- Note: Do not attach the Deco Fascia until the shade has been installed.
Install the Brackets

- Secure the roller shade installation brackets with the supplied screws.
- If shade was ordered as outside mount (OB), attach the supplied screw covers on to the bracket for a finished look.
Install the Shade

- DO NOT REMOVE THE RED PLASTIC CLIP. IT WILL DISENGAGE ONCE THE BRACKET HAS BEEN INSTALLED.
Install the Deco Fascia

- Inside Mount (IB)

- Outside Mount (OB)
Install the Returns (Optional)

- Metal returns (Outside mount only) include a plastic corner connector.
- Plastic returns (Inside mount with Outside Mounted fascia) snap on the end of the fascia.
Operate the Cordless Shade

- Pull the bottom handle and let go to lock it into the desired length.
Adjust the Tensioner

- To lower tension or speed, turn the left side wheel towards the back of the shade. To add tension or speed, turn the left side wheel towards the front of the shade while holding the bottom rail.
- To shorten the length of the shade, turn the right side wheel towards the front of the shade. To lengthen the shade, turn the right side wheel towards the back of the shade.
Clutch Operated with Open Roll
Install the Brackets

- Secure the roller shade installation brackets with the supplied screws.
- If shade was ordered as outside mount (OB), attach the supplied screw covers on to the bracket for a finished look.
Install the Shade

Install the Bracket Covers (if applicable)

Clutch Operated with Deco Fascia
Install the Fascia Brackets

- Outside mount (OB) requires a T-Bracket installation. Space brackets evenly.
- Note: Do not attach the Deco Fascia until the shade has been installed.
Install the Brackets

- Secure the roller shade installation brackets with the supplied screws.
- If shade was ordered as outside mount (OB), attach the supplied screw covers on to the bracket for a finished look.
Install the Shade

Install the Deco Fascia

- Inside Mount (IB)

- Outside Mount (OB)
Install the Returns (Optional)

- Metal returns (Outside mount only) include a plastic corner connector.
- Plastic returns (Inside mount with Outside Mounted fascia) snap on the end of the fascia.
Set the Limits

- Upper Limit, pull the back chain until the desired upper position. Then, snap the chain stop to the bead just below the clutch.
- Lower Limit, pull the front chain until the desired lower position. Then, snap the chain stop to the bead just below the clutch.
Install the Safety Tension Device

- Slide device down to the bottom of the bead chain and pull down until the chain is taut on both sides. Mark the screw hole and install the device with the screws provided.
Child Safety
- Young children can STRANGLE in cord loops and in the loop above the cord stop. They can also wrap cords around their necks and STRANGLE.
- Always keep cords out of children’s reach.
- Move cribs, playpens and other furniture away from cords.Children can climb furniture to get to cords.
- Do not tie cords together.
- Make sure cords do not twist together and create a loop.
Warning: Window Blind Cord Can STRANGLE Your Child. To prevent strangulation, purchase cordless products or products with inaccessible cords.
Beaded Cord Loop Shades

- Attach the tensioner to the wall or window casement. See Install the Safety Tension Device.This can prevent children from pulling cord loops around their necks.
- A tensioner installation kit with instructions for attaching the tensioner is provided.For the shade to operate properly, the tensioner must be correctly mounted and secured.See tensioner instructions provided for details.
- Only the supplied tensioner(s) and hardware should be used.
Important: Prior to installing the shade, pair the remote using the instructions included with the remote. Do not set the upper and lower limits until the shade is
installed.
Motorized with Open Roll
Install the Brackets

- Secure the roller shade installation brackets with the supplied screws.
- If shade was ordered as outside mount (OB), attach the supplied screw covers on to the bracket for a finished look.
Install the Shade

Install the Bracket Covers (if applicable)

Motorized with Deco Fascia
Install the Fascia Brackets

- Outside mount (OB) requires a T-Bracket installation. Space brackets evenly.
- Note: Do not attach the Deco Fascia until the shade has been installed.
Install the Brackets

- Secure the roller shade installation brackets with the supplied screws.
- If shade was ordered as outside mount (OB), attach the supplied screw covers on to the bracket for a finished look.
Install the Shade

Install the Deco Fascia
- Inside Mount (IB)

- Outside Mount (OB)

Install the Returns (Optional)

- Metal returns (Outside mount only) include a plastic corner connector.
- Plastic returns (Inside mount with Outside Mounted fascia) snap on the end of the fascia.



















