Cordless Roller Shade and Roller Window Blinds
Installation Guide
ATTENTION!!! READ CAREFULLY!
This shade has a reliable long-lasting Spring Motor. The Spring Motor must have proper tension in order to function as intended. Handling in transit can affect spring tension. Therefore, please give special attention to Step 4 of these instructions to optimize the performance of your shade.
Step 1. Check Package Contents. Missing part? Call 888-257-1840
Mounting hardware kit includes the following:
| Part | Quantity |
| a. Shade | 1 |
| b. Slat for Hem Pocket | 1 |
| c. Brackets | 2 |
| d. Mounting Screws | 4 |
| e. Plastic Anchors | 4 (For Drywall or Plaster Mounting) |

Step 2. Tools required
Screwdriver, tape measure, pencil, drill*, step ladder.
* Use 3/32” drill bit to predrill screw holes
- Use 1/4” drill bit for wall anchors
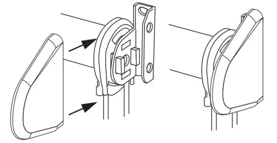
Step 3. Bracket Location and Installation
Your window shade can be installed either inside the window frame or outside the window frame or on the ceiling. When measuring and installing shades, make sure there is a “play” between the roller and the brackets. Shades mounted too tight in the brackets will not function properly. Attach brackets to the inside or outside of the casing or to the ceiling. The slotted bracket goes on the left side, the bracket with holes on the right.
For Outside Mounting / Ceiling Mount:
Hold the shade to the desired position, making sure it is level, and place pencil marks at the base of the pin at each end of the roller. Secure brackets. For outside mount, insert the round pin end into the inner hole of the right bracket. For ceiling mount, insert the pin into the outer hole. Then insert the other end of the shade into the slot of the left bracket.

For Inside Mounting:
Allow 1/4” clearance between the top of the frame and fully rolled-up shade. This will provide enough clearance to lift shade into the slotted bracket. Spring-loaded tip provides up to 3/8” extra width if needed. Always insert the pin end into the right side bracket first. If the brackets are installed as illustrated (facing out), place the pin into the inner hole of the right bracket. If the brackets are installed facing down (like Ceiling Mount), place the pin into the outer hole of the right bracket. Push into the bracket to compress the spring, then place the metal tab on the left side of the shade into the slot of the left bracket. For standard shades, the slotted bracket goes on the left side, the bracket with holes on the right. For reverse-roll shades (inside mount only!), the slotted bracket goes on the right, and the open part of the bracket must face the window – the bracket can be mounted to the top or side of the window frame.
Reverse Roll Mounting:
For reverse-roll shades (inside mount only!), the slotted bracket goes on the right, and the open part of the bracket must face the window – the bracket should be mounted to the top of the window frame [see illustration].

Standard Shades [the shade cloth rolls off the back of the shade] – slotted bracket goes on the left side of the window, and the slot opening faces up or out, toward the room.

(Inside Mount Only!)
Reverse Roll Shades [the shade cloth rolls off the front of the shade] – the slotted bracket goes on the right side of the window opening, and the slot opening faces back toward the window.
Step 4. Adjust Spring Tension
Spring Tension should be adjusted to assure best performance and to suit personal preference.
The tension on the spring should be neither too loose nor too tight. When a window shade refuses to roll up, the spring is too loose. When it won’t stay down the roller spring is too tight.
To Increase Tension: lower the shade about 18 inches from the top, and then remove it from the brackets. Roll-Up the shade all the way to the top by hand, and then place the shade back into the brackets as described in Step 3. Repeat as often as necessary to achieve the desired tension.
Caution: over-winding may result in permanent damage to the spring motor. To Decrease Tension: remove the shade from the brackets, then unroll about 18 inches of shade material, and then place the shade back into the brackets as described in Step 3. Repeat as often as necessary to achieve the desired tension.
Step 5. How to Operate
If this shade does not roll straight, correct as follows:
Make sure brackets are mounted level, or the shade will not roll straight.
If shade veers toward the right, correct by lowering shade completely and placing a piece of tape (multiple pieces may be necessary) as close to the left edge of the roller as possible. It will act as a shim.

If shade veers toward the left, correct by lowering shade completely and placing a piece of tape (multiple pieces may be necessary) as close to the right edge of the roller as possible. It will act as a shim.
Cleaning your Blinds
Cleans easily with a damp sponge or soft cloth. Allow the shade to hang its full length for a minimum of 72 hours to minimize wrinkles and creases.
Standard Cord Control Roller Shade
Tools required
Tape measure, pencil, drill, drill bits, screwdriver, step stool.

Note: use a 5/64” drill bit to pre-drill the screw holes (for attachment to a wall stud or header board). Use a 1/4” drill bit for plastic anchors (for hollow drywall or plaster mounting).
Step 1. Mount the Brackets
Attach the brackets to the window frame, molding or ceiling. The bracket for the cord control end of the shade has a post that fits into the end of the cord mechanism (see illustration). The other bracket is for the pin end of the shade. Mark the screw locations with a pencil – pre-drill the screw holes using a 5/64” drill bit. If mounting to hollow drywall, use the wall anchors provided – pre-drill the holes with a ¼” drill bit.

Step 2. Install the Shade
Push the cord control mechanism onto the bracket post such that the cord hangs straight down. Slide the pin end of the shade into its bracket from the front such that it rests in the center recess.
Step 3. Attach the Safety Cord Guide
The cord guide must be attached per these instructions in order for your shade to function properly. The Cord Guide is pre-attached to the Cord Control, and
must be attached inside or outside the window opening, to the window frame or wall as you prefer.
The base of the Cord Guide can be attached vertically, horizontally or at an angle. Note that the ‘U’ shaped guide that the chain passes through swivels and can be set in any position to facilitate smooth operation.
Attach the Cord Guide with the 1-1/4” screws provided. Pre-drill the screw holes using a 3/32” drill bit if mounting to a solid surface.
If the Cord Guide is attached to hollow drywall, please use the wall anchors provided. Use a ¼” drill bit to drill the holes for the anchors.
DO NOT PUT TENSION ON THE CORD/BEAD CHAIN!

Install the Cord Guide such that the cord hangs loosely – this optimizes the performance of the clutch, and assures that the Cord Connector will pass through the Cord Guide with relative ease. Do not twist or cross the control cord/bead chain. In order to position the base properly, adjust the cord so that the Cord Guide is at the bottom of the cord loop and let it hang freely. Compress the spring by hand so that the chain moves freely through the ‘U’ channel.
Hold the tension device and the bracket against the window frame or wall and then move it upward at least ¼” – mark the position of the bracket (mark the
location of the screw holes with a pencil). Insert and secure two screws through the holes in the base of the Cord Guide.
Step 4. Operating the Shade
Pulling gently on the cord in one direction lifts the shade; pulling it in the other direction lowers it.
Cleaning the Shades
Dusting: Vacuum using the soft brush attachment.
Washing: Use a cloth, sponge, or soft brush and a mild detergent. Use warm or cold water, not hot water. Place toweling on the floor or window sill and wash the blind in sections.
Tools Required:
Tape measure, pencil, drill, drill bits, screwdriver, step stool.

Note: use a 5/64” drill bit to pre-drill the screw holes (for attachment to a wall stud or header board). Use a 1/4” drill bit for plastic anchors (for hollow dry wall or plaster mounting).
Step 1. Mount the Brackets
attach the brackets to the window frame, molding or ceiling as shown. The brackets are “universal” – there are no “right” and “left” brackets. Mark the screw locations with a pencil – pre-drill the screw holes using a 5/64” drill bit.

Step 2. Install the Shade
Put the spring-loaded pin into the round hole of the bracket, push the spring-loaded tip into the bracket, and then insert the hook arms on the opposite side of the shade into the two hook arm receiver holes of the bracket. Once the two hook arms are through the holes, gently pull down until the two hook arms have locked securely to the bracket.
For cord control shades, the bottom of the clutch should always point straight down.

Step 3. Install the Bracket Covers – For Outside Mount Shades Only!
Bracket covers slide onto the brackets as shown until they snap into position.

Step 4. Attach the Safety Cord Guide
The cord guide must be attached per these instructions in order for your shade to function properly. The Cord Guide is pre-attached to the Cord Control and must be attached inside or outside the window opening, to the window frame or wall as you prefer.
The base of the Cord Guide can be attached vertically, horizontally or at an angle. Note that the ‘U’ shaped guide that the chain passes through swivels and can be set in any position to facilitate smooth operation.
Attach the Cord Guide with the 1-1/4” screws provided. Pre-drill the screw holes using a 3/32” drill bit if mounting to a solid surface.
If the Cord Guide is attached to hollow drywall, please use the wall anchors provided. Use a ¼” drill bit to drill the holes for the anchors.
DO NOT PUT TENSION ON THE CORD/BEAD CHAIN!

Install the Cord Guide such that the cord hangs loosely – this optimizes the performance of the clutch, and assures that the Cord Connector will pass through the Cord Guide with relative ease. Do not twist or cross the control cord/bead chain. In order to position the base properly, adjust the cord so that the Cord Guide is at the bottom of the cord loop and let it hang freely. Compress the spring by hand so that the chain moves freely through the ‘U’ channel.
Hold the tension device and the bracket against the window frame or wall and then move it upward at least ¼” – mark the position of the bracket (mark the location of the screw holes with a pencil). Insert and secure two screws through the holes in the base of the Cord Guide.
Step 5. Operating the Shade
Cordless Shades
Raise the Shade: Grip the center of the bottom hem (do not release your grip until you have set the shade at the desired height) – pull the shade away from the window sill, if necessary – pull straight down to release the spring motor that controls the movement of the shade – allow it to rise to any desired point, then pull down gently to stop/set the shade.
Lower the Shade: pull straight down and stop/set the shade as described above.
Adjusting Spring Roller Tension: to tighten (increase tension!), lower the shade about 18” from the top, and then remove the shade from the window brackets. Roll up the shade by hand, and then replace in the brackets. Repeat as necessary to get the desired tension.
To loosen (decrease tension!), raise the shade to the top, and then remove the shade from the brackets. Unroll the shade about 18”, and then replace it in the brackets.
The spring roller should not be too tight. Remember, when the window shade will not roll up, the spring is too loose. When it won’t stay down, the roller spring is too tight.
Caution: over-winding may result in permanent damage.
Cord Control Shades
Pulling gently on the cord in one direction raises the shade; pulling it in the other direction lowers it. On shades where the fabric rolls against the window, the front cord lifts the shade. On shades where the fabric rolls toward the room, the rear cord lifts the shade.
Motorized Shades
See the separate sheet of instructions that describes the programming of the remote control(s).
Step 6. Hold-Down Fasteners for Outdoor Shades
If you purchased a shade for outdoor use, Reclosable Snap-Together Fasteners are included to help control the movement of the shade in windy conditions.
Peel the cover from one side of each fastener set to expose the adhesive.
Attach both to the bottom hem of the shade. Then peel the cover from the other side and attach it to the sill or wall to hold the bottom of the shade in place. Pull the hem away from the sill/wall to separate the fasteners. Press in place to re-attach. If your shade has a decorative external hem bar, cut the fasteners in half lengthwise, and then attach them to the hem bar.

Cleaning the Shades
Dusting: Vacuum using the soft brush attachment.
Washing: Use a cloth, sponge or soft brush and a mild detergent. Use warm or cold water, not hot water. Place toweling on the floor or window sill and wash the blind in sections.
Cassette Valance System
Step 1. Mount The Brackets
Mount the brackets to the wall or window frame, with the outside brackets no further than 2 inches (50mm) from the ends of the headrail. On wide shades, space the additional bracket(s) at equal intervals.

Cassette 80
For wall or outside mounts,
use the rear bracket holes.
Make sure the release tab is always mounted on the bottom.
For inside ceiling mounts,
use the top bracket holes.
Make sure the release tab is always mounted on the bottom
Mount the headrail. Position the headrail with the front panel (A) resting on the top lip of the brackets. Push the bottom front of the headrail firmly backwards and toward the window until the lip on the rear of the headrail engages the bracket and snaps into place, (B) as shown.

Cassette 120
For wall or outside mounts,
use the rear bracket holes.
Make sure the release tab is always mounted on the top.
For inside ceiling mounts,
use the top bracket holes.
Make sure the release tab is always mounted on the top
Mount the headrail. Position the headrail with the back panel (A) resting on both bottom hooks of all brackets. Push the front of the headrail firmly upwards and toward the window until the groove at the top of the headrail snaps into place, (B) as shown.

Step 2. Removing the Shade
Cassette 80: From the bottom rear of the headrail, insert a flathead screwdriver in between the headrail and release the tab. Gently twist the screwdriver and pry open the bracket to release the headrail. As you release the brackets, support the headrail to keep it from falling.
Cassette 120: from the top of the headrail insert a flathead screwdriver in between the headrail and release the tab. Gently twist the screwdriver and pry open the bracket to release the headrail. As you release the brackets, support the headrail to keep it from falling.
REPLACEMENT PARTS
In the event that replacement parts are ever needed, you may call: 1-800-264-1190
Please be sure to provide the following information, if possible:
- The complete model or catalog number of your product
- A description of the product
- A description of the part needed
LIMITED LIFETIME WARRANTY
Lifetime: Entire product against manufacturing defects (i.e. a flaw in the product design, materials or workmanship that causes the product to no longer function).
5 Years: All fabric
Not Covered: Normal Wear and Tear. Any product that fails due to: • abuse • exposure to salt air • improper installation • accident • extraordinary use • improper operation • alteration • improper cleaning • misapplication • damage from pests/insects/pets • improper handling • misuse
Costs associated with:
• product removal • transportation to and from the retailer • brand label removal • product re-measure • incidental or consequential damages • product reinstallation • shipping
To Report Shipping Damage
If damage occurred during shipping, call the place of purchase and report within 7 calendar days or else you may be denied credit for your damaged product.
To Obtain Service
If you suspect that this Phase II product has a manufacturing defect in materials or workmanship:
- Locate the sales receipt
- Call place of purchase
Any unauthorized returns will not be accepted.
Warranty Remedy
THIS SHALL BE YOUR SOLE REMEDY UNDER THIS LIMITED WARRANTY.
If this product is found to have a manufacturing defect in materials or workmanship, we will, at our discretion, do one of the following:
- repair the product
- replace the product
- refund the cost of the product
Color
Colors vary from lot to lot and may not exactly match sample swatches or previous purchases.
Discontinued items or color selections will be replaced with the closest equivalent current product.
YOUR RIGHTS UNDER STATE LAW
This lifetime limited warranty gives you specific legal rights, and you may have other rights, which vary from state to state. Some states do not allow
limitations on how long a warranty lasts, so the above limitations may not apply to you.
No agent, representative, dealer or unauthorized employee has the authority to increase or alter the obligation of this warranty. This lifetime limited warranty supersedes any previous versions.

Smart WiFi Hub Instructions
- Download & Install the “P2 POWERMATE” APP on your cellphone
1. Search for “P2 POWERMATE” on the App Store or Google play - Download “P2 POWERMATE” and install the APP on your phone
2. Register and log in to the P2 POWERMATE APP
- When the installation is complete open P2 POWERMATE
- Create an account using your e-mail address – enter a password that should include letters and numbers only, no signs or special characters
- Login into your account (after the account is established you will log in to the APP directly)
3. Link the P2 POWERMATE hub to the POWERMATE APP
- Choose ”Add device” on desktop

- Choose P2 POWERMATE Smart Hub

- Choose “Allone Pro”

- Power on the P2 POWERMATE hub

- Press and hold the central button on the hub until the circular light turns RED and Flashes


- Choose “Next” on the P2 POWERMATE APP

- Choose “Join” to enable the hub to access your Wi-Fi network
Tip: Make sure your network is available, not restricted to assure access
- Select your Wi-Fi network and input your Wi-Fi password


- The P2 POWERMATE hub will connect to your Wi-Fi network automatically. When you see “Added successfully” on the P2 POWERMATE APP, choose “Done”

- The APP is linked to the P2 POWERMATE hub when Allone Pro appears on the desktop

4. Add your shades to the P2 POWERMATE APP
- Choose “Allone Pro” on the APP desktop

- Choose “+ Add” at the menus bottom right corner

- Choose “Motor” device

- Now press the “programming button” on the motorhead for 1 second – the shade will oscillate one time. Then tap “pairing” on P2 POWERMATE APP. If the shade is successfully added to the APP, the shade will oscillate one more time.
If not, repeat the step 4 operation.
- Choose “Response has been stored” when the shade is successfully added to APP.

- The shade has been added to the P2 POWERMATE APP. Confirm that you can now control the shade using the APP, and then proceed to add additional shades if applicable.

5. Family “Member Permission” management
Note that the set-up account is the one and only administrator – only the administrator’s login can make changes to the APP. However, the administrator account can add family members with their own ID, and they can then control the shades from their phones or tablets.
- Choose ”Me” on the P2 POWERMATE desktop, and then Select “family Management” menu

- Choose “Member Permission”

- Tap “+” family members at the top right corner of the screen

- Input your family “Account e-mail address” then go to the bottom, send an invitation to your family member

- When your family member receives and accepts the invitation, the Administration account shows the family QR Code that the family member will scan The family member taps “+” at the top right corner, and chooses “Add to an existing family”. Choose “scan the family’s QR code to join it”, and then scan the code n the administrator’s screen.

6.” Siri Shortcut” Voice Command Management
- Choose ”Scenes” on the P2 POWERMATE desktop. Create a scene.

- Slide the “scene” icon to left, and then choose “Edit” scene

- Add Execution Task

- Choose “Device” and then select the shade you want to add to this scene

- Choose an “Action” for the shade you selected. Then Add to Siri.

- In the Add to Siri menu, you can edit the “Siri shortcut command”. For example: “open shade in the bedroom”. After all tasks are set up, save the scene. Now you can let Siri control your shades.

7. Link to “Amazon Alexa” & “Google home” voice control device
- Login in your “Amazon Alexa” or “Google home” APP

- “Amazon Alexa” add “Skills & Games” “Google Home” add “Home control”

- Search “p2 Powermate”

- Choose “ENABLE TO USE”

- Input your “p2 Powermate” account and password, then sign in. Now P2 Powermate had been linked to your “Alexa” or “Google Home” voice control device.

Motorization Troubleshooting Guide
| PROBLEM | SOLUTION |
| Shade moving in the wrong direction. | Reset the motor to factory spec and erase all limits, then program from the beginning. |
| Shade not stopping at the desired height (reset limit). | Top limit can not be reset without erasing all limits and starting from the beginning. Take the shade to the incorrect limit, press and hold the program button on the back of the remote until the shade jogs. Move the shade to the desired height, then press and hold the program button until the shade Jogs again. The limit has been reset |
| The motor has no response to the remote. | Press and hold the program button on the head of the motor. See if it jogs. If it does, then walk through programming from the beginning, Check the antenna, make sure it is not kinked or touching metal. |
| Still not working. Plugin the motor. | See if the motor operates or can be programmed. |
| Switch motor to another channel. | If the remote already has 1 motor on the desired channel, but that motor in sleep mode and then erase the memory of the motor that is to be switched and Joined on another channel. Program the new channel and then wake the other motor up. |
| The motor begins to beep. Power is getting low. | Plugin the motor as soon as possible. If the power drops to zero voltage, the memory could be lost and the motor will have to be reprogrammed. |
1. Search for “P2 POWERMATE” on the App Store or Google play
















































