SelectBlinds SelectWave Vertical Blinds

SelectWave Vertical Blinds Install Guide
Thank you for purchasing your New SelectWave Vertical Blinds. We are confident you will be pleased with their sleek, modem look, easy operation and ease of installation. Please read the instructions below before beginning the installation process:
Package Includes
- A. H eadrail (assembled with control wand)
- B. S-Curve PVC Vanes
- C. Mounting Brackets
- D. Mounting Screws
- E. Valance

Unpacking Instructions
Only remove the Black Foam Stop from inside the headrail.
- DO NOT REMOVE ANY OTHER PARTS FROM HEAD RAIL BEFORE INSTALLING YOUR VERTICAL BLINDS.
STEP 1: Gather the tools you will need
- A. Tape Measure
- B. Electric Drill
- C. Pencil
- D. Phillips Screwdriver
- E. Pair of Scissors
STEP 2: Choose desired mounting method and follow instructions 3A or 3B
- A. OUTSIDE MOUNT: Mount on a vertical surface (wall, window, or door frame)
STEP 3A. The length of your blind is the exact distance from the top of your headrail to the bottom of the blade. Mark “HEIGHT” on wall at Vane Length plus(+) 2 inches.

STEP4A.
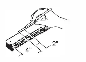
Center headrail over window at “HEIGHT” mark. Make about a 2″ long mark on wall about 4″ in from each end.
MAKE MARKS ON WALL FOR EVERY BRACKET, spaced evenly.
- Less than 48″ -2 BRACK TES
- 48.1 “-78” -3 BRACKTES
- 78.1 “-96” -4 BRACKTES
STEP 5A.
H old brackets up to 2″ marks and mark mounting holes on wall.
STEP 6A.
Drill holes at these marks. If mounting into drywall, push plastic wall anchors into holes. Screw brackets into place. U se two screws per bracket.
STEP 7A.
You need at least 2″ depth between the back of the headrail and wall, window or any obstruction such as window cranks or molding for proper rotation of vanes. To adjust, loosen adjusting screw and slide the clip out to get required clearance, then re-tighten adjusting screw.
With wand and vane clips on the left side for left stack, or on right side for right stack, snap headrail in place by inserting front edge in the mounting clips and rotating back.
IF YOU NEED TO REMOVE THE BLIND
To remove blind, release headrail by inserting a screwdriver between headrail and release tab on clip.
B. INSIDE MOUNT, Mounted on horizontal surface (ceiling or upper inside door/window frame)
STEP 3B:
Hold headrail up in place. Make about a 1″ long mark on inside of window frame about 4″ from each end. You may use front of headrail for a guide.
MAKE MARKS ON CEILING OR FRAME FOR EVERY CLIP, spaced evenly.
- Less than 48″ -2 CLIPS
- 48.1″-78″ -3 CLIPS
- 78.1″-96″ -4 CLIPS

STEP 4B:
The mounting clips will come to you attached to the mounting brackets. The brackets are not used with INSIDE MOUNT Installation. Loosen and remove the screw on the bottom of the bracket. Do this on all wall brackets. Discard brackets and adjusting screws and keep Just the clips
STEP SB:
Hold clip up to each mark you made on the ceiling or window frame so the front of the clip lines up with the mark. Mark where the hole in the clip is on the ceiling or window frame.
STEP 6B:
Drill holes at these marks. If mounting into drywall, push plastic wall anchors into the holes. Screw clip into place. Use one screw per clip.
STEP 7B:
With wand and blade clips on the left side for left stack., or on right side for right stack, snap headrail in place by inserting front edge in mounting clips and rotating back.
IF YOU NEED TO REMOVE THE BLIND To remove blind, release headrail by inserting a screwdriver between headrail and release tab on clip.
C. INSTALLING/REMOVING THE S-CURVE BLADES
INSTALLING
STEP Cl:
Rotate the wand control so that the carriers are in the “open blade” position, (perpendicular to the window or wall). Pull the wand control so that the carriers are evenly spaced along the track.
STEP C2:Hold the S-Curve Blade near the top and gently push the blade up into the holder and down to lock it on the hook. Attach the blade so all S-Curve blades face the same direction. Gently pull down on blade to insure it catches on stem hook.
REMOVING:
STEP C3: Rotate the cariers into the open position; push the S-Curve blade up to the end, and then pull the blade evenly out. You can also remove blades by inserting credit card between blade and long leg of stem.
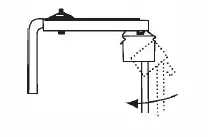
OPERATING INSTRUCTIONS
TO ROTATE the S-Curve blades, rotate the wand in the direction you want the blades to rotate. TO OPEN OR CLOSE THE BLADES: First rotate the blades open, then push or pull the wand to open (stack blades) or close (unstack blades)!
D. INSTALLING THE C-CURVED VALANCE
INSTALLING
- STEP DI: Use the valance clips (1) to snap the valance (2) onto the track.
- STEP D2: If you have three valance clips, one should be in the middle and the remaining two about 6 from the ends of the track. f you have four, space them evenly across the track.
- STEP D3: Clip the valance face onto the valance clips attached to the track.
- STEP D4: Insert C-Curved blade into your valance face and the same for each small side piece.
- STEP D5: To install and assemble the side pieces onto the valance face, attach the valance corner piece to both ends of the valance, then secure by inserting both side pieces.
CARE AND CLEANING
Clean with a clean, damp cloth and a mild detergent. A thin, diluted film of detergent left of the blades will help prohibit static electricity.
Enjoy your Beautiful, New S-Curve Vertical Blinds!





















