blinds2go Pleated Blinds

![]() | We’ve made a handy video version of this fitting guide, just click the play button to view it. If you prefer to print the instructions or simply to follow step-by-step, just keep reading. |
Fitting the brackets
The brackets offer two methods of installation:
Top-Fixing
Use the single hole in the top of the bracket to fix to the lintel (the ‘ceiling’ of the recess).
Face-Fixing
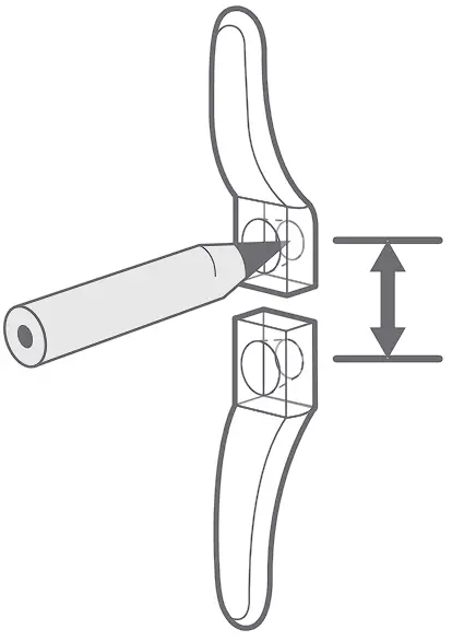
Use two screws through the back plate to mount onto a facing surface (a wall or window frame)

The outermost brackets should be mounted at least 5cm in from the ends of the blind. Any remaining brackets can be spaced evenly across the width of the blind.

For safety reasons, always ensure that the top of the blind is installed at least 150cm (1500mm) from the floor.
Fitting the blind

Situate the front lip of the headrail into the front of the bracket.

Push the back of the headrail upwards to lock it into the back of the bracket.

To release the blind from the brackets at any point after installing, push firmly against the blind’s headrail and twist the back of the headrail downwards to release it from the back of the brackets.
If you upgraded to a Click2Fit™ rail
![]() | We’ve even made a handy video guide for fitting your blind with a Click2Fit™ rail, check it out here or keep reading… |

Hold the Click2Fit™ rail up against the top of the recess, then push the lever firmly upwards until the rail snaps into place. If the rail is not quite tight enough then this can be easily adjusted:
![]() | At the end of the rail opposite to the lever there is an adjustment block that allows you to fine-tune the fitting of the rail. Use a flat-head screwdriver to twist the small red plugs in toward the centre of the rail. Slide the block out of the rail by a few millimetres, then twist the red plugs back into their original position to fix the block in place. Make small adjustments only, repeating as necessary for a tight fit. |

Friction plates are provided with the fittings, but these are only necessary if you find that the Click2Fit™ rail slips against the wall of your recess once the blind is fitted.

To fit them, peel the covers from the sticky pads on the back, then stick one to each end of the Click2Fit™ rail, as shown.
Fitting the blind Cord Condenser

A breakaway cord condenser is pre-fitted to the lift cords so that when a horizontal force is applied to the cords above the condenser, it safely breaks away, eliminating any hazardous loops.

If the cord condenser is pulled apart:
- Untwist the cords so that they’re nice and straight.
- Slot the cords into the channel in the centre of one half of the consenser. If your condenser differs slightly from the diagram, don’t worry, just slot any cords that aren’t already tied into place inside in the same way.
- Click the two halves back together, ensuring there is no loose thread trapped at the edges of the condenser.

Child Safety
![]() | Young children can be strangled by loops in pull cords, chains, tapes and inner cords that operate the product.![]() To avoid strangulation and entanglement, keep cords out of the reach of young children. Cords may become wrapped around a child’s neck. Move beds, cots and furniture away from window covering cords. Do not tie cords together. Make sure cords do not twist and create a loop. |
Cord Safety Cleat
The safety cleat shall be installed as close to the headrail as possible and in all cases not less than 1500mm from the floor. The cord must be fully accumulated around the safety cleat(s) when the blind is not in use. Use the table below to determine the distance required between the cleats to fully accumulate the cords when the blind is fully raised.
Drop of blind | *Distance between cord cleats (centre to centre) |
| 1-1000mm | 100mm |
1001-2000mm | 150mm |
| 2001-3000mm | 300mm |

Place the safety cleat in the desired position on the wall and mark the positions of the holes with a pencil.

Mark the hole positions and drill as required. Use the screws provided to attach the safety cleat to the wall.

Wrap the cords around the cord cleats in a figure of 8.
When the cords are fully accumulated, ensure they are secure so that when any cord is pulled, no excess cord is released.

























