B09PYCXK69 Cordless Roller Shades
Instruction Manual
FCC statement:
“This device complies with Part 15 of the FCC Rules. Operation is subject to the following two conditions: (1) this device may not cause harmful interference, and (2) this device must accept any interference received, including interference that may cause undesired operation.”
“This equipment has been tested and found to comply with the limits for a Class B digital device, pursuant to part 15 of the FCC Rules. These limits are designed to provide reasonable protection against harmful interference in a residential installation. This equipment generates, uses, and can radiate radio frequency energy and, if not installed and used in accordance with the instructions, may cause harmful interference to radio communications. However, there is no guarantee that interference will not occur in a particular installation. If this equipment does cause harmful interference to radio or television reception, which can be determined by turning the equipment off and on, the user is encouraged to try to correct the interference by one or more of the following measures:
- Reorient or relocate the receiving antenna.
- Increase the separation between the equipment and receiver.
- Connect the equipment into an outlet on a circuit different from that to which the receiver is connected.
- Consult the dealer or an experienced radio/TV technician for help.”
FCC Caution:
“Changes or modifications not expressly approved by the party responsible for compliance could void the user’s authority to operate the equipment.”
FCC RF Radiation Exposure Statement Caution: This Transmitter must be installed to provide a separation distance of at least 20 cm from all persons.
RSS-Gen & RSS-210 statement:
This device complies with Industry Canada licence-exempt RSS standard(s).
Operation is subject to the following two conditions: (1) this device may not cause interference, and (2) this device must accept any interference, including interference that may cause undesired operation of the device.
This equipment complies with Industry Canada radiation exposure limits set forth for an uncontrolled environment.
RSS-102 Statement:
“This equipment complies with Industry Canada radiation exposure limits set forth for an uncontrolled environment. “
- Please read the specification carefully before installation or use.
- Please install and adjust the product by professionals.
- Warning the user that the appliance must be disconnected from the source of supply before attempting the installation of the accessory.
Specifications
Blinds
Min Length: 60 cm / 23.6 inch
Max Length : 305 cm /120 inch
Min Width: 60 cm / 23.6 inch
Max Width : 140 cm / 55.1 inch
| Product model | C2002 |
| Wireless Protocol | Zigbee 3.0 (for gateway) and RF433Mhz (for the remote controller) |
| USB-C Charger Input | DC 5V/1A |
| Torque fore | 0.4Nm |
| RPM | 25 |
Remote control
| Product model | RS2004 |
| Modulation | ASK |
| Transmit frequency | 433.92MHz±75KHz |
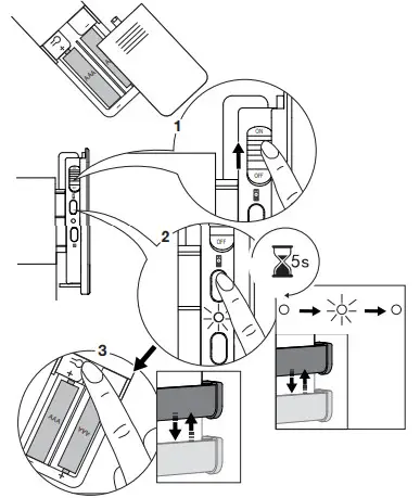
| Battery model | AAA BATTERY X 2pcs |
| Transmit channel: 4 | 4 |
Note: Reverse battery polarity will damage the remote control!
Tools are not included

packing list

Ceiling installation

![]() | ![]() |
![]() | ![]() |
Adjust the position of the bottom rail

Walling installation

![]() | ![]() |
![]() | ![]() |
Adjust the position of the bottom rail

Pairing the remote controller
![]() | ![]() |

Upper Limit setting
![]() | ![]() |
Lower Limit setting
![]() | ![]() |
Reset the limited position

Upper and Lower limited position reset
Please scan the QR code for detailed remote controller instructions
Battery charging

The adapter is not included in the package





























