ALTA WINDOW FASHIONS ROLLER BASICS Motorized Shades

Open Roll

Deco Fascia

Contoured Valance

Motorized with Open Roll
Install the Brackets

Secure the roller shade installation brackets with the supplied screws. If shade was ordered as outside mount (OB), attach the supplied screw covers on to the bracket for a finished look.
Install the Shade

Install the Bracket Covers

Motorized with Deco Fascia
Install the Fascia Brackets

The magnet clips arrive pre-attached and evenly spaced to the Deco Fascia. Outside mount (OB) requires a T-Bracket installation. Space brackets evenly. Note: Do not attach the Deco Fascia until the shade has been installed.
Install the Brackets

Secure the roller shade installation brackets with the supplied screws. If shade was ordered as outside mount (OB), attach the supplied screw covers on to the bracket for a finished look.
Install the Shade

Install the Deco Fascia

Inside Mount (IB)

Outside Mount (OB)
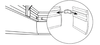
Install the Returns Optional

Metal returns Outside mount only include a plastic corner connector. Plastic returns (Inside mount with Outside Mounted fascia) snap on the end of the fascia.
Motorized with Contoured Valance
Install the Brackets

Secure the roller shade installation brackets with the supplied screws. If shade was ordered as outside mount (OB), attach the supplied screw covers on to the bracket for a finished look.
Install the Valance Brackets
Note
Prior to installing the installation brackets to the wall, insert the valance onto each installation bracket.


Inside Mount (IB)

Outside Mount (OB)
Install the Return Outside Mount Only Optional




















