ALTA WINDOW FASHIONS Exterior Roller Shades

INSTALLATION INSTRUCTIONS
Install the Brackets — Open Roll

- Inside Mount, install the brackets level and aligned to each other, using the screws provided.
- Outside Mount, center the shade over the window opening at the desired height and mark the end of the clutch side of the shade. Measure the width of the shade fabric, and mark the width of the fabric plus 1 1/4” from the previously marked mark.
Install the Brackets — Cassette
Inside mount (IB)

Outside mount (OB)

Install the Cables

Install the Shade — Open Roll

Important: Do not remove the paper banding used to prevent shade from unrolling prematurely until after the shade is installe
Thread the Cables

Define the Cable Hold-Down Brackets Position

Install the Cable Hold-Down Brackets

Tighten Cables

Pull the cable taut and tightening the set screw with an Allen wrench. Then, cut the excess cable.
Add Hold-Down Covers

Slide the hold-down cover over the bracket with the cable in the top slot. Spread the cover apart to snap it into place.
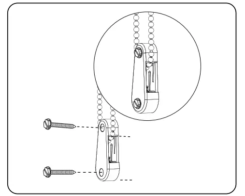
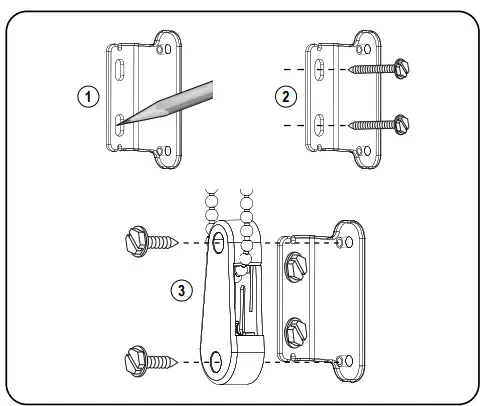
Installing the Beaded Cord Tensioner

Inside mount (IB)
Pull tension device down until the chain is taut and then move the tension device up approximately 1/8”. Mark the upper and lower screw hole and install the device with the screws provided. Important: Do Not Over-Tighten.
Outside mount (OB)
Removing the Shade (Only if Necessary)
Remove Hold-Down Covers

Loosen Cables and Remove Brackets

Remove the Shade — Open Roll

Remove the Shade — Cassette

Child Safety
Young children can STRANGLE in cord loops and in the loop above the cord stop. They can also wrap cords around their necks and STRANGLE.
- Always keep cords out of children’s reach.
- Move cribs, playpens and other furniture away from cords. Children can climb furniture to get to cords.
- Do not tie cords together.
- Make sure cords do not twist together and create a loop.
Beaded Cord Loop Shades

- Attach the tensioner to the wall or window casement. See Installing the Beaded Cord Tensioner. This can prevent children from pulling cord loops around their necks.
- A tensioner installation kit with instructions for attaching the tensioner is provided. For the shade to operate properly, the tensioner must be correctly mounted and secured. See tensioner instructions provided for details.
- Only the supplied tensioner(s) and hardware should be used.
WARNING
STRANGULATION HAZARD –
Young chidren can be strangled by cords. Immediately remove this product if a cord longer than 22 cm or a loop exceeding 44 cm around becomes accessible. Rev 7/21 Print 7/21



















