ALTA Roller Shades with Fascia

Important: Make sure the mounting surface is level. Brackets must be in line and level for shade to operate properly. Shim brackets if necessary.
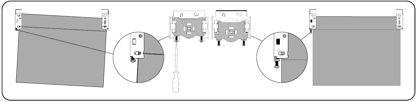
Install the Brackets

Inside Mount (IB), Install each bracket with two screws either through the side or up through the top. Make sure all brackets are leveled and aligned.
Outside Mount (OB), Secure each bracket with two screws. Make sure all brackets are level. Minimum 1 1/4” mounting surface height requirement.

Note: The 3” Fascia uses a different bracket than the 4” Fascia for optimized performance.
Install the Shade

Important: Please see AgileLift section before installing AglieLift Shades.
First, place the spring loaded pin end into the round hole of the bracket. Then, keeping the pin end secure in its bracket, insert the hooks on the motor head straight into the two slots in the bracket. Once the two hooks are through the slots, gently pull down on the motor until the hooks have locked securely to the bracket. The bottom of the motor head should point straight down.
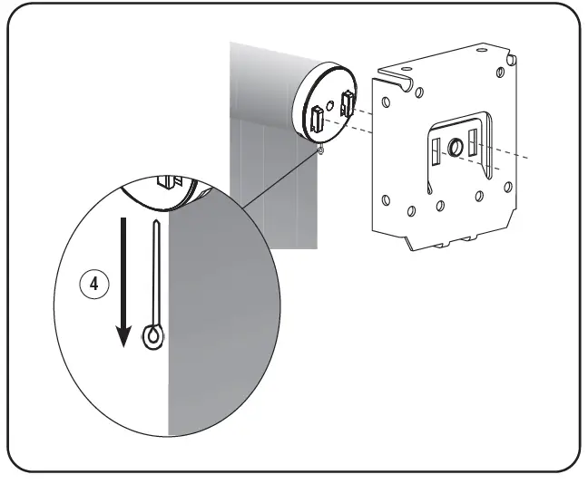
Agile Lift
Important: Do not to pull the lock pin until shade is securely assembled onto the brackets.
First, follow steps to Install the Shade. Lastly, remove the lock pin prior to operation by pulling it down.
Note: If for any reason needs to make an adjustment on the position of the installation brackets or remove the shade; raised the shade and insert the lock pin prior to disengaging the shade from the installation brackets.
Install the Fascia
3a. 3” Fascia

First, position the fascia top ridge into the front top channel of all brackets. Then, rotate the bottom front of the fascia downwards until the bottom rear of the fascia snap into the bracket. Finally, attach the bracket covers.
4” Fascia

First, attach the fascia clip to both brackets, as showed. Then, position the fascia top ridge into the front top channel of all brackets. Rotate the bottom front of the fascia downwards until the bottom rear of the fascia snap into the fascia clip. Finally, attach the bracket covers.
Extra Features — Level Adjust for 4” Fascia Only

Note: In some installations, due to leveling issues, the shade may “telescope”. This is not considered a defect.
The 4” fascia offers an optional adjuster bracket with screws that allow the shade to raise or lower ensuring a perfect leveled installation. Once leveled, the shade should stop telescoping.
5. 2-on-1 Shades
Please refer to Roller Shades – Skyline 2-on-1 / Coupled Shades Installation Instructions.
Remove the Shade (Only If Necessary) — Remove the Fascia

First, rotate upward to disengage the fascia. Then, gently pull up the control unit (Motor or Spring) until the hooks touch the top part of the bracket
slot. Pull the shade towards the spring loaded pin end until the hooks are complete out of the bracket slots. Finally, remove the spring loaded pin end from the idler bracket.
Child Safety
WARNING
STRANGULATION HAZARD – Young chidren can be strangled by cords. Immediately remove this product if a cord longer than 22 cm or a loop exceeding 44 cm around becomes accessible. Rev 7/21 Print 7/21



















