ALTA Dual Shades Instruction Manual
Note on Motorization: Prior to installation, pair the shade to remote using the programming instructions that are included with the remote control.
Install the Brackets
Important: Make sure the mounting surface is level. Brackets must be in line and level for shade to operate properly.

Inside Mount, install the brackets level and aligned to each other, using the screws provided.
Outside Mount, center the shade over the window opening at the desired height and mark the end of the clutch side of the shade. Measure the width of the shade fabric, and mark the width of the fabric plus 1 1/4” from the previously marked mark.
Install the Shade
Important: Please see back side for instructions regarding AgileLift.
Remove the Shade (Only if Necessary)
Important: Please see back side for instructions regarding AgileLift.
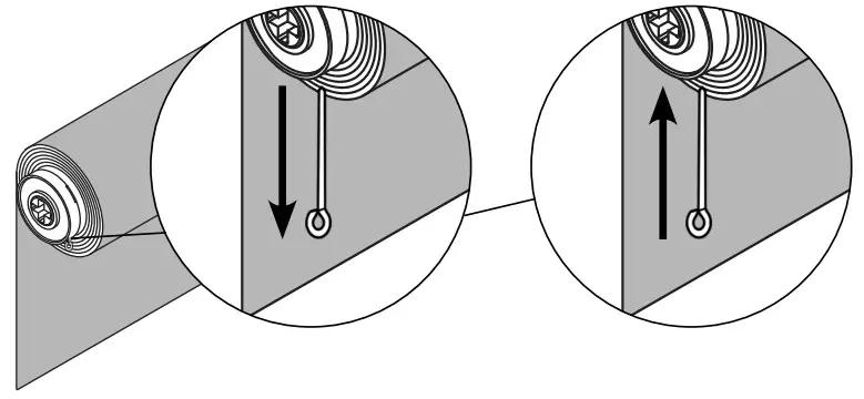
AgileLift
Note: Illustration shown without a Cassette for clarity.
Important: Do not pull the lock pin until shade is securely assembled onto the brackets. Once removed, keep the lock pin in a safe place, as it will be needed to remove the shade.
With the shade installed, remove the lock pin prior to operating by pulling it downward. If for any reason needs to make an adjustment on the position of the installation brackets or remove the shade; raise the shade and insert the lock pin prior to disengaging the shade from the installation brackets.
Install the Hold Down Brackets (optional) — Outside Mount Only

Important: The bottom rail must be disconnected from the hold down brackets to raise the shade.
First, lower the shade and place the hold down pins into the hole on the bottom rail end caps. Then, mark the hold down bracket locations on the mounting surface. Center the hold down brackets over the mounting hold locations and check their alignment. Finally, attach the brackets using screws.
Child Safety
WARNING:
STRANGULATION HAZARD—Young children can be strangled by cords. Immediately remove this product if a cord longer than 22 cm or a loop exceeding 44 cm around becomes accessible. Rev 7/21 Print 7/21


















