Installation Guide
Cordless Roller Shades with Cassette
Fitting the brackets
The brackets offer 2 methods of installation:

Where the brackets are screwed into the lintel (or ‘ceiling’ of the recess)

Where the brackets are screwed onto a facing surface (a wall or window frame)
Fitting the blind
Holding the shade at an angle, hook the lip at the front of the headrail over the front hook of the bracket. Then, pushing back against the front of the headrail, raise the back of the headrail and push upwards until it snaps into place.

To remove the shade from the brackets, push back against the front of the headrail and twist the back of the headrail downwards until it disengages from the brackets.

Operation and spring tension
The shade’s spring mechanism is locked with a locking pin to prevent it from unrolling during transit. Before you operate the shade for the first time, locate the locking pin and simply pull it out to remove it.

If you find that over time the spring mechanism is weakening (in that the shade does not easily retract when you raise it) then the tension can be increased very easily. Take the shade down from the brackets and locate the tension screw at one end. Using a screwdriver, turn the screw in the direction of the front of the shade. This will increase the tension in the spring and allow the shade to retract more easily. Make small adjustments (around 2 turns at a time) to avoid over-tensioning the spring mechanism.

WARNING
STRANGULATION HAZARD — Young children can be strangled by cords. Immediately remove this product if a cord longer than 22 cm or a loop exceeding 44 cm around becomes accessible.
Fitting the brackets
The brackets offer 2 methods of installation:

Where the brackets are screwed into the lintel (or ‘ceiling’ of the recess)

Where the brackets are screwed onto a facing surface (a wall or window frame)
Fitting the blind
Holding the shade at an angle, hook the lip at the front of the headrail over the front hook of the bracket. Then, pushing back against the front of the headrail, raise the back of the headrail and push upwards until it snaps into place.

To remove the shade from the brackets, push back against the front of the headrail and twist the back of the headrail downwards until it disengages from the brackets.

Operation and spring tension
The shade’s spring mechanism is locked with a locking pin to prevent it from unrolling during transit. Before you operate the shade for the first time, locate the locking pin and simply pull it out to remove it.

If you find that over time the spring mechanism is weakening (in that the shade does not easily retract when you raise it) then the tension can be increased very easily. Take the shade down from the brackets and locate the tension screw at one end. Using a screwdriver, turn the screw in the direction of the front of the blind. This will increase the tension in the spring and allow the blind to retract more easily. Make small adjustments (around 2 turns at a time) to avoid over-tensioning the spring mechanism.

The brackets offer two methods of installation:

Use the front two holes in the top of the bracket to fix to the lintel (the ‘ceiling’ of the recess).

Use two screws through the back plate to mount onto a facing surface (a wall or window frame)

Note that the position of the outermost brackets should be at least 5cm away from the ends of the rail, with any other brackets evenly distributed across the width.
Fitting the shade

![]() | |
| Holding the rail at an angle, situate the T-shaped lip on the top of the cassette into the front lip of the bracket. | Twist the back of the cassette upwards until it snaps into place against the back lip of the bracket. |
Before you begin
We will have positioned the controls where you requested during the ordering process. However if you decide to swap the side that they are on, the direction of the roll, or need to trim the blind further, the controls can be removed by simply unplugging them from the tube. This should be done prior to fixing the brackets.

Fitting the brackets
The brackets offer three methods of installation:
| Top-Fixing Where the brackets are screwed into the lintel (or ‘ceiling’ of the recess) | ![]() |
| Face-Fixing Where the brackets are screwed onto a facing surface (a wall or window frame) | ![]() |
| Side-Fixing Where the brackets are screwed into the side walls of the recess | ![]() |
Top Tip
Top-fixing or face-fixing are recommended for most installations, whereas side-fixing is only recommended if the width you gave us was taken right at the top of the recess.
Fitting the blind
Locate the depression end (the opposite end to the controls) of the blind into the cross-shaped hole in the corresponding bracket.

Lift the control end of the blind and slot the rectangular ‘lugs’ into the corresponding slots on the bracket.

Installation Guide
No-Tools Headrail
Installing the no-tools headrail:
Hold the no-tools headrail up against the top of the recess, then push the lever firmly upwards until the rail snaps into place. If the rail is not quite tight enough then this can be easily adjusted:
At the end of the rail opposite the lever, there is an adjustment block that allows you to fine-tune the fitting of the rail. Use a flat-head screwdriver to twist the small red plugs in toward the center of the rail. Slide the block out of the rail by a few millimeters, then twist the red plugs back into their original position to fix the block in place. Make small adjustments only, repeating as necessary for a tight fit.

ERB25B Rechargeable Battery Motor Instruction
VERSION: 042.ERB25B7D01
| Technical data Motor Load Torque: 0.7Nm/34rpm 1.1Nm/28rpm Battery Specification: Li-ion Battery, 2000mAH, 7.4V. Notify: ![]() ● The side of the motorhead with the SETTING button should face you ( toward the outside) ● Motor antenna should be as straight as possible in the position far away from metal objects. Directly contacting with metal objects is prohibited; otherwise, the receiving distance will be influenced seriously. ● Please charge the battery when the motor alarm or work falters ![]() | ||||
Operation Item | Item | Operation | Result | Illustration |
|
Program the first transmitter with motor | ● Please skip the step and go to the next If a manufacturer has programmed a transmitter with the motor before delivery | |||
| 1 | Keep pressing the SETTING button battery pack for more than 3 seconds | Release this button when motor jogs | ||
| 2 | Press the CONFIRM button on the transmitter | Motor jogs, the program has been done. | ||
|
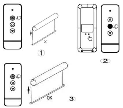
Change motor rotation direction | 1 | Press UP button | If the motor goes up, please do nothing, If the motor goes down, please do the next step |
|
| 2 | Press and hold LIMIT button then press STOP button | Release both buttons when motor jogs | ||
| 3 | Press UP button | Motor goes up, the motor rotation direction has been revised | ||
|
Setup bottom limit | The whole limit setting must be finished at one time |
| ||
| 1 | Keep pressing the LIMIT button on any programmed transmitter | Release this button when motor jogs | ||
| 2 | Press the DOWN button on the transmitter | Motor runs down | ||
| 3 | Press the STOP button When the motor running close to the end-point of the bottom limit | Motor stops | ||
| 4 | Press either UP or DOWN button | Motor runs step by step to adjust the bottom limit accurately | ||
| 5 | Press CONFIRM button on the transmitter | Motor jogs, down way setting has been done. | ||
| Operation | Item | Operation | Result | Illustration |
|
Setup upper limit | 6 | Press the UP button on the transmitter | Motor runs up |
|
| 7 | Press the STOP button When the motor running close to the end-point of the upper limit | Motor stops | ||
| 8 | Press either UP or DOWN button | Motor runs step by step to adjust the lower limit accurately | ||
| 9 | Press CONFIRM button on the transmitter | Motor jogs, the setting has been completed. | ||
|
Set intermediate position | This step only can be done after setting a motor limit | | ||
| 1 | Press DOWN button | Stop motor at the position which you need | ||
| 2 | Press and hold LIMIT button then press the UP button | Release both buttons when the motor jogs, now the setting has been completed | ||
| 3 | Press the STOP button when the motor stop | Motor will run to the setting position and stops | ||
| Program transmitter using a programed transmitter | ● Please skip the step and go to next if the subsidiary transmitter is not needed | |||
|
1 | Keep pressing the LIMIT button on the first programmed transmitter A, then press CONFIRM button | Please release both buttons once the motor jogs |
| |
| 2 | Press CONFIRM button on transmitter B | Motor jogs again, now transmitter B has programmed with motor | ||
| Delete all other transmitters |
1 | Keep pressing the LIMIT button on transmitter A, then press the DOWN button | Please release both buttons once the motor jogs, now all transmitters have been deleted except A | |
| Delete itself from motor | 2 | Press CONFIRM button 3 times | This transmitter has been deleted from the motor | |
|
Bluetooth operation | Download APP use keywords BFSMARTBLE at Apple store or Google Play, for a regular user 1 please log in to an available account and jump the below steps, for a new user please register a new account | |||
| 2 | Switch Bluetooth switch on motor head 3-5 times until motor beeps, leave the switch at ON position, please follow all instructions at APP interfaces to continue program or operations | |||
| Charging | The motor works with a Li-ion battery, please charge it when the motor alarms or work falters. Please charge the motor using professional charger CH-8.4V/1A Charging time: Charger 4 hours or indicator change to green 1 hours, please take the charger away when charging full. | |||
| FAQ | If nothing works, please check:| ● please charge the motor battery firstly ● If the motor runs to a direction continually, the user didn’t set up the limit successfully, please re-set the limit. | |||
![]()
























