ASSEMBLY INSTRUCTION MODEL #612-FB

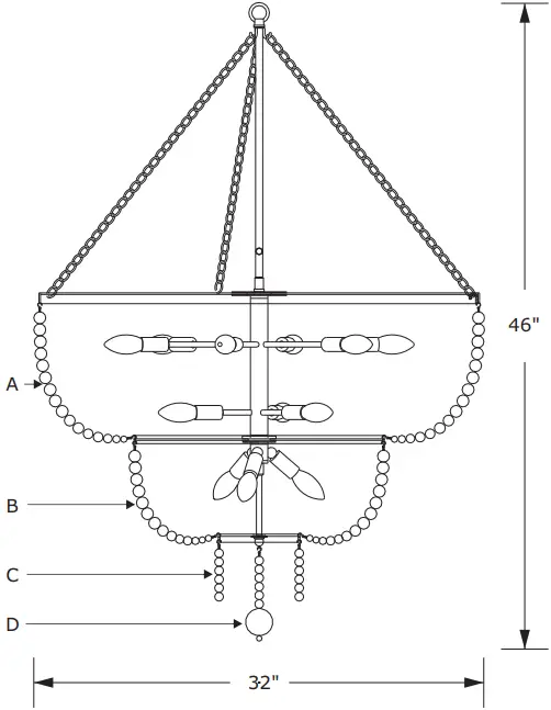
A= ![]()
B= ![]()
C= ![]()
D= ![]()
WARNING:

Electrical Danger Turn Power Off
All electrical components must be installed by a licensed electrician in accordance with the National Electric Code and the appropriate local electrical codes.
![]()

You will need 12 -Candelabra Base Bulb
40 Watts Recommended 60 Watts Max.
USE LED BULBS FOR EXTENDED USE
How to Install
- Feed wires through top stem, fixture loop, chain, collar loop and canopy.
- Attach the top stem onto the light cluster.
- Attach the bottom stem assembly onto the light cluster.
- There are three pieces of decorative chain. Each one will have one end attach to a hook on the top stem and the second end of chain attaches to the hook within the inside of the band ring.
- Insert recommended bulb (not included).
- Press the end of the steel strand to form a hook.
- Dress the bead strands as illustrated.
Bead Sets
A.72 Sets.
(9)22mm + (2)20mm + (2)18mm + (1)16mm + (1)14mm + (1)12mm
B.36 Sets.
(7)22mm + (1)20mm + (1)18mm + (2)16mm + (1)14mm + (2)12mm
C.18 Sets.
(6)16mm
D.1 Set.
(6)16mm + (1)50mm + (1)10mm
WARNING: This product can expose you to Lead, which is known to the State of California to cause cancer and/or birth defects or reproductive harm. For more information go to www.P65Warnings.ca.gov.

Part Number
A. (1) – Mounting Hardware
B. (1) – Canopy(W5.12″,H0.98″) #XRE608FBCAN5IN
C. (1) – Collar Ring
D. (1) – Collar Loop
E. (2) – Quick Link
F. (1) – Hanging Chain(72″,4mm) #XRE608FBCHA4MM
G. (1) – Fixture Loop
H. (1) – Top Stem(19.69″,12.5mm)
I. (3) – Decorative Chain(each24.02″,2.5mm) #XRE612FBDECCHA24IN
J. (1) – Top Band Ring
K. (1) – Light Cluster
L. (1) – Middle Band Ring
M. (1) – Bottom Stem(5.91″,9.3mm)
N. (1) – Bottom Band Ring
O. (1) – Finial #XRE610GAFIN















