
LIGHTING THE WAY FOR SIXTY YEARS
ASSEMBLY INSTRUCTION MODEL #GIG813BKAG

WARNING:

Electrical Danger Turn Power Off
All electrical components must be installed by a licensed electrician in accordance with the National Electric Code and the appropriate local electrical codes

You will need 1- Medium Base Bulb
60 Watts recommended 100 Watts Max.
USE LED BULBS FOR EXTENDED USE
The fixture is Damp rated
HOW TO INSTALL:
Place the fixture parts on a soft cloth-covered platform before installation of fixture.
- Determine the desired hanging height and choose the correct length of rods.
- Feed fixture wires through the rod and canopy. Connect the rods together and then screw the canopy onto the top of rods.
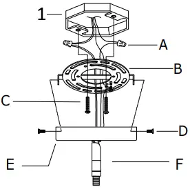
- Install the mounting plate to the outlet box using two mounting screws.
- Install canopy onto the mounting plate, and secure with the screws.
- Install shade assembly onto the socket and secure with socket ring.
WARNING: This product can expose you to Lead, which is known to the State of California to cause cancer and/or birth defects or reproductive harm. For more information go to www.p65warnings.ca.gov



- Outlet Box
- (Bulb not included)
Part Number
Part Numbers
A. (2)-Wire Connector
B. (1)-Mounting plate
C. (2)-Mounting Screw
D. (2)-Screw
E. (1)-Canopy; W6″x H 1 ” ; with 2 side holes. -XSN813BKAGCAN6IN
F. (1)-Swivel
G. (1)-H6″ ROD-XSN813BKAGROD6IN
H. (3)-H12″ ROD-XSN813BKAGROD12IN
I. (1)-Shade assembly ; Ø9 3/4″-XSN813MHOOD
J. (1)-Socket ring-XSN813RING














