CRYSTORAMA GIG-815-BK-AG Gigi 1-Light Black + Aged Brass Pendant

LIIIITINB TIE IAY FOR Sim YEARS
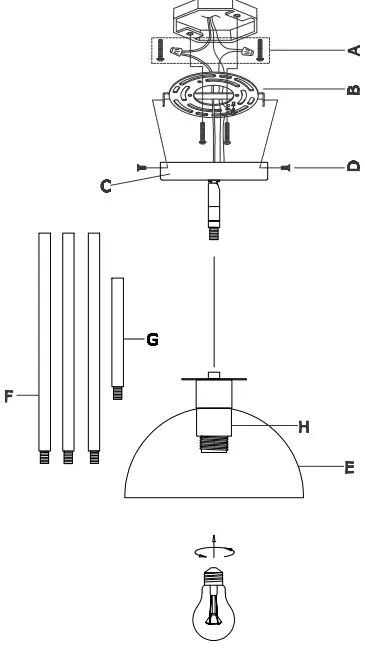
ASSEMBLY INSTRUCTION MODEL# GIG-815-BK-AG

WARNING

All electrical components must be Installed by a licensed electrician in accordance with the National Electric Code and the appropriate local electrical codes.
local electrical codes

You wlll need 1-Medium Base Bulb
60 Watts Recommended 100 WIIID Max.
USE LED BULBS FOR EXTENDED USE
THE FIXTURE IS DAMP RATED
How to Install
- Determine the desired hanging height and choose the correct length of rods.
- Feed the fixture wires through the rods and canopy.
Connect the rods together and then screw the canopy onto the top of the rod assembly. - Install the mounting plate to the outlet box using two outlet box screws.
- Install canopy onto the mounting plate, and secure with the screws.
- Install the metal shade onto the socket and screw with the socket ring.
- Install the bulb(not Included) into the socket.
WARNING: This product can expose you to Lead which is known to the state of California to cause cancer and/or birth defects or reproductive ham. For more information go to www.P65Wamings.ca.pov
Part Number
- A. (1)-Mounting hardware
- B. (1)-Mounting plate
- C. (1)-Canopy W7″xHl”(XSU815BKAGACAN7IN)
- D. (2)-Screw
- E. (1)-Metal shade 23-1/2″(WH)(XSU815MSHADE23.5IN)
- F. (3)- Rod W 5/8″XH12″(BK)(XSU813BKAGROD12IN)
- G. (1)- Roel W 5/B”XH&”(BK) (XSUB13BKAGROD61N)
- H. (1)-Socket ring















