CRYSTORAMA ROY-803-GA Royston Three Light Pendant Instruction Manual


All electrical components must be installed by a licensed electrician in accordance with the National Electric Code and the appropriate local electrical codes You will need 3- Medium Base Bulb40 Watts recommended 60 Watts Max. USE LED BULBS FOR EXTENDED USE![]()
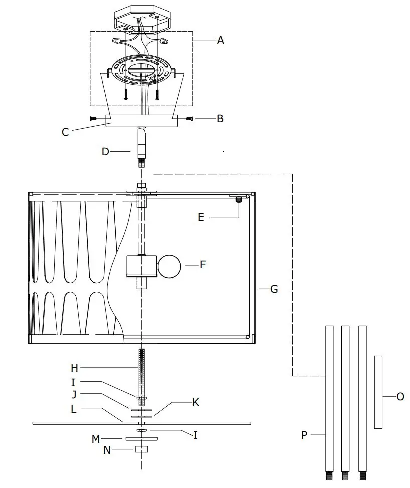
HOW TO INSTALL:
Place the fixture parts on a soft cloth-covered platform before installation of fixture.
- Install the bulb(not included) into the socket. Screw the threaded pipe onto the coupling of the swivel and secure it with a hex nut. Place the frame over the bottom of the threaded pipe. Place the metal washer, plastic washer, glass diffuser, hex nut and bottom cap in that order on bottom of the frame. Secure with finial.
- Decide the preferred hanging height and choose the correct number of rods needed.
- Feed the fixture wires through the rods and canopy. Screws the rods together. Screw one end of the rod assembly onto the top of frame and the other end onto the coupling on the canopy.
- Install the mounting plate onto the outlet box and raise the fixture up to the ceiling. After the wire connection is complete, secure the fixture onto the mounting plate using mounting screws.
⚠ WARNING: This product can expose you to Lead, which is known to the State of California to cause cancer and/or birth defects or reproductive harm. For more information go to www.p65warnings.ca.gov
Part Number
A. (1)-Mounting hardware
Wire connector x2.
Mounting plate x1.
Mounting screw x2.- B. (2)-Canopy screw
- C. (1)-Canopy(W5 7/8″ x H1″) ; with 2 side holes.
-XSN803GACAN5.875IN - D. (1)-Swivel
- E. (3)-Knurled Nut
- F. (1)-Socket cluster
- G. (1)-Frame ; Ø15″ x H10″
- H. (1)-Threaded pipe ; H4 3/4″
- I. (2)-Hex nut
- J. (1)-Metal washer
- K. (1)-Plastic washer
- L. (1)-Glass diffuser ; Ø14 3/8″-XSN803DIF14.375IN
- M. (1)-Bottom cap ; Ø2″
- N. (1)-Finial-XSN800GAFIN
- O. (1)-H6″ Rod ; Ø15.8mm-XSN801GAROD6IN
- P. (3)-H12″ Rod ; Ø15.8mm-XSN801GAROD12IN
A. (1)-Mounting hardware













