KEN-8303-BF Kendal Three Light Pendant

Product Information
The Crystorama KEN-8303-BF model is a damp rated lighting fixture that has been in the market for 60 years. It comes with a metal frame, top metal ring, glass panels, glass diffuser, center rod assembly, light cluster, hanging rod, coupler screw, and necessary hardware. The fixture is designed to use three medium base bulbs with a recommended wattage of 60 watts and a maximum wattage of 100 watts. LED bulbs are recommended for extended use. The product is accompanied by a warning that all electrical components must be installed by a licensed electrician in accordance with the National Electric Code and the appropriate
local electrical codes.
Product Usage Instructions
- Slide the glass diffuser onto the bottom of the metal frame and secure it with clips.
- Slide the glass panels inside the metal frame and secure them with clips.
- Slip the center rod assembly along the wire and thread it onto the nipple located on top of the light cluster.
- Insert the hanging rod into the side holes of the top box on the center rod and secure it from the top with screws.
- Put the top metal ring over the metal frame. Line up the hole on the bottom of the hanging rod with the hole on the top metal ring and the bracket on the metal frame, and secure it with screws.
- Separate the mounting plate from the canopy kit by removing the screws.
- Install the mounting plate to the outlet box using two outlet box screws
- Determine the preferred hanging height and adjust the required rods.
- Feed the wires through the rods and connect them together.
- Slip the canopy kit along the wire and thread it into the top of the rod assembly.
- Install the canopy onto the mounting plate and secure it with the mounting screws.
- Install the bulb (not included) into the socket.
Note: The product comes with a warning that it can expose you to lead, which is known to the state of California to cause cancer and/or birth defects or reproductive harm. For more information, please visit www.P65Warnings.ca.gov.
LIGHTING THE WAY FOR SIXTY YEARS
PRODUCT OVERVIEW

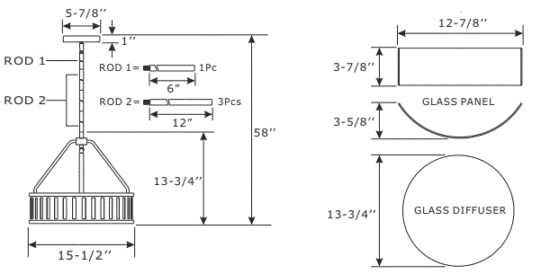
DIMENSION

WARNING: This product can expose you to Lead which is known to the state of California to cause cancer and/or birth defects or reproductive harm. For more information go to www.P65Warnings.ca.gov

All electrical components must be installed by a licensed electrician in accordance with the National Electric Code and the appropriate

You will need 3-Medium Base Bulb 60 Watts Recommended 100 Watts Max.
USE LED BULBS FOR EXTENDED USE This fixture is Damp rated
How to install
- Slide the glass diffuser onto the bottom of metal frame and secure it with clips.
- Slide the glass panels inside the metal frame and secure it with clips.
- Slip the center rod assembly along wire and thread onto the nipple located on the top of the light cluster.
- Insert the hanging rod into the side holes of top box on the center rod, and secure the hanging rod from the top with the screws.
- Put the top metal ring over the metal frame. Line up the hole on the bottom of hanging rod with the hole on the top metal ring and the bracket on the metal frame, and secure it with screws.
- Separate the mounting plate from the canopy kit by removing the screws.
- Install the mounting plate to the outlet box using two outlet box screws.
- Determine the preferred hanging height and adjust the required rods.
- Feed the wires through the rods and connect them together.
- Slip canopy kit along wire and thread it into the top of the rod assembly.
- Install canopy onto the mounting plate, and secure with the mounting screws.
- Install the bulb(not included) into the socket.
ASSEMBLY INSTRUCTION
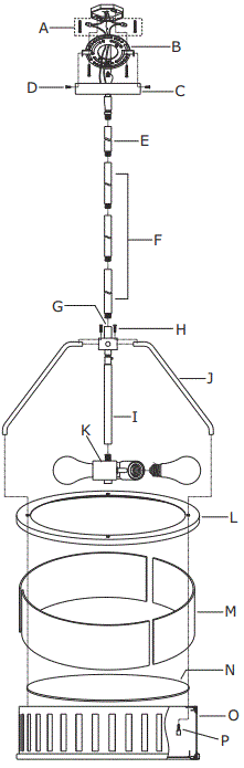
Part Numbers
- A. (1)-Mounting hardware
- B. (1)-Mounting plate
- C. (1)-Canopy kit W5-7/8’’xH1’’#XRF8303BFCAN5.875IN D. (2)-Mounting screw
- E. (1)-Rod D5/8’’xL6’’ #XRF8303BFROD6IN F. (3)-Rod D5/8’’xL12’’ #XRF8303BFROD12IN G. (1)-Coupler
- H. (4)-Screw I. (1)-Center rod assembly #XRF8303BFSTEM J. (4)-Hanging rod D3/8’’xH7-3/4’’ #XRF8303BFSIDEROD K. (1)-Light cluster
- L. (1)-Top metal ring
- M. (3)-Glass panel N. (1)-Glass diffuser #XRF8303DIFF13.75IN O. (1)-Metal frame
- P. (4)-Screw















