CRYSTORAMA ROY-809-GA Royston Five Light Pendant
Product Information
- Brand: Crystorama
- Model Number: ROY-809-GA
- Product Type: Chandelier
- Fixture Rating: Dry Rated
- Bulb Requirement: 5 Medium Base Bulb, 40 Watts recommended, 100 Watts Max
- Product Dimensions: Not specified
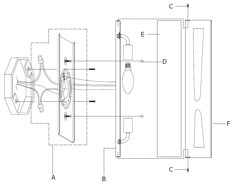
- Additional Parts: Mounting hardware, Wire connector x2, Wall bracket x1, Screw x4, Nut x2, Backplate, Screw x4, Ball nut-XSN800GABANUT x2, Glass panel ; W6 1/2,H17 1/2 -XSN802GLA17.5IN, Metal Frame
Product Usage Instructions
- Before installation, make sure all electrical components are installed by a licensed electrician in accordance with the National Electric Code and appropriate local electrical codes.
- Place the fixture parts on a soft cloth-covered platform before installation of the fixture.
- Install the bulb (not included) into the socket. Screw the threaded pipe onto the coupling of the swivel and secure it with a hex nut. Place the frame over the bottom of the threaded pipe. Place the metal washer, plastic washer, glass diffuser, plastic washer, hex nut and bottom cap in that order on the bottom of the frame. Secure with finial.
- Decide on the preferred hanging height and choose the correct number of rods needed.
- Feed the fixture wires through the rods and canopy. Screw the rods together. Screw one end of the rod assembly onto the top of the frame and the other end onto the coupling on the canopy.
- Install the mounting plate onto the outlet box and raise the fixture up to the ceiling. After the wire connection is complete, secure the fixture onto the mounting plate using mounting screws.
- Use LED bulbs for extended use.
Warning: This product can expose you to Lead, which is known to the State of California to cause cancer and/or birth defects or reproductive harm. For more information go to www.p65warnings.ca.gov
ASSEMBLY INSTRUCTION
MODEL # ROY-809-GA
WARNING:
All electrical components must be installed by a licensed electrician in accordance with the National Electric Code and the appropriate local electrical codes.
You will need 5- Medium Base Bulb 40 Watts recommended 100 Watts Max. USE LED BULBS FOR EXTENDED USE
The fixture is Dry rated
HOW TO INSTALL
Place the fixture parts on a soft cloth-covered platform before installation of fixture.
- Install the bulb(not included) into the socket. Screw the threaded pipe onto the coupling of the swivel and secure it with a hex nut. Place the frame over the bottom of the threaded pipe. Place the metal washer,plastic washer, glass diffuser, plastic washer, hex nut and bottom cap in that order on bottom of the frame. Secure with finial.
- Decide the preferred hanging height and choose the correct number of rods needed.
- Feed the fixture wires through the rods and canopy.Screws the rods together. Screw one end of the rod assembly onto the top of frame and the other end onto the coupling on the canopy.
- Install the mounting plate onto the outlet box and raise the fixture up to the ceiling. After the wire connection is complete, secure the fixture onto the mounting plate using mounting screws.
WARNING: This product can expose you to Lead, which is known to the State of California to cause cancer and/or birth defects or reproductive harm.For more information go to www.p65warnings.ca.gov
Part Number.
Part Numbers
- (1)-Mounting hardware
- Wire connector x2.
- Wall bracket x1.
- Screw x4.
- Nut x2.
- (1)-Backplate
- (4)-Screw
- (2)-Ball nut-XSN800GABANUT
- (1)-Glass panel ; W6 1/2″,H17 1/2″
- (1)-Metal Frame



















