5A SERIES Split-Core Current Transformers
Instruction Manual
H681X-5A SERIES Split-Core Current Transformers, 5A Output

H681x-5A split-core current transformers (CTs) provide secondary amperage proportional to the primary (sensed) current. For use with power meters, data loggers, chart recorders, and other instruments, the H681x Series 5 Amp CTs provide a cost-effective means to transform electrical service amperages to a 0 to 5 Amp level compatible with monitoring equipment.
SPECIFICATIONS
INPUTS
| Frequency Range | 50/60 Hz |
| Leads | 6 ft (1.8 m) |
| ACCURACY | |
| Accuracy | ±1% of reading from 5% to 100% of rated current, |
| OUTPUTS | |
| Output at Rated Current | 5:00 AM |
| MECHANICAL | |
| Insulation | 600 Vac |
| ENVIRONMENTAL | |
| Operating Temp Range | 2400A models only: -15 to 50 °C (5 to 122 °F); |
| Storage Temp Range | -40 to 70 °C (-40 to 158 °F) |
| Humidity Range | 0 to 95% non-condensing |
| Altitude of Operation | 3 km max. |
| Mounting Location | Not suitable for wet locations. For indoor use only |
| WARRANTY | |
| Limited Warranty | 5 years |
| AGENCY APPROVALS | |
| Agency Approvals | UL61010-1, IEC 61010-1, EN 61010-1 |
| Installation Category | Category III, Pollution Degree 2 |
Unique hinge design
UL approved
UL2808 Series is UL Listed, others UL Recognized
5 Amps standard
5 Amp standard output…
compatible with existing systems
APPLICATIONS
- Data logging
- Recording
- Power monitoring
- Energy management
- Alternative energy monitoring
- Cost allocation
| Frequency Range | 50/60 Hz |
| Leads | 16 AWG, 8 ft (2.4 m), 20 ft (6 m) |
| ACCURACY | |
| Accuracy | These CTs meet or exceed accuracy requirements |
| OUTPUTS | |
| Output at Rated Current | 5:00 AM |
| MECHANICAL | |
| Insulation | 600 Vac |
| ENVIRONMENTAL | |
| Operating Temp Range | -15 to 60 °C (5 to 140 °F) |
| Storage Temp Range | -40 to 70 °C (-40 to 158 °F) |
| Humidity Range | 0 to 95% non-condensing |
| Altitude of Operation | 2 km max. |
| Mounting Location | Not suitable for wet locations. For indoor use only. |
| WARRANTY | |
| Limited Warranty | 5 years |
| AGENCY APPROVALS | |
| Agency Approvals | UL2808 |
| Installation Category | Category III, Pollution Degree 2 |
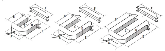
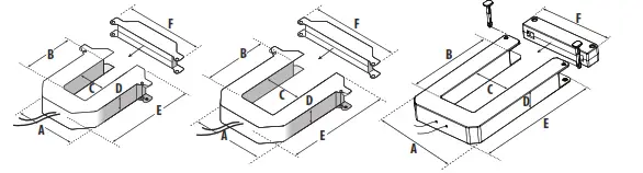
DIMENSIONAL DRAWINGS
![]() | ||
| H6810/Small 200-300 Amp | H6811/Medium 400-800 Amp | H6812/Large H6812 |
| A = 3.8” (96 mm) B = 1.2” (31 mm) C = 1.3” (32 mm) D = 1.2” (31 mm) E = 4.0″ (100 mm) F = 4.8″ (121 mm) | A = 4.9” (125 mm) B = 2.9” (73 mm) C = 2.5” (62 mm) D = 1.2″ (31 mm) E = 5.2” (132 mm) F = 6.0″ (152 mm) | A = 4.9” (125 mm) B = 5.5” (139 mm) C = 2.5” (62 mm) D = 1.2” (31 mm) E = 7.9″ (201 mm) F = 6.0″ (152 mm) |
![]() | ||
| H6810/Small UL2808 200-400 Amp | H6811/Medium UL2808 600-800 Amp | H6812/Large UL2808 1000-2400 Amp |
| A = 3.23” (82 mm) B = 1.4” (36 mm) C = 1.4” (36 mm) D = 1.12” (28 mm) E = 3.25” (83 mm) F = 4.12” (105 mm) | A = 4.95” (126 mm) B = 2.9” (74 mm) C = 2.46” (63 mm) D = 1.2” (31 mm) E = 5.36” (136 mm) F = 5.83” (148 mm) | A = 4.91” (125 mm) B = 5.73” (146 mm) C = 2.47” (63 mm) D = 1.16” (30 mm) E = 8.12” (206 mm) F = 4.91” (125 mm) |
WIRING EXAMPLE

ORDERING INFORMATION
| MODEL | DESCRIPTION |
| H6810-200A-5A | Split-core CT, Small, 200A:5A |
| H6810-300A-5A | Split-core CT, Small, 300A:5A |
| H6811-400A-5A | Split-core CT, Medium, 400A:5A |
| H6811-600A-5A | Split-core CT, Medium, 600A:5A |
| H6811-800A-5A | Split-core CT, Medium, 800A:5A |
| H6812-800A-5A | Split-core CT, Medium, 800A:5A |
| H6812-1000A-5A | Split-core CT, Large, 10 00A:5A |
| H6812-1200A-5A | Split-core CT, Large, 1200A:5A |
| H6812-1600A-5A | Split-core CT, Large, 1600A:5A |
| H6812-2000A-5A | Split-core CT, Large, 2000A:5A |
| H6812-2400A-5A | Split-core CT, Large, 2400A:5A |
| H6810-200A-5AU | Split core CT, Small, 5A, 200A UL2808 |
| H6810-300A-5AU | Split core CT, Small, 5A, 300A UL2808 |
| H6810-400A-5AU | Split core CT, 5A, Small, 400A UL2808 |
| H6811-600A-5AU | Split core CT, Medium, 5A, 600A UL2808 |
| H6811-800A-5AU | Split core CT, Medium, 5A, 800A UL2808 |
| H6812-800A-5AU | Split core CT, Large, 5A, 800A UL2808 |
| H6812-1000A-5AU | Split core CT, Large, 5A, 1000A UL2808 |
| H6812-1200A-5AU | Split core CT, Large, 5A, 1200A UL2808 |
| H6812-1600A-5AU | Split core CT, Large, 5A, 1600A UL2808 |
| H6812-2000A-5AU | Split core CT, Large, 5A, 2000A UL2808 |
| H6812-2400A-5AU | Split core CT, Large, 5A, 2400A UL2808 |
HQ0007816.C 0621
800.354.8556
+1 503.598.4564
[email protected]
[email protected]
veris.com





















