VISUAL COMFORT PCD 2102 Comtesse Medium Sconce

Product Information
The Comtesse Medium Sconce (Item # PCD 2102) is a light fixture that requires assembly and installation. It does not come with a bulb. The product comes with a mounting plate, screws, anchors, and a ground wire. The product should be installed in accordance with all applicable, local installation codes, and by a person familiar with the construction and operation of it, as well as the hazards involved. The product should be inspected for any damage or defect before installation.
Product Usage Instructions
- Carefully remove all parts from the box. Place on a clean, soft surface.
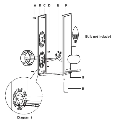
- Remove mounting plate (B) from fixture (F) by removing screws (G) using provided wrench (H).
- Using the mounting plate (B) as a guide, line up with the junction box and mark anchor positions.
- Using a drill bit slightly smaller than the anchor, drill holes in marked positions. Install anchors (A) into the holes using hammer.
- Install mounting plate (B) to the junction box and secure with the mounting screws (D), then secure wood screws (C) to anchors (A).
- Wrap fixture ground wire (bare copper) around the green grounding screw on the mounting plate (B) and tighten.
- Connect fixture wires to supply wires by twisting them together clockwise and securing with wire connectors.
- Tuck wires into junction box and attach fixture to mounting plate with screws (G) using provided wrench (H).
- Turn on power to the fixture.
- Install light bulb into the socket.
Care Instructions
Clean only with a soft dry cloth or feather duster. Do not use abrasive or chemical agents.
Comtesse Medium Sconce
Item # PCD 2102
NOTICE:
This light fixture should be installed in accordance with all applicable, local installation codes, and by a person familiar with the construction and operation of it, as well as the hazards involved. Inspect item and contents carefully. If any damage or defect is found, do not install. Retain all packaging material until installation is complete and approved.
TOOLS REQUIRED (NOT INCLUDED)
- Phillips Screwdriver
- Pencil
- Slotted Screwdriver
- Hammer
- Drill
Assembly Instruction

- Carefully remove all parts from the box. Place on a clean, soft surface.
- Remove mounting plate (B) from fixture (F) by removing screws (G) using provided wrench (H).
- Using the mouting plate (B) as a guide, line up with the junction box and mark anchor positions.
- Using a drill bit slightly smaller than the anchor, drill holes in marked positions. Install anchors (A) into the holes using hammer.
- Install mounting plate (B) to the junction box and secure with the mounting screws (D), then secure wood screws (C) to anchors (A).
- Wrap fixture ground wire (bare copper) around the green grounding screw (see diagram 1). Tighten. Continue fixture ground wire and connect to supply ground wire (usually green or bare copper) using wire nut (E).
NOTE: It is imperative that the fixture is grounded. - Connect fixture neutral wire (white) to the supply neutral wire
(usually white) using wire nut (E). - Connect fixture hot wire (black) to the supply hot wire (usually black) using wire nut (E).
CAUTION: Do not reverse the hot and neutral connections. - Make sure all wire connections are tight, then carefully tuck into the junction box.
Comtesse Medium Sconce
Item # PCD 2102
NOTICE: This light fixture should be installed in accordance with all applicable, local installation codes, and by a person familiar with the construction and operation of it, as well as the hazards involved. Inspect item and contents carefully. If any damage or defect is found, do not install. Retain all packaging material until installation is complete and approved. - Install fixture (F) to mounting plate (B) and secure with screws (G) using provided wrench (H).
- Install light bulb into the socket.
Care Instructions: Clean only with a soft dry cloth or feather duster. Do not use abrasive or chemical agents.






