MicroTouch SK-190P-A1 Slimline Kiosk Touch Monitor

Product Information
The Slimline Kiosk Touch Monitor is a high-quality touchscreen monitor designed to be used in a kiosk or other public-facing display setting. It is built with durability and usability in mind, making it ideal for high-traffic areas where it may be subject to frequent use.
Key Features
- 19-inch touchscreen display
- High resolution of 1280 x 1024 pixels
- VESA mount compatibility for easy installation
- OSD (On-Screen Display) for easy configuration
- Lockable OSD and power button functions for added security
Product Setup and Use
Before setting up the Slimline Kiosk Touch Monitor, please read the Usage Notice, Precautions, and Warnings sections in the user manual to ensure proper usage and safety.
Configuration and Cable Options
Connect the monitor to a power source using the included power cable. Connect the monitor to a computer or other device using a VGA or HDMI cable (not included). Refer to the user manual forspecific configuration instructions.
Turning Monitor On and Off
To turn the monitor on, press the power button located on the bottom right corner of the monitor. To turn the monitor off, press and hold the power button until the screen goes blank.
On-Screen Display (OSD)
The OSD is a menu system that allows you to adjust various settings on the monitor, such as brightness, contrast, and color.
To access the OSD, press the OSD button located on the bottom right corner of the monitor. Use the arrow keys to navigate through the menu and make adjustments as needed.
Locking the OSD and Power button functions
To prevent unauthorized access to the OSD and power button functions, you can lock them using the OSD menu. Refer to the user manual for specific instructions on how to lock and unlock these functions.
Mounting Options
The Slimline Kiosk Touch Monitor can be mounted using a VESA mount, stand mount, or panel mount. Refer to the user manual for specific instructions on how to mount the monitor.
Specifications and Dimensions
- Screen size: 19 inches
- Resolution: 1280 x 1024 pixels
- Aspect ratio: 5:4
- Brightness: 250 cd/m²
- Contrast ratio: 1000:1
- Response time: 5ms
- Viewing angle: 170° horizontal, 160° vertical
Dimensions
Without stand:
- Width: 16.2 inches
- Height: 13.0 inches
- Depth: 2.0 inches
With stand:
- Width: 16.2 inches
- Height: 15.8 inches
- Depth: 6.7 inches
About This Document
No part of this publication may be reproduced, transmitted, transcribed, stored in a retrieval system, or translated into any language or computer language, in any form or by any means, including, but not limited to, electronic, magnetic, optical, chemical, manual, or otherwise without prior written permission of MicroTouchTM a TES Company.
Compliance Information
For FCC (USA)
This equipment has been tested and found to comply with the limits for a Class B digital device, pursuant to part 15 of the FCC Rules. These limits are designed to provide reasonable protection against harmful interference in a residential installation. This equipment generates, uses, and can radiate radio frequency energy, and if not installed and used in accordance with the instructions, may cause harmful interference to radio communications. However, there is no guarantee that interference will not occur in a particular installation. If this equipment does cause harmful interference to radio or television reception, which can be determined by turning the equipment off and on, the user is encouraged to try to correct the interference by one or more of the following measures:
- Reorient or relocate the receiving antenna.
- Increase the separation between the equipment and receiver.
- Connect the equipment into an outlet on a circuit different from that to which the receiver is connected.
- Consult the dealer or an experienced radio/TV technician for help.
This device complies with part 15 of the FCC Rules. Operation is subject to the following two conditions: (1) this device may not cause harmful interference, and (2) this device must accept any interference received, including interference that may cause undesired operation.
For IC (Canada)
CAN ICES-3(B)/NMB-3(B)
For CE (EU)
The device complies with the EMC Directive 2014/30/EU and Low Voltage Directive 2014/35/EU
Disposal Information
Waste Electrical and Electronic Equipment
This symbol on the product indicates that, under the European Directive 2012/19/EU governing waste from electrical and electronic equipment, this product must not be disposed of with other municipal waste. Please dispose of your waste equipment by handing it over to a designated collection point for the recycling of waste electrical and electronic equipment. To prevent possible harm to the environment or human health from uncontrolled waste disposal, please separate these items from other types of waste and recycle them responsibly to promote the sustainable reuse of material resources.
For more information about recycling of this product, please contact your local city office or your municipal waste disposal service.
Important Safety Instructions
Before using this monitor, please read the user manual thoroughly to help protect against property damage and to ensure your personal safety and the safety of others.
Be sure to observe the following instructions.
For installation or adjustment, please follow the instructions in this manual and refer all servicing to qualified service personnel.
Usage Notice
- Warning
To prevent the risk of fire or shock hazards, do not expose the product to moisture. - Warning
Please do not open or disassemble the product, as this may cause electric shock. - Warning
The AC power cord must be connected to an outlet with ground connection.
Precautions
Please follow all warnings, precautions and maintenance as recommended in this user’s manual to maximize the life of your unit.
Do:
Disconnect the power plug from AC outlet if the product is not going to be used for an extended period of time.
Don’t:
- Do not operate the product under the following conditions:
- Extremely hot, cold or humid environment.
- Areas susceptible to excessive dust and dirt.
- Near any appliance generating a strong magnetic field.
Warnings
- To turn off monitor power, press “Power” on the OSD (On-Screen Display) keypad on the right rear side of the monitor or on the wired remote if it is connected.
- When turning off the monitor by pressing the POWER button on the remote keypad, the main power of the monitor is not turned off completely.
- To disconnect power completely, remove the power plug from the outlet.
- If any of the following occur, remove the power plug from the outlet immediately: the monitor is dropped; the housing is damaged; water is spilled onto or objects dropped inside the monitor.
Failure to immediately remove the power plug may result in fire or electrical shock. Contact qualified service personnel for inspection. - If the power cord or plug is damaged or becomes hot, turn the monitor off, make sure the power plug has cooled down and remove the power plug from the outlet.
- If the monitor is still used in this condition, it may cause fire or electrical shock. Contact your dealer for replacement.
Installation Tips
No Touch Screen Drivers Required
MicroTouch Touch Monitors are plug and play when connected to Windows 7 or later Windows devices; Kernel 3.2 for most builds of Linux; Android 1.0 and most other modern Operating Systems. If you have a non-Plug and Play operating system, please refer to the Technical Support Section of www.microtouch.com or contact MicroTouch Technical Support to inquire about driver support for your particular operating system.
Things to avoid
Don’t install in a high-temperature environment. Operating temperature: 0˚C to 40˚C (0˚F to 104˚F), storage temperature -20 C – 60 C (-4˚F to 140˚F). If the monitor is used in a high temperature environment or near any heat sources, the case and other parts may become distorted or damaged, resulting in overheating or electrical shock.
- Don’t install in a high-humidity environment.
- Operating humidity: 20-90%
- Don’t insert the power plug into anything other than a grounded 100-240V AC outlet.
- Don’t use a damaged power plug or worn outlet.
- The use of extension cords is not recommended.
- The use of the power supply that comes with the MicroTouch product is strongly recommended.
- Don’t place the monitor on an unstable shelf or surface.
- Don’t place objects on the monitor.
- If the monitor is covered or the vents are blocked, the monitor could overheat and cause a fire. Please keep a 10 cm minimum distance between the monitor and the surrounding structures to allow sufficient ventilation.
- Don’t move the monitor when it is connected to the power cord and AV cables.
- When moving the monitor, make sure to remove the power plug and cables from the outlet or source.
- If you encounter a problem during installation, please contact your dealer for assistance. Do not attempt to repair or open the monitor.
Product Overview
This monitor is a commercial grade standard format touch screen solution that is ideal for a wide range of public information and interaction applications that require high quality and reliability in high use environments.
Key Features
- Size: 19″ TFT LCD
- Resolution: 1280 x 1024
- Contrast Ratio: 1000:1
- Aspect Ratio: 5:4
- Brightness: 225 nits
- View Angle: H:170˚, V:160˚
- Video Port: 1 VGA (DB15), 1 HDMI, 1 DP 100 mm x 100 mm VESA mount
- Front is sealed to IP65 standard
- P-cap touch with up to 10 simultaneous touches
- Plug and Play: no touch driver installation required for most modern operating systems
- Warranty: 3 years
Unpacking
When unpacking please ensure that all the items in the following Accessories section are included. If any are missing or damaged, please contact the place of purchase for a replacement
Package Contents
Product Setup and Use
Input and Output Connectors
Power Connector
12 VDC: Power connector (Center pin: + 12 volts DC; Barrel: ground).
Video Signal Input Connectors
- DP (Display Port): Digital video input.
- HDMI: Digital video input.
- VGA: Analog video input.
Optional OSD Remote Connector
RJ11: Connector for the on-screen display (OSD) remote controller, which is used to access the on-screen display menu to select the various options, and to turn the monitor on/off.
Touch Output Connector
USB 2.0 is the touch function output.
Configuration and Cable Options
Power is supplied by the included AC-to-DC power supply’s fixed 12 volt DC cable connector. The included 1.8 m long power cord is used to connect the monitor’s AC to DC converter to an AC wall outlet. Plug the DC barrel connector into the DC jack on the monitor. Plug the AC power cable female connector into the receptacle on the power converter, then plug the male connector of the AC cable into a wall outlet.
Connect the included USB cable from the monitor’s touch output to the computer.
DP, HDMI and VGA video cables are included, and any of the three may be used to connect the video signal. Either DP or HDMI is preferred, as they are digital video signals. VGA may, in some cases, require some video setting adjustments.
Turning Monitor On and Off
- Turning the monitor On
- Connect the monitor to DC power.
- If the monitor does not come on within a few seconds, press the power button on the OSD keypad, outlined in red below, or the optional OSD wired remote.

When the monitor is on, pressing the Power button will open a pop-up that asks if the monitor is to be turned off. If yes, press the Power button again. Press the Power button one more time in response to the final popup to turn the monitor off.
Note: If there is no video input signal for a preset period, the monitor will automatically go into standby mode.
On-Screen Display (OSD)
The Slimline Kiosk monitor series provides OSD controls on the right rear side of the monitor, as viewed from the front, as outlined in red below. An optional wired OSD remote is also available.

Locking the OSD and Power button functions
- Lock OSD: prevents all the monitor settings from being changed. When this function is activated, all OSD controls and hotkey operations will be disabled except for the Power button.
- Lock Power button: Prevents monitor from being turned off by the Power button. The monitor will power on automatically when power is applied.
Either or both functions may be locked.
To Lock/Unlock the OSD/Power buttons:
- Press and hold Select for 5 seconds until the Lock menu appears, showing OSD “Active” (not locked) or “Inactive” (locked) and Power Active or Inactive.
- Use the UP/Down buttons to highlight OSD or Power.
- Press Select.
- Use Up/Down buttons to select Yes or No (to change the setting).
- Press Select.
- The menu will go away after a few seconds and the selected item will lock if unlocked or unlock if locked, or Menu can be pressed to exit and take effect immediately.
Using the OSD Menus
- Navigating through the Menu System
- With the power on, press MENU and the on-screen menu will pop up.
- Within the menu, use
and
SELECT to navigate through the menus and adjust options. Press MENU to return to the previous menu or exit the OSD menu
The OSD menu will automatically close if left idle for a pre-set time.
Picture Menu
- This menu is used for making common image adjustments. Note that some of the adjustments may be grayed out, indicating that they are not selectable.
- This indicates the use of a digital video input signal (DP, HDMI or USB Type-C). These selections are fixed/not adjustable for digital video signals. The VGA video signal (because it is analog) may require all adjustments, so they are all selectable when VGA is being used.

| Contrast |
| Increases or decreases the contrast of the picture. Press, select the desired level, and then press SELECT. Range: 0-100 |
| Brightness |
| Increases or decreases the brightness of the picture. Press, select the desired level, and then press SELECT. Range: 0-100 |
| H-Position |
| Adjust the horizontal position of the picture. Press to select the desired level, and then press SELECT. Selectable only when VGA input is in use. Range: 0-100 |
| V-Position |
| Adjust the vertical position of the picture. Press to select the desired level, and then press SELECT. Selectable only when VGA input is in use. Range: 0-100 |
| Phase |
| Adjust the pixel phase of the picture. Press to select the desired level, and then press SELECT. Selectable only when VGA input is in use. Range: 0-100 |
| Clock |
| Adjust the horizontal dot of the picture. Press to select the desired level, and then press SELECT. Selectable only when VGA input is in use. Range: 0-100 |
| Auto Adjust |
| Adjust and fine-tune the image to full screen automatically. Selectable only when VGA input is in use. |
Advanced Menu
This menu is used to adjust color temperature and image sharpness.
| Color Temp |
| Select the color temperature Options: 5500K, 6500K, 7500K, 9300K, User |
| Red |
| Adjust the amount of red in color content Range: 0-100 |
| Green |
| Adjust the amount of green in color content Range: 0-100 |
| Blue |
| Adjust the amount of blue in color content Range: 0-100 |
| Sharpness |
| Adjusts the definition of the picture. Press Range: 0-50 |
OSD Menu
This menu is used to make set-up adjustments to the OSD itself, as well as other on-screen messages.
| OSD Timeout |
| Adjusts the time in seconds before the OSD menu disappears after no usage. Range: 0-60 sec |
| OSD Position |
| Selects the OSD Position (center or corners). Press Options: Top Left, Bottom Left, Top Right, Bottom Right, Center |
| OSD H-Position |
| Adjusts the horizontal position of the OSD menu. Press Range: 0-100 |
| OSD V-Position |
| Adjust the vertical position of the OSD menu. Press Range: 0-100 |
Option Menu
This menu is used select or display various functions.
| Reset |
| Restore the factory default settings. Options: Yes, No |
| Language |
| Select the OSD language Options: English, French, Deutsch, Italian, Spanish, Japanese, Traditional Chinese and Simplified Chinese |
| Source Select |
| Select the Video Input Source Options: Auto, VGA, HDMI, DP |
| Display Mode |
| Display the current video source and resolution information. |
| Factory |
| Enter factory mode This is only for maintenance service only. Do not use this function. |
OSD Default Settings
Note: N/A applies when a digital video input (DP or HDMI) is in use
| Menu | Parameter | Default Settings |
|
Picture | Contrast | 50 |
| Brightness | 100 | |
| H-Positon | N/A | |
| V-Positon | N/A | |
| Phase | N/A | |
| Clock | N/A | |
| Auto Adjust | N/A | |
| Advanced | Color Temp | User |
| Sharpness | 50 | |
|
OSD | OSD Timeout | 15 |
| OSD Positon | User | |
| OSD H-Positon | 50 | |
| OSD V-Positon | 50 | |
|
Option | Reset | N/A |
| OSD Language | English | |
| Source Select | Auto | |
| Display Mode | N/A | |
| Factory | N/A |
Mounting options
The monitor may be mounted to a stand or other device that has a 100mm x 100mm standard VESA mount hole pattern. It may also be panel mounted.
VESA Mount
The monitor has an integral VESA standard mount pattern that conforms to the “VESA Flat Display Mounting Interface Standard” which defines a physical mounting interface and corresponds to the standards for monitor mounting devices.
Warning
Please use the correct screws! The distance between the back cover surface and the bottom of the screw hole is 8 mm. Please use four M4 diameter screws with 8 mm length to mount the monitor.
Stand Mount
This monitor may be mounted to a stand using the VESA mount pattern. A MicroTouch optional stand is recommended – see the Accessories section of the MicroTouch web site.
Panel Mount
The optional MicroTouch bracket kit BRKT-KIT-A2 can be used to flush-mount the monitor in a panel. Two brackets are mounted to the rear of the panel and two brackets are mounted to the sides or top and bottom of the monitor using the pre-tapped M4 holes. The monitor is then slid into the opening and the bracket pairs are joined using the screws included in the bracket kit. Slots in the panel brackets allow adjustment to slide the monitor into position flush with the front of the panel and the screws are then tightened to secure the monitor in place.

Bracket Detail
Top or Bottom View
3D View 1
3D View 2
Side Hole Detail
Top/Bottom Hole Detail
Specifications and Dimensions
Specifications
| Item | Category | Specifications |
|
LCD Panel | Size | 19” TFT LCD |
| Resolution | 1280 x 1024 | |
| Brightness (typical) | 225 cd/m2 | |
| Contrast Ratio (typical) | 1000 | |
| Number of Colors | 16.7 million | |
| Viewing Angle (typical) | Horizontal: 170 degrees; Vertical: 160 degrees | |
| Touch Screen | Touch Type | P-CAP |
| Simultaneous touch points | Up to 10 | |
| Video | Type | DisplayPort 1.2a HDMI 1.3 (Compatible with HDMI 1.4) VGA |
|
Power | AC Adapter Input | AC 100V – 240V (50/60Hz), 60W max |
| AC Adapter Output | 12VDC, 5A max | |
| Monitor On | 20W typical, 25W max (1.66A typ, 2.08A max) | |
| Power Saving | Sleep mode: ≤ 1W; Off: ≤ 0.5W | |
|
Size and Weight | Dimensions (W x H x D) Without Stand | 416 mm x 344 mm x 46.6 mm |
| 16.38 in x 13.55 in x 1.84 in | ||
| Dimensions (W x H x D) With IS-000-A1 Stand | 369 mm x 379.6 mm x 219 mm | |
| 16.38 in x 14.95 in x 8.63 in | ||
| Net Weight | 4.4 kg without stand, 6.7 kg with IS-000-A1 stand 9.7 lb without stand, 14.78 lb with IS-000-A1 stand | |
| VESA Mount | 100 mm x 100 mm | |
|
Environment | Compliance | CE, FCC, LVD, RoHS |
| Front seal | IP65 | |
| Operating Temperature | 0°C – 40°C | |
| Storage Temperature | -20°C – 60°C | |
| Operating Humidity | 20% – 90% RH, non-condensing |
Supported Timings
| Mode | Resolution | H-Freq. (KHz) | Bandwidth (MHz) | Polarity | |
| H | V | ||||
| 1 | 720 x 400 @ 70 Hz | 31.47 | 28.322 | – | + |
| 2 | 640 x 480 @ 60Hz | 31.47 | 25.175 | – | – |
| 3 | 640 x 480 @ 66Hz | 35 | 32.24 | – | – |
| 4 | 640 x 480 @ 72Hz | 37.86 | 31.5 | – | – |
| 5 | 640 x 480 @ 75Hz | 37.5 | 31.5 | – | – |
| 6 | 800 x 600 @ 56Hz | 35.16 | 36 | + | + |
| 7 | 800 x 600 @ 60Hz | 37.88 | 40 | + | + |
| 8 | 800 x 600 @ 75Hz | 46.88 | 49.5 | + | + |
| 9 | 800 x 600 @ 72Hz | 48.08 | 50 | + | + |
| 10 | 832 x 624 @ 75Hz | 49.72 | 57.283 | – | – |
| 11 | 1024 x 768 @ 60Hz | 48.36 | 65 | – | – |
| 12 | 1024 x 768 @ 70Hz | 56.48 | 75 | – | – |
| 13 | 1024 x 768 @ 75Hz | 60.02 | 78.75 | + | + |
| 14 | 1280 x 1024 @ 60Hz | 64 | 108 | + | + |
| 15 | 1280 x 1024 @ 75Hz | 80 | 135 | + | + |
| 16 | 1152 x 864 @ 75Hz | 67.5 | 108 | + | + |
| 17 | 1280 x 960 @ 60Hz | 60 | 108 | + | + |
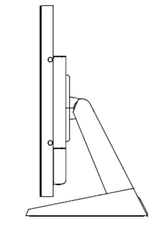
Front view
Side View
Rear View
Side View
Appendix
Cleaning
Turn off the product and disconnect from AC power before cleaning. Turning the product off protects against accidental touch selections that could cause problems or hazardous results. Disconnecting power protects against hazardous interaction between accidental liquid entry and electricity. To clean the case, dampen a clean cloth lightly with water and a mild detergent and wipe gently. Use a soft, dry cloth to clean areas that have ventilation openings to avoid getting any liquid or moisture inside. If liquid does get inside, do not use the product until it has been inspected and tested by a qualified service technician. To clean the touch screen, apply a glass cleaning solution to a soft cloth and wipe the screen clean. To ensure that liquid does not enter the product, do not spray cleaning solution directly onto the touch screen or any other part. Do not use volatile solvents, waxes or any abrasive cleaners on any part of the product.
Solutions to Common Problems
- No image on monitor
- Check that the video signal source device is turned on.
- Check that the selected video input signal matches the video connection.
- The monitor or computer may be in SLEEP mode. Press any key/move the mouse/touch the touchscreen and wait a few seconds to see if the image appears.
- Check that the DC power connector is fully seated.
- Check that the AC cable is securely connected to the wall outlet and to the AC to DC converter.
- Make sure the MicroTouch power converter is being used.
- Try another MicroTouch-approved power converter if possible.
- Monitor display is dim.
- Use the OSD controls to increase the brightness.
- Use the OSD controls to increase the contrast.
- Monitor displays the “Out of Range” message.
- This message will only occur when using the VGA video signal input; use either the HDMI or Display Port video signal input if your signal source equipment supports either of those.
- Reduce the resolution to a resolution the monitor supports – see the Supported Timings chart in the Specifications and Dimensions section of this manual.
- Monitor display image looks strange.
- Try the Auto Adjust function in the OSD (only available when using the VGA video signal input.
- Adjust your computer’s resolution/timing mode to be within the allowable timing ranges specified for your touch monitor (see section above).
- Touch functionality doesn’t work or works incorrectly.
- Make sure the USB cable is properly connected.
- Fully remove any protective sheets from the screen, then cycle power Off/On.
- Ensure that the monitor is in an upright position with nothing touching the screen, then cycle power Off/On.
- Legacy operatic systems, prior to circa 2007, may require drivers to support Touch Devices. Please contact MicroTouch Technical Support.
- Neither the OSD nor power buttons respond when pressed.
- If the wired OSD remote is in use, make sure it is securely connected
Warranty Information
Except as otherwise stated herein, or in an order acknowledgment delivered to Buyer, Seller warrants to Buyer that the Product shall be free of defects in materials and workmanship. The warranty for the touchscreen display and their components is three years. Seller makes no warranty regarding the model life of components. Seller’s suppliers may at any time and from time to time make changes in the components delivered as Products or components. Buyer shall notify Seller in writing promptly (and in no case later than 30 days after discovery) of the failure of any Product to conform to the warranty set forth above; shall describe in commercially reasonable detail in such notice the symptoms associated with such failure; and shall provide to Seller the opportunity to inspect such Products as installed, if possible. The notice must be received by Seller during the Warranty Period for such product, unless otherwise directed in writing by the Seller. Within thirty days after submitting such notice, Buyer shall package the allegedly defective Product in its original shipping carton(s) or a functional equivalent and shall ship to Seller at Buyer’s expense and risk. Within a reasonable time after receipt of the allegedly defective Product and verification by Seller that the Product fails to meet the warranty set forth above, Seller shall correct such failure by, at Seller’s options, either (i)modifying or repairing the Product or (ii) replacing the Product. Such modification, repair, or replacement and the return shipment of the Product with minimum insurance to Buyer shall be at Seller’s expense. Buyer shall bear the risk of loss or damage in transit and may insure the Product. Buyer shall reimburse Seller for transportation cost incurred for Product returned but not found by Seller to be defective. Modification or repair, of Products may, at Seller’s option, take place either at Seller’s facilities or at Buyer’s premises. If Seller is unable to modify, repair, or replace a Product to conform to the warranty set forth above, then Seller shall, at Seller’s option, either refund to Buyer or credit to Buyer’s account the purchase price of the Product less depreciation calculated on a straight-line basis over Seller’s stated Warranty Period. These remedies shall be the buyer’s exclusive remedies for breach of warranty. Except for the express warranty set forth above, seller grants no other warranties, express or implied by statute or otherwise, regarding the products, their fitness for any purpose, their quality, their merchantability, their non-infringement, or otherwise. No employee of Seller or any other party is authorized to make any warranty for the goods other than the warranty set forth herein. Seller’s liability under the warranty shall be limited to a refund of the purchase price of the product. In no event shall Seller be liable for the cost of procurement or installation of substitute goods by Buyer or for any special, consequential, indirect, or incidental damages. Buyer assumes the risk and agrees to indemnify Seller against and hold Seller harmless from all liability relating to (i) assessing the suitability for Buyer’s intended use of the Products and of any system design or drawing and (ii) determining the compliance of Buyer’s use of the Products with applicable laws, regulations, codes, and standards. Buyer retains and accepts full responsibility for all warranty and other claims relating to or arising from Buyer’s products, which include or incorporate Products or components manufactured or supplied by Seller. Buyer is solely responsible for any and all representations and warranties regarding the Products made or authorized by Buyer. Buyer will indemnify Seller and hold Seller harmless from any liability, claims, loss, cost, or expenses (including reasonable attorney’s fees) attributable to Buyer’s products or representations or warranties concerning same.
RoHS Declaration
| Equipment name: Touch LCD Monitor Type designation (Type): SK-190P-A1 | ||||||
|
Component | Restricted substances and their chemical symbols | |||||
| Lead (Pb) | Mercury (Hg) | Cadmium (Cd) | Hexavalent chromium (Cr+6) | Polybrominated biphenyls (PBB) | Polybrominated diphenyl ethers (PBDE) | |
| Plastic Parts | ○ | ○ | ○ | ○ | ○ | ○ |
| Metal Parts | - | ○ | ○ | ○ | ○ | ○ |
| Cable components | - | ○ | ○ | ○ | ○ | ○ |
| LCD Panel | - | ○ | ○ | ○ | ○ | ○ |
| Touch Panel | - | ○ | ○ | ○ | ○ | ○ |
| PCBA | - | ○ | ○ | ○ | ○ | ○ |
| Software | ○ | ○ | ○ | ○ | ○ | ○ |
| Notes 〝○〞indicates that the percentage of the restricted substance does not exceed the permissible limit. 〝−〞indicates that the restricted substance is exempt. | ||||||
www.MicroTouch.com
[email protected]
TES AMERICA LLC | 215 Central Avenue, Holland, MI 49423 | (616) 786-5353
The information presented in this user manual is intended as general information about MicroTouch products and is subject to change. Product specifications and warranties will be governed by TES America, LLC. Standard terms and conditions of sale. Products are subject to availability. Copyright © 2022 TES America, LLC. All rights reserved. Android is a trademark of Google LLC. Windows is a trademark of Microsoft Corporation in the United States and other countries.























