SK-150P-A1 Slimline Kiosk Touch Monitor
User Manual
About This Document
No part of this publication may be reproduced, transmitted, transcribed, stored in a retrieval system, or translated into any language or computer language, in any form or by any means, including, but not limited to, electronic, magnetic, optical, chemical, manual, or otherwise without prior written permission of MicroTouchTm a TES Company.
The information in this document is subject to change without notice. MicroTouchTM a TES Company makes no representations or warranties with respect to the contents herein and specifically disclaims any implied warranties of merchantability or fitness for a particular purpose. MicroTouchTm a TES Company reserves the right to revise this publication and to make changes from time to time in the content hereof without the obligation of MicroTouchTm a TES Company to notify any person of such revisions or changes. Windows is a registered trademark of Microsoft, Inc. Other brands or product names are trademarks of their respective holders.
Compliance Information
For FCC (USA)
This equipment has been tested and found to comply with the limits for a Class B digital device, pursuant to part 15 of the FCC Rules. These limits are designed to provide reasonable protection against harmful interference in a residential installation. This equipment generates, uses, and can radiate radio frequency energy, and if not installed and used in accordance with the instructions, may cause harmful interference to radio communications. However, there is no guarantee that interference will not occur in a particular installation. If this equipment does cause harmful interference to radio or television reception, which can be determined by turning the equipment off and on, the user is encouraged to try to correct the interference by one or more of the following measures:
- Reorient or relocate the receiving antenna.
- Increase the separation between the equipment and receiver.
- Connect the equipment into an outlet on a circuit different from that to which the receiver is connected.
- Consult the dealer or an experienced radio/TV technician for help.
This device complies with part 15 of the FCC Rules. Operation is subject to the following two conditions: (1) this device may not cause harmful interference, and (2) this device must accept any interference received, including interference that may cause undesired operation.
For IC (Canada)
CAN ICES-3(B)/NMB-3(B)
For CE (EU)
The device complies with the EMC Directive 2014/30/EU and Low Voltage Directive 2014/35/EU
Usage Notice
![]() | Warning – To prevent the risk of fire or shock hazards, do not expose the product to moisture. |
![]() | Warning – Please do not open or disassemble the product as this may cause electric shock. |
![]() | Warning – The power cord shall be connected to a socket-outlet with earthing connection. |
![]() | Warning – The cable cover cannot be removed under normal use conditions. |
![]() | Warning – Stability Hazard. The touch monitor may fall, causing serious personal injury or death. To prevent injury, this touch monitor must be securely attached to the wall in accordance with the installation instructions. |
Precautions
Please follow all warnings, precautions, and maintenance as recommended in this user’s manual to maximize the life of your unit.
Do:
- Turn off the product before cleaning.
- Use a soft cloth moistened with mild detergent to clean the product housing.
- Use only the qualified power adapter that comes with your device.
- Disconnect the power plug from the AC outlet if the product is not going to be used for an extended period of time.
Don’t:
- Do not use abrasive cleaners, waxes or solvents for your cleaning.
- Do not operate the product under the following conditions:
– Extremely hot, cold or humid environment.
– Areas susceptible to excessive dust and dirt.
– Near any appliance generating a strong magnetic field.
Chapter 1 Product Introduction
Overview
The SK-150P-A1 series is a 15” touchscreen monitor that builds to withstand commercial-grade open frame monitor, with a stylish thin cable management bracket and versatile
design SK-150P-A1 is an exceptional choice for applications for all business sectors and is well suited for point-of-sale, point-of-information, point-of-service and interactive signage.
Feature
- Cable management bracket design for easy organize cable.
Specifications
| LCD Touch Panel | |
| Size | 15″ TFT LCD |
| Brightness | 350 cd/m2 (Non-touch screen) 315 cd/m2(P-cap touch) |
| Number of Pixels | 1024 (H) x 768 (V) |
| Touch Type | P-CAP/ 10 points |
| Environment | |
| Certificate | CE • FCC – UL/cUL |
| Compliance | Front Panel IP65 Compliant, Rear IPX1 |
| Operating Temperature | 0°C – 40°C |
| Storage Temperature | -20°C – 60°C |
| Operating Humidity | 20% – 80% RH, non-condensing |
| Mounting | VESA 100 mm x 100 mm |
| Dimension (W x H x D) | 337.4 x 265.4 x 44.3 mm |
| Net Weight | 2.7 kg |
| Gross Weight | 4 kg |
Block Diagram

Interface Connectors

Power Connector
The DC power via an external 12V Adapter provides it
Video Signal Connector
VGAThe video signal is input via a D-type 15-pin female connector. Connector Pin Assignment: | |
| Pin | Signal |
| 1 | RED |
| 2 | GREEN |
| 3 | BLUE |
| 4 | NC |
| 5 | GND |
| 6 | RED_RTN |
| 7 | GREEN RTN |
| 8 | BLUE_RTN |
| 9 | +5V |
| 10 | GND |
| 11 | NC |
| 12 | SDA |
| 13 | HSYNC |
| 14 | VSYNC |
| 15 | SCL |
Display Port(1.2a) | |||
| Pin | Signal | Pin | Signal |
| 1 | ML_Lane 0(p) Data° + | 11 | Signal ground |
| 2 | Signal ground | 12 | ML Lane 3(n) Data3 – |
| 3 | ML Lane 0(n) Data° – | 13 | Signal ground |
| 4 | ML_Lane 1(p) Data1 + | 14 | Signal ground |
| 5 | Signal ground | 15 | AUX CH(p) AUX + Signal for Auxiliary Channel |
| 6 | ML_Lane 1(n) Data1 – | 16 | Signal ground |
| 7 | ML_Lane 2(p) Data2 + | 17 | AUX CH(n) AUX – Signal for Auxiliary Channel |
| 8 | Signal ground | 18 | Hot Plug |
| 9 | ML Lane 2(n) Data 2 – | 19 | DP PWR Return |
| 10 | ML Lane 3(p) Data3 + | 20 | DP PWR |
HDMI(1.3) (compatible with HDMI1.4) | |||
| Pin | Signal | Pin | Signal |
| 1 | TMDS Data2+ | 11 | TMDS Clock Shield |
| 2 | TMDS Data2 Shield | 12 | TMDS Clock- |
| 3 | TMDS Data2— | 13 | CEC |
| 4 | TMDS Data1+ | 14 | Reserved (N.C. on device) |
| 5 | TMDS Data1 Shield | 15 | SCL |
| 6 | TMDS Data1— | 16 | SDA |
| 7 | TMDS DataO+ | 17 | DDC/CEC Ground |
| 8 | TMDS data Shield | 18 | +5V Power |
| 9 | TMDS data— | 19 | Hot Plug Detect |
| 10 | TMDS Clock+ | ||
USB Connector | |||
| Pin | Signal | Pin | Signal |
| 1 | VCC | 3 | D+ |
| 2 | D- | 4 | GND |
RJ11 Connector (for Remote Key) (option) | |||
| Pin | Signal | Pin | Signal |
| 1 | MENU | 4 | SELECT |
| 2 | UP | 5 | POWER |
| 3 | DOWN | 6 | GND |
Package Overview

Warming!
This product is intended to be supplied by a Listed Power Adapter or DC power source, rated 12Vdc, 2.5A minimum, Tma = 40 degrees C minimum, and the altitude of operation = 3048m minimum. If it needs further assistance with purchasing the power source, please contact to MicroTouch for further information.
Chapter 2
About VESA Mount
The SK-150P-A1 series conform to the “VESA Flat Display Mounting Interface Standard” which defines a physical mounting interface for touch monitor and corresponds with the standards of touch monitor mounting devices. The VESA mount is located on the back of this unit. 
Warming!
Please select the MicroTouch original screws!
The distance between the back cover surface and the bottom of the screw hole is 8 mm. Please use four M4 screws diameter with 8-10mm proper length to mount your monitor.
Note: The mounting stand must be able to support at least 7.67 lbs (3.48 Kg).
On-Screen Display

| OSD Key | Menu off status | Menu on status |
| MENU | Menu appears | Menu disappear/ return to the main item |
| ▲ | Brightness | Main item select up/ Adjust up |
| ▼ | Contrast | Main item select down/ Adjust down |
| SELECT | Enter/Select sub-item function | |
| Power On/Off | ||
- Press the “MENU” button to pop up the “on-screen menu” and press the “Up” or “Down” button to select among the four functions in the main menu.
- Choose the adjustment items by pressing the “SELECT ” button.
- Adjust the value of the adjustment items by pressing the “Up” or “Down” button.
- With the OSD menu on the screen, press the “ Menu” button to return to the main menu or exit OSD.
- The OSD menu will automatically close if you have left it idle for a preset time.
- To Lock / Unlock the OSD / Power menu buttons, press “Menu” and “Minus” at the same time to select.
OSD / Power the Lock / Unlock function.
Please note:
a. When the OSD Lock function is selected, this indicates that all the buttons except the “power” button are now disabled.
b. When the Power Lock function is selected, this indicates that the power key is disabled; the user can not turn off the monitor by the “Power” key. - To disable the touch function, press the “Menu” and “Enter” keys, at the same time.
- To enable the touch function, press the “Menu” and “Enter” Key, at the same time for five seconds.
- Press the power key button, there will be an OSD window pop up to ask if it should be going off. If press the power key in five seconds, the monitor power will be off. If don’t press the power key in five seconds, the OSD window will be gone and return to the normal status instead.
- Direct input select function.
a. Normal:Press and keep pressing the “Select” key for 3 seconds, will change to pop up “source select” OSD.
b. Sleep status:Press and keep pressing the “Select” key for 1 second, will change to pop up “source select” OSD. - Factory mode: Press the “MENU” button to pop up the “on-screen menu” and select the “Option” icon in the “Factory” item, key in passwords “3”, “3”, “3”, “3” into factory mode.
- Burn-in mode: In Factory, mode select the “Burn In” item into Burin-in mode (unplug the signal cable or do not enter the signal source).
- Work time: In factory mode, displays monitor the work time counting in hours.
OSD Function Description
| Item | Content | Default |
| Contrast | The monitor luminance level control. | 50 |
| Brightness | The monitor backlight level control. | 100 |
| H-Positon | Moving screen image horizontal position to left or right. | NA |
| V-Positon | Moving screen image vertical position to up or down. | NA |
| Phase | The screen image horizontal dot clock adjustment. | NA |
| Clock | The screen image pixel phase adjustment. | NA |
| Auto Adjust | Fine-tune the image to full screen automatically. | NA |
| OSD Timeout | OSD auto-disappear time selection. | 15 |
| Reset | Factory default value restored. | NA |
| OSD Language | OSD menu language selection. ( English, French, Deutsch, Italian, Spanish, Japanese, Traditional Chinese, and Simplified Chinese) | English |
| Source Select | Select Input function.(Auto, VGA, HDMI, DP) | Auto |
| Factory | Factory mode-related adjustment items. | NA |
Timing Table Chart
| Mode | NO | Resolution | H-Freq. (KHz) | Band Width (MHz) | Polarity | |
| H | V | |||||
| 1 | 102 | 720×400 70Hz | 31. | 28. | ||
| 2 | 103 | VGA 640×480 60Hz | 31. | 25. | ||
| 3 | 182 | MAC 640×480 66Hz | 35 | 30. | ||
| 4 | 173 | 640×480 72Hz | 38. | 32. | ||
| 5 | 109 | 640X480 75Hz | 38. | 32. | ||
| 6 | 104 | 800×600 56Hz | 35. | 36 | 1- | + |
| 7 | 116 | 800×600 60Hz | 38. | 40 | + | + |
| 8 | 110 | 800×600 72Hz | 48. | 50 | + | + |
| 9 | 117 | 800×600 75Hz | 47. | 50. | + | + |
| 10 | 108 | 832×624 (74.55Hz) | 50. | 57. | ||
| 11 | 118 | 1024×768 (60.0 Hz) | 48. | 65 | ||
| 12 | 157 | 1024×768 (70.0 Hz) | 56. | 75 | ||
| 13 | 141 | 1024×768 (75.0 Hz) | 60. | 79. | + | + |
EDID Data
VGA
The monitor assembly shall provide a display communications channel that conforms to VESA DDC2B hardware requirements. This configuration shall contain the 128-byte EDID file as specified by VESA EDID Standard
DP/HDMI
The monitor assembly shall provide a display communications channel that conforms to VESA DDC2B hardware requirements. This configuration shall contain the 256-byte EDID file as specified by VESA EDID Standard
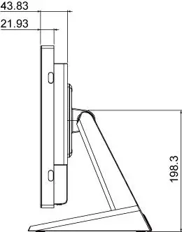
Dimension
Front View

Side View

Rear View

| Equipment name: Touch LCD Monitor Type designation (Type): SK-150P-A1 | ||||||
| Unit | Restricted substances and their chemical symbols | |||||
| Lead (Pb) | Mercury (Hg) | Cadmium (Cd) | Hexavalent chromium (Cr5) | Polybrominated biphenyls (PBB) | Polybrominated diphenyl ethers (PBDE) | |
| Plastic Parts | CD | O | O | O | O | O |
| Metal Parts | — | O | O | O | O | — |
| Cable component | — | O | O | O | O | O |
| LCD Panel | — | O | O | O | O | O |
| Touch Panel | — | O | O | O | O | O |
| PCB | — | O | O | O | O | O |
| Software | O | O | O | O | O | O |
| Note 1: -Exceeding 0.1 wt °/0″ and ‘exceeding 0.01 wt °A)” indicate that the percentage content of the restricted substance exceeds the reference percentage value of the present condition. Note 2: “O” indicates that the percentage content of the restricted substance does not exceed the percentage of the reference value of presence Note 3: The “-” indicates that the restricted substance corresponds to the exemption. | ||||||
VGA
Display Port(1.2a)
HDMI(1.3) (compatible with HDMI1.4)
USB Connector
RJ11 Connector (for Remote Key) (option)

















