6LE003107F
Vector
Mounting instructions

![]()
Vector Surface Mounted Distribution Board


![]() | ![]() |
| Tunnel Terminal | Solid Conductors | Stranded Conductors | 4 to 16 mm2 | Flexible Conductors |
| 0 = 5,7 mm | 1,5 to 16 mm2 | 1,5 to 2,5 mm2 Copper strands must be twisted (note) | 1,5 to 10 mm2 with bootlace ferrules | |
| 0 = 8,1 mm | 4 to 35 mm2 | 4 to 6 mm2 Copper strands must be twisted (note) | 10 to 35 mm2 | 4 to 16 mm2 with bootlace ferrules |
| Note1: Copper strands must be firmly twisted together using a tool i.e. pliers | ||||

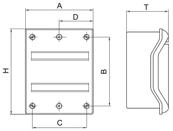
| A | H | T | B | C | D | |
| VE103 | 111 mm | 175 mm | 93 mm | 120 mm | ||
| VE106 | 165 mm | 190 mm | 113 mm | 126 mm | 108 mm | |
| VE110 | 237 mm | 210 mm | 114 mm | 136 mm | 180 mm | |
| VE112 | 310 mm | 302 mm | 151 mm | 155 mm | 230 mm | 115 mm |
| VE212 | 310 mm | 427 mm | 151 mm | 280 mm | 230 mm | 115 mm |
| VE312 | 310 mm | 552 mm | 151 mm | 405 mm | 230 mm | 115 mm |
| VE412 | 310 mm | 677 mm | 151 mm | 530 mm | 230 mm | 115 mm |
| VE118 | 418 mm | 302 mm | 151 mm | 155 mm | 338 mm | 169 mm |
| VE218 | 418 mm | 452 mm | 151 mm | 305 mm | 338 mm | 169 mm |
| VE318 | 418 mm | 602 mm | 151 mm | 455 mm | 388 mm | 169 mm |
![]() | ![]() |

Attention!
It is critical that any enclosure is sized and selected to accommodate and dissipate heat rise generated from all installed devices. The table (right) provides maximum permissible heat dissipation for each golf enclosure size. Please ensure that you calculate the internal heat generated from your installation and select the correct enclosure accordingly.

| Reference | Admissible thermal dissipation loss for surface-mounted distribution boards at temperature rise AT* | ||||
| 10K W | 15K W | 20K W | 25K W | 30K W | |
| VE103.. | 2,4 | 4,0 | 5,7 | 7,5 | 9,4 |
| VE106.. | 3,2 | 5,3 | 7,6 | 10,1 | 12,6 |
| VE110.. | 4,5 | 7,4 | 10,6 | 10,0 | 17,6 |
| VE112.. | 7,7 | 12,8 | 18,3 | 24,2 | 30,3 |
| VE212.. | 9,5 | 15,7 | 23,5 | 29,7 | 37,3 |
| VE312.. | 11,3 | 18,8 | 26,8 | 35,4 | 44,4 |
| VE412.. | 13,2 | 21,8 | 31,2 | 41,2 | 51,7 |
| VE118.. | 9,9 | 16,4 | 23,5 | 31,0 | 38,9 |
| VE218.. | 12,3 | 20,4 | 29,2 | 38,6 | 48,4 |
| VE318.. | 14,8 | 24,6 | 35,2 | 46,4 | 58,2 |
*) ∆T is the temperature difference between the upper limiting temperature of the installed equipment and the ambient air temperature of the distribution board.
The Assembly (DBO) designated markings must be completed as specifi ed in IEC/EN 61439 – 3 clause 6.1.
Hager Industrial de Envolventes S.A., Alfred Nobel 18, 08430 La Roca Del Valles, Spain
T +34 93 842 47 30
F +34 93 842 24 64
[email protected]
hager.com
02.2022






















