SM34-5R-7-930-120-W Edge-Lit Surface Mount
Instruction Manual
SUMOFA-xR-xx-9CCT-120-W
SUMOFA-xR-xx-95CCT-UNVT-W
SUMOFA-xR-xx-95CCT-UNV-W
SM34-5R-7-930-120-W Edge-Lit Surface Mount
RAB Lighting is committed to creating high-quality, affordable, well-designed and energy-efficient LED lighting and controls that make it easy for electricians to install and end users to save energy. We’d love to hear your comments. Please call the Marketing Department at 888-RAB-1000 or email: [email protected]
IMPORTANT
READ CAREFULLY BEFORE INSTALLING FIXTURE. RETAIN THESE INSTRUCTIONS FOR FUTURE REFERENCE. RAB fixture must be wired in accordance with the National Electrical Code and all applicable local codes. Proper grounding is required for safety. THIS PRODUCT MUST BE INSTALLED IN ACCORDANCE WITH THE APPLICABLE INSTALLATION CODE BY A PERSON FAMILIAR WITH THE CONSTRUCTION AND OPERATION OF THE PRODUCT AND THE HAZARDS INVOLVED.
TO PREVENT ELECTRICAL SHOCK, POWER SHOULD BE TURNED OFF AT THE FUSE BOX BEFORE INSTALLATION. SAFETY WARNINGS:
Read all product labels and directions.
- WARNING – Risk of fire or electric shock. Install this kit only in the luminaires that have the construction features and dimensions shown in the photographs and/or drawings and where the input rating of the retrofit kit does not exceed the input rating of the luminaire.
- Installation should be performed only by a qualified electrician in accordance with the National Electrical Code and relevant
local codes. Do not make or alter any open holes in an enclosure of wiring or electrical components during kit installation. - WARNING – To prevent wiring damage or abrasion, do not expose wiring to edges of sheet metal or other sharp objects.
- INSTALLATION SHOULD ONLY BE PERFORMED AFTER POWER TO THE FIXTURE HAS BEEN DISCONNECTED.
- These instructions shall be included on an information sheet packaged with each unit.
- This device complies with Part 15 of the FCC Rules. Operation is subject to the following two conditions: (1) this device may not cause harmful interference, and (2) this device must accept any interference received, including interference that may cause undesired operation.
This equipment has been tested and found to comply with the limits for a Class B digital device, pursuant to part 15 of the FCC Rules. These limits are designed to provide reasonable protection against harmful interference in a residential installation. This equipment generates, uses and can radiate radio frequency energy and, if not installed and used in accordance with the instructions, may cause harmful interference to radio communications. However, there is no guarantee that interference will not occur in a particular installation. If this equipment does cause harmful interference to radio or television reception, which can be determined by turning the equipment off and on, the user is encouraged to try to correct the interference by one or more of the following measures:
- Reorient or relocate the receiving antenna.
- Increase the separation between the equipment and receiver.
- Connect the equipment into an outlet on a circuit different from that to which the receiver is connected.
- Consult the dealer or an experienced radio/TV technician for help.
WHAT’S IN THE BOX

TOOLS NEEDED
Installation with J-BOX
A screw driver is needed for installation
OPTIONAL ACCESSORIES

INSTALLATION WITH J-BOX
- Make sure the POWER IS TURNED OFF at the source to the J-box in which you are installing the product.
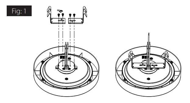
- Fasten mounting plate to J-BOX with mounting screws. (Fig.1)

- Select desired CCT level using switch. (Fig.2)

- Wire the surface mount, white-white, black-black. Once wire connections are made, secure each with a wire nut. (Fig.3)

- Align spring on fixture with mounting plate. (Fig.4)

- Carefully tuck wires into J-Box, and raise the surface mount up into place. (Fig.5)

- Turning surface mount clockwise to lock it in place. (Fig.6)

- Caulk around the mounting surface edge with silicone sealant. (Fig.7)

Note: These instructions do not cover all details or variations in equipment nor do they provide for every possible situation during installation, operation or maintenance.
NSTALLATION WITH 4 INCH HOUSING
- Make sure the power is turned off at the source to the recessed housing(s) that you are installing the fixture(s) in.
Remove existing trim and CFL, or Incandescent bulbs. - Fasten the friction clip on the back of the fixture with four short screws. (Fig.1)

- Wire the fixture with nuts. (Fig.2)

- Plug E26 base cable connection into the recessed housing. (Fig.3)

- Carefully place wires into fixture and push the Surface mount into the housing until flush with ceilings. (Fig.4)

- Caulk around the mounting surface edge with silicone sealant. (Fig.5)

Note: These instructions do not cover all details or variations in equipment nor do they provide for every possible situation during installation, operation or maintenance.
NSTALLATION WITH 6 INCH HOUSING
- Make sure the power is turned off at the source to the recessed housing(s) that you are installing the fixture(s) in.
Remove existing trim and CFL, or Incandescent bulbs. - Fasten the torsion springs on mounting plate with two short screws. (Fig.1)

- Align spring on fixture with mounting plate, and turning mounting plate anticlockwise to lock it in place. (Fig.2)

- Plug E26 base cable connection into the recessed housing. (Fig.3)

- Carefully place wires into fixture and push the Surface mount into the housing until flush with ceilings. (Fig.4)

- Caulk around the mounting surface edge with silicone sealant. (Fig.5)





































