RAB SMPFA1x1S20UNVTW Surface Panel

INSTRUCTIONS
SURFACE PANEL
RAB Lighting is committed to creating high-quality, affordable, well-designed and energy-efficient LED lighting and controls that make it easy for electricians to install and end users to save energy.
We’d love to hear your comments.
Please call the Marketing Department at 888-RAB-1000 or email: [email protected]
- SMPFA1x1S20UNVTW
- SMPFA2x2S45UNVTW
- SMPFA1x2RT22UNVTW
- SMPFA1x4RT45UNVTW

IMPORTANT
READ CAREFULLY BEFORE INSTALLING FIXTURE. RETAIN THESE INSTRUCTIONS FOR FUTURE REFERENCE. RAB fixture must be wired in accordance with the National Electrical Code and all applicable local codes. Proper grounding is required for safety. THIS PRODUCT MUST BE INSTALLED IN ACCORDANCE WITH THE APPLICABLE INSTALLATION CODE BY A PERSON FAMILIARWITH THE CONSTRUCTION AND OPERATION OF THE PRODUCT AND THE HAZARDS INVOLVED
TO PREVENT ELECTRICAL SHOCK, POWER SHOULD BE TURNED OFF AT THE FUSE BOX BEFORE INSTALLATION. SAFETY WARNINGS:
Read all product labels and directions.
- WARNING- Risk of fire or electric shock. Install this kit only in the luminaires that have the construction features and dimensions shown in the photographs and/or drawings and where the input rating of the retrofit kit does not exceed the input rating of the luminaire.
- Installation should be performed only by a qualified electrician in accordance with the National Electrical Code and relevant local codes. Do not make or alter any open holes in an enclosure of wiring or electrical components during kit installation.
- WARNING-To prevent wiring damage or abrasion, do not expose wiring to edges of sheet metal or other sharp objects.
- INSTALLATION SHOULD ONLY BE PERFORMED AFTER POWER TO THE FIXTURE HAS BEEN DISCONNECTED.
- These instructions shall be included on an information sheet packaged with each unit.
- This device complies with Part 15 of the FCC Rules. Operation is subject to the following two conditions:
- this device may not cause harmful interference, and
- this device must accept any interference received, including interference that may cause undesired operation.
This equipment has been tested and found to comply with the limits for a Class B digital device, pursuant to part 15 of the FCC Rules. These limits are designed to provide reasonable protection against harmful interference in a residential installation. This equipment generates, uses and can radiate radio frequency energy and, if not installed and used in accordance with the instructions, may cause harmful interference to radio communications. However, there is no guarantee that interference will not occur in a particular installation. If this equipment does cause harmful interference to radio or television reception, which can be determined by turning the equipment off and on, the user is encouraged to try to correct the interference by one or more of the following measures:
- Reorient or relocate the receiving antenna.
- Increase the separation between the equipment and receiver.
- Connect the equipment into an outlet on a circuit different from that to which the receiver is connected.
- Consult the dealer or an experienced radio/TV technician for help.
WHAT’S IN THE BOX


TOOLS NEEDED
Installation with J-BOX
A screw driver is needed for installation
INSTALLATION WITH BRACKET
- Turn-off/disconnect power at circuit breaker. Attach connector (provided) to AC cable from junction box.
- Attach the bracket to junction box using 2 short screws (provided). Pull the AC cables through the bracket center hole. (Fig.1)

- Align the bracket to final position (angle). Mount 4 long screws (provided) in ceiling through the bracket. (Fig.2)

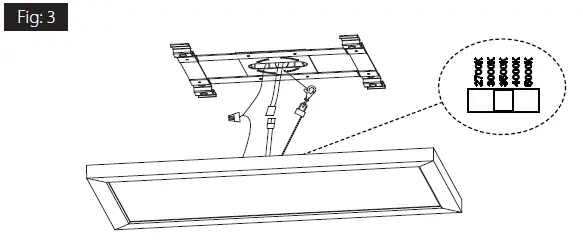
- Select desired CCT. Slide safety wire into slot of bracket. Rest product on safety wire while doing electrical installation. Do not disconnect safety wire after installation. Make wire connections between fixture and junction box with wire nuts (provided). (Fig.3)

- Lift fixture up against bracket. Slide to locked-sign to lock fixture in place. Remove label. (Fig.4)

Image size is too small for OCR Engine 2. Please use Engine 1.
2022 RAB LIGHTING InC.
Cranbury, New Jersey 08512 USA
SMPANFA-IN-0222
Easy Answers
rablighting.com
Visit our website for product info
Tech Help Line
Call our experts: 888 722-1000
e-mail
Answered promptly – [email protected]
Free Lighting Layouts
Answered online or by request
E22: Image size is too small for OCR Engine 2. Please use Engine 1.
























