RAB SUMO-R-12D10 Edge-Lit Surface Mount XL

IMPORTANT
READ CAREFULLY BEFORE INSTALLING FIXTURE. RETAIN THESE INSTRUCTIONS FOR FUTURE REFERENCE.
RAB fixture must be wired in accordance with the National Electrical Code and all applicable local codes. Proper grounding is required for safety. THIS PRODUCT MUST BE INSTALLED IN ACCORDANCE WITH THE APPLICABLE INSTALLATION CODE BY A PERSON FAMILIAR WITH THE CONSTRUCTION AND OPERATION OF THE PRODUCT AND THE HAZARDS INVOLVED.
TO PREVENT ELECTRICAL SHOCK, POWER SHOULD BE TURNED OFF AT THE FUSE BOX BEFORE INSTALLATION. SAFETY WARNINGS: Read all product labels and directions.
WARNING-Risk of fire or electric shock. Install this kit only in the luminaires that have the construction features and dimensions shown in the photographs and/or drawings and where the input rating of the retrofit kit does not exceed the input rating ofthe luminaire.
- Installation should be performed only by a qualified electrician in accordance with the National Electrical Code and relevant local codes. Do not make or alter any open holes in an enclosure of wiring or electrical components during kit installation.
- WARNING – To prevent wiring damage or abrasion, do not expose wiring to edges of sheet metal or other sharp objects.
- INSTALLATION SHOULD ONLY BE PERFORMED AFTER POWER TO THE FIXTURE HAS BEEN DISCONNECTED.
- These instructions shall be included on an information sheet packaged with each unit.
- This device complies with Part 15 of the FCC Rules. Operation is subject to the following two conditions: (1) this device may not cause harmful interference, and (2) this device must accept any interference received, including interference that may cause undesired operation.
This equipment has been tested and found to comply with the limits for a Class B digital device, pursuant to part 15 of the FCC Rules. These limits are designed to provide reasonable protection against harmful interference in a residential installation. This equipment generates, uses and can radiate radio frequency energy and, if not installed and used in accordance with the instructions, may cause harmful interference to radio communications. However, there is no guarantee that interference will not occur in a particular installation. If this equipment does cause harmful interference to radio or television reception, which can be determined by turning the equipment off and on, the user is encouraged totry to correct the interference by one or more of the following measures:
-Reorient or relocate the receiving antenna.
-Increase the separation between the equipment and receiver.
-Connect the equipment into an outlet on a circuit different from that to which the receiver is connected.
-Consult the dealer or an experienced radio/TV technician for help.
WHAT’S IN THE BOX
- Fixture (1)

- Nuts (5)

- Short Screws (2)

- Long Screw with safety wire (1)

- Long Screws (1)

TOOLS NEEDED
Installation with J-BOX
A screw driver is needed for installation
INSTALLATION WITH J-BOX
- Make sure the POWER IS TURNED OFF at the source to the J-box in which you are installing the product.
- Twist & Unlock mounting bracket from surface mount. (Fig. I)

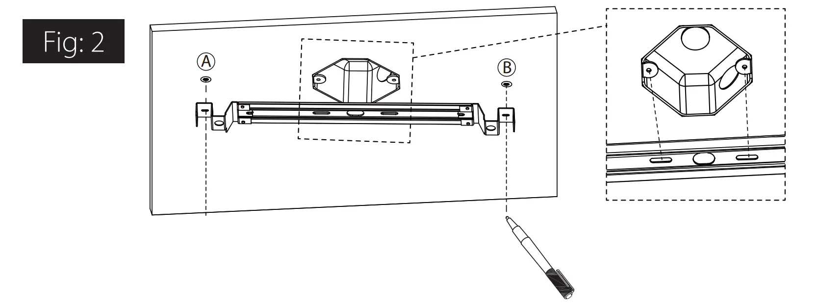
- Use pen to mark holes on ceiling. The holes are on edges of brac.ket (A&B).

- Drill 12mm holes for anchors. (Fig.3)

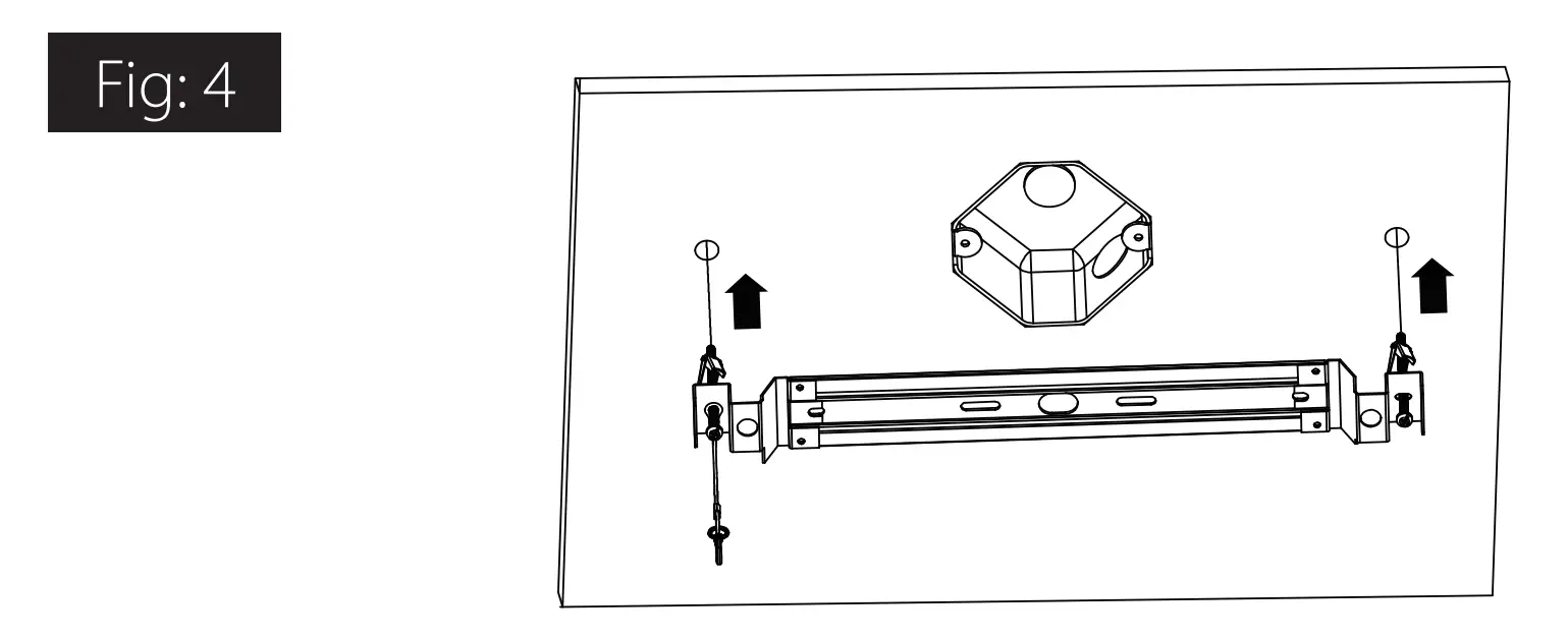
- Attach the mounting bracket using 2 long screws. (Fig.4)

- Attach the Mounting Bracket to J-BOX using 2 short screws. (Fig.5)

- Slide safety wire into slot of surface mount as shown to hold fixture while you make the electrical connections. (Fig.6)

- Select desired CCT level using switch. (Fig.7)

- Wire the surface mount. White-white, black – black, green – green/ground. Purple-purple, pink-pink. Once wire connections are made, secure each with a wire nut. (Fig.8)

- Raise the surface mount up into the mounting bracket, push/feed the electrical wires up through the hole into the J-BOX. (Fig.9)

- Turning surface mount clockwise to lock it in place. (Fig. /10)

- Caulk around the mounting surface edge with silicone sealant. (Fig.11)

Easy Answers
Visit our website for product info
Tech Help
Call our experts: 888 722-1000
Line e-mail
Answered promptly- [email protected]
RAB WARRANTY: RAB’s warranty is subject to all terms and conditions found at rabfighting.com/warranty.



































