
INSTALLATION INSTRUCTIONS
Apply to the below style of LED medicine cabinet
Please read carefully and save these instructions.
Don’t discard any of the packagings until you are sure that you have all of the parts and the fittings.
Make sure power to the junction box is off before commencing installation.
IMPORTANT
- Unpack the LED cabinet. DO NOT lay the cabinet on the tiled or concrete surface prior to installation. The cabinet must be on a protected surface to prevent chipping of the corners.
- Care must be taken before drilling pilot holes to avoid any existing wiring or pipework that may be concealed.
- A certified electrician must perform all work. The mirror must be connected to a GFI.
INSTALLATION
Please refer to the installation diagram in the next two installations manual.
- Unpack the LED mirror cabinet and prepare the tools needed. (See Pic.1)
- Markdown the cardboard screw holes with a pencil. (See Pic.2)
- Drill holes, and put in the plastic expansion bolt, then fix the aluminum bar by screws. (See Pic.3&Pic.4);
- Install the anti-pull bracket below the cabinet. (See Pic.5)
- (Make sure the power is off)Connect the cable before hanging the cabinet to the wall. The way for connecting wires: Black wire to Live Terminal ( L ), White wire to Neutral Terminal ( N ), Green wire to Earth Terminal ( E ) (120V, 60Hz). (See Pic.6)
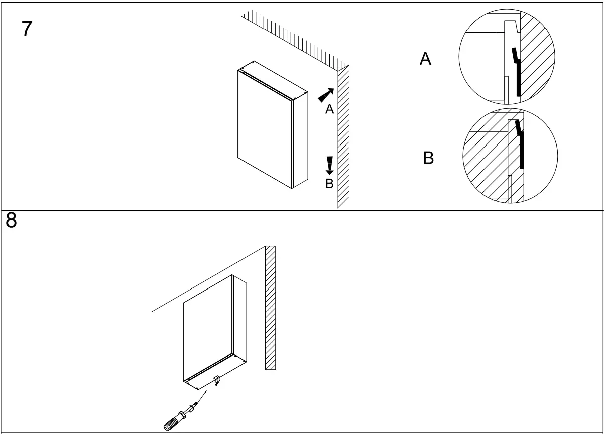
- Hang up the cabinet on the wall. Then use screws to fix the bracket. (See Pic.7&Pic 8)
- According to your needs, plastic buckles into cabinet holes in fit height, then install the glass shelves. (See Pic.9)
FUNCTION DESCRIPTION
Turn on/off the light by motion sensor switch. (At the bottom of the LED medicine cabinet) 
MAINTENANCE
Wipe clean with a soft damp cloth. Apply glass cleaner to a cloth and do not apply directly to mirror.
Never use abrasive cleaners as these could damage the finish or exposed LED strips.
![]() | ![]() |
![]() | ![]() |
![]() | ![]() |

























