HALCYON EX260 LED Surface Mount Spot

Product parameter

Symbols

Class I luminaire, requires earth. Not Double insulated.
LED light source.
The WEEE symbol, indicating separate collection for WEEE-Waste of electrical and electronic equipment, consists of the cross-out wheeled bin.
All the material used is up to standard.
Working current.
SAFETY INSTRUCTIONS
Read these instructions carefully before commencing installation and retain for future reference. The luminaire should be installed by a licensed electrician and in accordance with local regulations. Make sure that the power is off before installation or maintenance. Install as described.
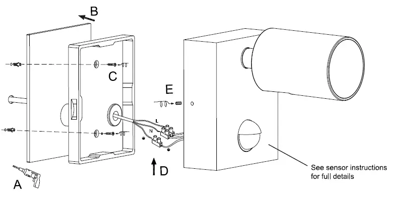
Installation Instructions

Take pride with installation.
Supplied adhesive 3M seal must be used between the installation surface and base plate Cable entry glands and screwheads must be covered in silicone sealant. Failure to do so may cause luminaire failure from water ingress.
Installation Note: The sensor spot comes prewired with an optional “Sensor Override” option. When wired to two switches, the sensor spot can be switched to operate normally (sensor operation) or manually (sensor override). E.g. if the customer wants the option to be able to keep the spot constantly on. The “Sensor Override” cable is connected to a separate switch. When the override is turned on, the sensor function will not work and the fitting will operate as a normal on/off style spot. If this function is not required do not liven the “Sensor Override” cable.
- Modification or misuse of the luminaire voids the warranty.
- Do not connect the luminaire to live power source.
- Take care during installation, incorrect connection may damage the luminaire resulting in a reduced lifespan.
- Halcyon lighting is free to change the design specifications and instructions for the assembly of the luminaire without notice.
- Halcyon Exterior products go through extensive waterproof testing prior to sale.
- All exterior luminaires (with the exception of copper) require periodic cleaning to protect the surface and/or coating from corrosion and ensure tidy appearance for the lifespan of the product. Wash with care using a soft brush and warm soapy water using a neutral detergent. Coastal areas require extra attention, especially fittings that are under eaves/soffits and do not have any exposure to rain. Do not use a water blaster or high-pressure hose, do not submerge fittings for extended periods of time. 316 stainless steel fittings will still develop surface rust or “tea staining” if left uncared for.




















