HALCYON EX143 LED Exterior Inground Uplight

Installations Instruction
Wooden deck installation method utilizing three jaw spring clips.
Attention:
Remove the three-jaw spring clip by unscrewing knurled ring when using plastic outer housing or aluminum tube for concrete installation, and screw the knurled ring back into position after removing the clip.
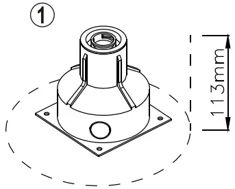
Inground concrete installation with plastic housing Must be installed over the drained substrate. If water cannot effectively drain from the bottom of the housing luminaire will fail from water ingress via a submerged IP67 cable entry gland. The warranty is void if installed incorrectly.

Remove rubber bung

Wall recessed installation with aluminum tube


Remove rubber bung


Wiring Diagram
This luminaire must be installed by a qualified Registered Electrician to prevent damage to the luminaire and maintain electrical safety.
All exterior luminaires (with the exception of copper) require periodic cleaning to protect the surface and/or coaling from corrosion and ensure a tidy appearance for the lifespan of the product. Wash with care using a soft brush and warm soapy water using a neutral detergent. Coastal areas require extra attention, especially fittings that are under eaves/soffits and do not have any exposure to rain. Do not use a water blaster or high-pressure hose, and do not submerge fittings for extended periods of time. 316 stainless steel fittings will still develop surface rust or “tea staining” if left uncared for.



















