EX153 Surface Mount Column Spot Two Way Up-Down Large
Instruction Manual
EX153
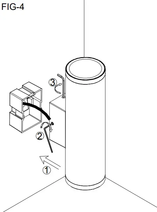
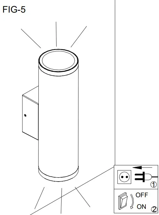
This luminaire must be installed by a qualified Registered Electrician to prevent damage to the luminaire and maintain electrical safety.
If the external flexible cable or cord of this luminaire is damaged, it shall be exclusively replaced by the manufacturer or his service agent or a similar qualified person in order to avoid a hazard.
The light source of this luminaire is not replaceable; when the light source reaches its end of life the whole luminaire shall be replaced
Caution,risk of electric shock.
Base plate,cable entry gland and screw heads must be covered in silicone sealant. Failure to do so may cause luminaire failure from water ingress.
All exterior luminaires (with the exception of copper) require periodic cleaning to protect the surface and/or coating from corrosion and ensure tidy appearance for the lifespan of the product. Wash with care using a soft brush and warm soapy water using a neutral detergent. Coastal areas require extra attention, especially fittings which are under eaves/soffits and do not have any exposure to rain. Do not use a water blaster or high pressure hose, do not submerge fittings for extended periods of time. 316 stainless steel fittings will still develop surface rust or “tea staining” if left uncared for.

























