HALCYON EX161 Surface Mount Column Spot Two Way Up-Down

Product Information
The EX161 luminaire is a lighting fixture that requires installation by a qualified Registered Electrician to ensure proper installation and electrical safety. The luminaire comes with an external flexible cable or cord that should only be replaced by the manufacturer or a qualified person to prevent any hazards. The luminaire features a non-replaceable light source, which means that the entire luminaire needs to be replaced when the light source reaches its end of life. The base plate, cable entry gland, and screw heads must be covered in silicone sealant to prevent water ingress and avoid luminaire failure.
- FIG-1 When installing the luminaire, ensure that the side marked with the up label is installed in the top for backstand.
- FIG-2-A If installing on a concrete surface, please follow the instructions in FIG-1.
- FIG-2-B If installing on a wooden board, make sure the thickness of the board is not less than 5mm.
- FIG-3 Use a tool of your choice to fix the backstand.
- FIG-4 Use the wrench and gasket provided to install the luminaire.
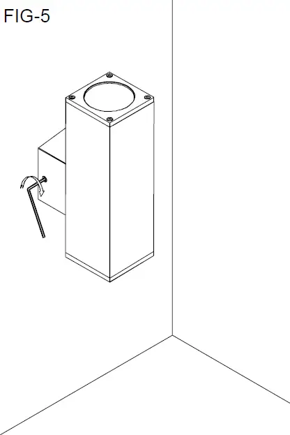
- FIG-5 Please keep the cable outlet in the same vertical direction as the inlet to luminaires.
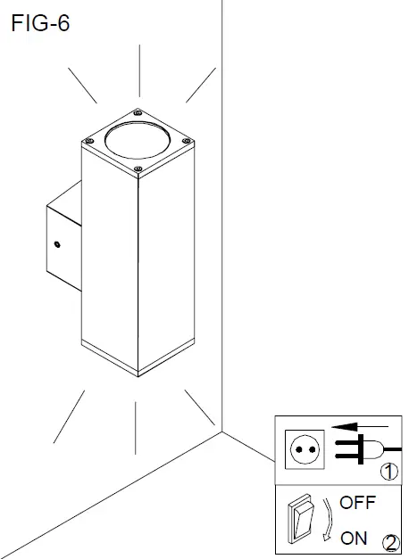
- FIG-6 The luminaire operates at 220-240V and has two switches for on and off functions. The wires are color-coded with blue and brown for N and L respectively, and green/yellow for grounding.
Product Usage Instructions
- Hire a qualified Registered Electrician for proper installation to ensure electrical safety.
- If the external flexible cable or cord is damaged, contact the manufacturer or a qualified person for replacement.
- When installing on a concrete surface, follow the instructions in FIG-1, and when installing on a wooden board, make sure the thickness of the board is not less than 5mm.
- Use a tool of your choice to fix the backstand as shown in FIG-3.
- Use the wrench and gasket provided to install the luminaire asshown in FIG-4.
- Keep the cable outlet in the same vertical direction as the inlet to luminaires as shown in FIG-5.
- Operate the luminaire using the switches provided as shown in FIG-6, and replace the entire luminaire when the light source reaches its end of life.
INSTALLATION







- This luminaire must be installed by a qualified Registered Electrician to prevent damage to the luminaire and maintain electrical safety. If the external flexible cable or cord of this luminaire is damaged, it shall be exclusively replaced by the manufacturer or his service agent or a similar qualified person in order to avoid a hazard.
- The light source of this luminaire is not replaceable; when the light source reaches its end of life the whole luminaire shall be replaced.
- Base plate,cable entry gland and screw heads must be in slimne sealant. Failure to do so may cause luminaire failure from water ingres
- All exterior luminaires (with the exception of copper) require deaning to protect the surface and/or coating from mrrosion and ensure tidy appearance for the lifæpan of the product. Wash with ære using a brush and warm soapy water using a neutral detergent. Coastal areas require extra attention, especially fittings which are under and do not have any to rain. Do not uæ a water blaster or high pressure hose, do not submeæe fittings for of time. 316 stainl%s stæl fittings will still develop surface rust or “tea staining” if left for.




























