Halco FM-DR12-16-CS ProLED Select Flush Mount Double Ring

PLANNING THE INSTALLATION
Read allinstructions before installation. Before starting installation of this fixture or removal of a previous fixture, disconnect the power by turning off the circuit breaker or by removing the fuse at the fuse box.
TOOLS REQUIRED

HARDWARE INGLUDED


PACKAGE CONTENTS


Installation
PREPARING THE FIXTURE
WARNING: Be sure the electricity to the wires you are working on is shut off. Either remove the fuse or turn the circuit off.
- Unscrewing the caps,remove the cover(B)&ring(C) from the base board(A).

PREPARING THE MOUNTING BRACKET
- Align two of the threaded holes on the mounting Bracket(AA) over one set of keyhole slots on the base board(A).
- From the front side of the base board(A),insert the 30mm screws(CC) and ground screw(EE) into the aligned holes, leaving approximate-ly 1inch of space between the screw heads and mounting bracket (AA)

INSTALLING THE MOUNTING BRACKET
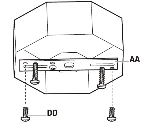
- Attach the mounting bracket (AA) to the outlet box(not included) using the 25mm screws(DD)

CONNECTING THE WIRES
- Connect the copper wire on the base board(A) to the mount-ing bracket(AA) by securing it with the ground screw(EE).
- Use a wire connector(BB) to connect the ground wire from the base board(A) to the ground wire from the outlet box.
- Use a wire connector(BB) to connect the white wire from the base board(A) to the white wire (Neutral wirefrom the outlet box.
- Use a wire connector(BB) to connect the black wire from the base board(A) to the black wire(Live wire) from the outlet box.
- Wrap the three wire connection with electrical tape for a more secure connection. Position the wires inside the outlet box.

SECURING THE FIXTURE
- Align the channels on the fixture with the screws(CC) protruding from the mounting bracket. Slide the base board until it clicks into place over the screws(CC). Tighten the screws(CC) to secure the base board(A) in place.

SELECT CCT AND ATTACHING THE COVER
- Switch to your desired CCT. Attach the cover(B) and ring(C) to the base board(A), screw up.

Safety Information
WARNING: RISK OF PERSONAL INJURY- PLEASE READ A THESE INSTRUCTIONS CAREFULLY. FOLLOW ALL INSTALLATION INSTRUCTIONS AND OBSERVE ALL WARNINGS.
Retain these instructions. If you are an installer, please give these instructions to the property owner for future reference.
- Make sure the “supply” voltage corresponds to the “rated” product voltage 120V 60Hz.
- The product MUST be installed by a qualified electrician in accordance with The National Electrical Code and corresponding local codes.
- If the product is damaged, DO NOT ATTEMPT INSTALLATION AND DO NOT USE.
WARNING: Be sure the electricity to the wires you are working on is shut off. Either remove the fuse or turn the circuit off.
WARNING: Risk of electrical shock: This product must be installed in accordance with the applicable installation code by a professional familiar with the construction and operation of the product. The professional should also be aware of, and understand the hazards involved with the installation of this product.
WARNING: Risk of fire: Always consult with a qualified electrician to ensure the correct branch circuit conductor is utilized. The minimum conductor rating requirement is 90°C (194°F) in order to be code compliant.
CAUTION: Risk of injury: Always wear the necessary safety equipment to prevent injuries when opening, handling, installing and maintaining this product.


















