Vestil VAN-J Series Vehicle Mounted Jib Cranes
Receiving Instructions
After delivery, remove the packaging from the product. Inspect the product closely to determine whether it sustained damage during transport. If damage is discovered, record a complete description of it on the bill of lading. If the product is undamaged, discard the packaging.
NOTE: The end-user is solely responsible for confirming that product design, use, and maintenance comply with laws, regulations, codes, and mandatory standards applied where the product is used.
Technical Service & Replacement Parts
For answers to questions not addressed in these instructions and to order replacement parts, labels, and accessories, call our Technical Service and Parts Department at (260) 665-7586. The Department can also be contacted online at https://www.vestil.com/page-parts-request.php.
Electronic Copies of Instruction Manuals
Additional copies of this instruction manual may be downloaded from https://www.vestil.com/page-manuals.php.
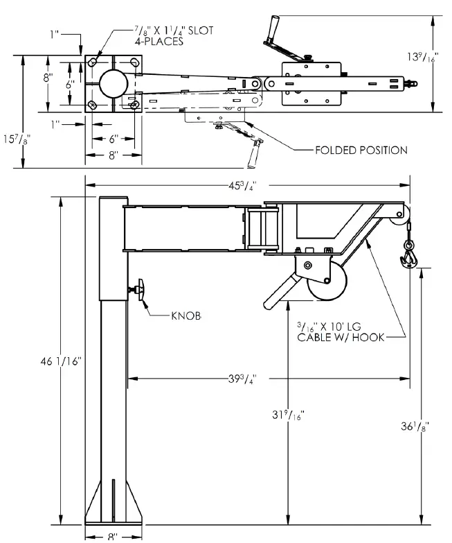
VAN-J (Manual) Specifications (28-007-048) 
Capacity = 400 lb.
Net weight = 95 lb.
Overall width = 139/16”
Usable width = 8”
Overall length = 453/4”
Usable length = 393/4”
Overall height = 461/16”
Usable height = 361/8”
Base mounting holes are 7/8” x 11/4” slots Rotates 360°
Manual winch includes 3/16” x 10’ long cable with hook
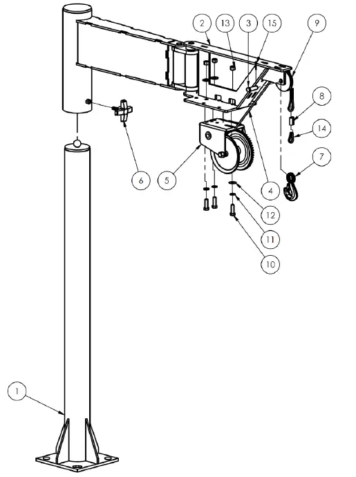
V AN-J (Manual) Explo ded View and Bill of Materials (28-006-048) 
| Item | Part no. | Description | Qty. |
| 1 | 28-514-098 | Weldment, mast receiver | 1 |
| 2 | 28-514-097 | Weldment, arm subassembly | 1 |
| 3 | 28-112-042 | Pin, 1/2”x11/2” retaining clevis, zinc plated | 1 |
| 4 | 21-145-014 | Specialty hardware, 3/16” aircraft cable | 1 |
| 5 | 21-042-002- 001 | Manual winch, foldable handle | 1 |
| 6 | 08-025-007 | Knob, 3/8”-16UNC x 11/4” | 1 |
| 7 | 08-145-045 | Clasp hook, 3/4” mouth opening | 1 |
| 8 | 99-145-067 | Compression sleeve, 3/16” x 1” | 1 |
| 9 | 99-027-003 | Pulley, cable | 1 |
| 10 | 11107 | Hex bolt, gr. A, zinc finish, 3/8”- 16×11/4” | 3 |
| 11 | 33622 | Split lock washer, carbon steel, medium zinc finish, 3/8” | 3 |
| 12 | 33008 | Flat washer, low carbon, USS, zinc plated, 3/8” | 3 |
| 13 | 37024 | Nylon insert lock nut, Gr. 2, zinc finish, 3/8”-16 | 3 |
| 14 | 21-145-013 | Specialty hardware, thimble | 1 |
| 15 | 65076 | 1/8”x1” cotter pin, zinc plated | 1 |
VAN-J-AC Specifications (28-007-283)
Capacity = 400 lb.
Net weight = 247 lb.
Overall width = 915/16”
Usable width = 8”
Overall length = 453/4”
Usable length = 393/4”
Overall height = 461/16”
Usable height = 421/8”
Base mounting holes are 7/8” x 11/4” slots Rotates 360°
AC-powered winch with toggle switch on winch body. Includes 7/32” x 25’ long cable with hook.
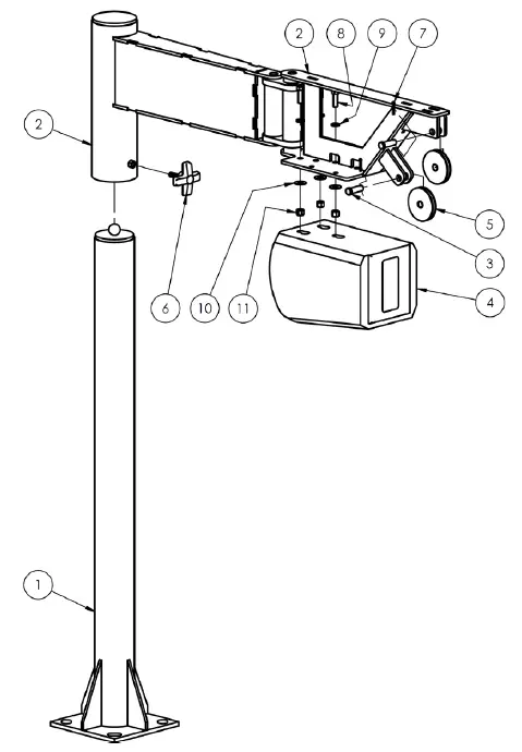
VAN-J-AC Exploded View and Bill of Materials (28-006-283) 
| Item | Part no. | Description | Qty. |
| 1 | 28-514-077 | Weldment, mast receiver | 1 |
| 2 | 28-514-225 | Weldment, arm subassembly | 1 |
| 3 | 28-112-042 | Pin, 1/2”x11/2” retaining clevis, zinc plated | 2 |
| 4 | 28-158-001 | 120VAC winch with clutch | |
| 5 | 99-027-003 | Pulley, cable | 2 |
| 6 | 08-025-007 | Knob, 3/8”-16UNC x 11/4” | 1 |
| 7 | 65076 | 1/8” x 1” cotter pin, zinc plated | 2 |
| 8 | 11107 | Hex bolt, gr. A, zinc finish, 3/8”- 16×11/4” | 3 |
| 9 | 33622 | Split lock washer, carbon steel, medium zinc finish, 3/8” | 3 |
| 10 | 33008 | Flat washer, low carbon, USS, zinc plated, 3/8” | 3 |
| 11 | 37024 | Nylon insert lock nut, Gr. 2, zinc finish, 3/8”-16 | 3 |
VAN- J-DC Specifications (28-007-250) 
Capacity = 400 lb.
Net weight = 129 lb.
Overall width = 125/16”
Usable width = 8”
Overall length = 453/4”
Usable length = 393/4”
Overall height = 461/16”
Usable height = 421/8”
Base mounting holes are 7/8” x 11/4” slots Rotates 360°
12V DC-powered winch with the handheld pushbutton controller. Includes 3/16” x 46’ long cable with hook.
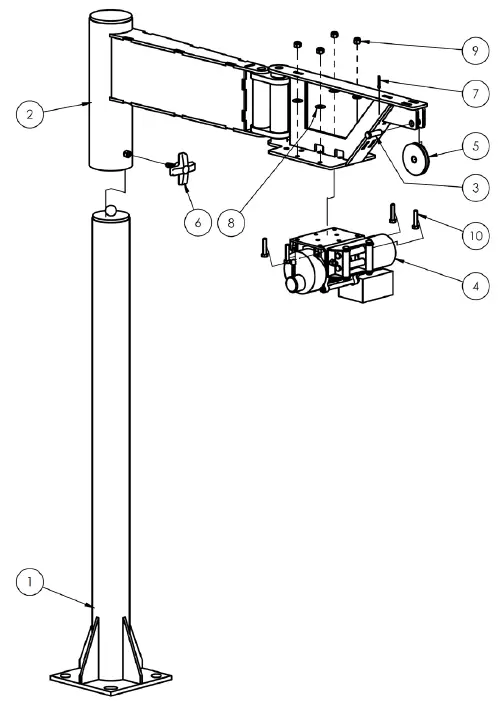
VAN-J-DC Exploded View and Bill of Materials (28-006-250) 
| Item | Part no. | Description | Qty. |
| 1 | 28-514-077 | Weldment, mast receiver | 1 |
| 2 | 28-514-187 | Weldment, arm subassembly | 1 |
| 3 | 28-112-042 | Pin, 1/2”x11/2” retaining clevis, zinc plated | 1 |
| 4 | 28-158-003 | 12V DC winch | 1 |
| 5 | 99-027-003 | Pulley, cable | 1 |
| 6 | 08-025-007 | Knob, 3/8”-16UNC x 11/4” | 1 |
| 7 | 65076 | 1/8” x 1” cotter pin, zinc plated | 1 |
| 8 | 33006 | Flat washer, USS, zinc plated, 5/16” | 4 |
| 9 | 37021 | Nylon insert lock nut, Gr. 2, zinc finish, 5/16”-18 | 4 |
| 10 | 11059 | Hex bolt, gr. A, zinc finish, 5/16”- 18×11/2” | 4 |
SIGNAL WORDS
SIGNAL WORDS appear in this manual to draw the reader’s attention to important safety-related messages. The following are signal words used in this manual and their definitions.
DANGER Identifies a hazardous situation which, if not avoided, WILL result in DEATH or SERIOUS INJURY. The use of this signal word is limited to the most extreme situations.
WARNING: Identifies a hazardous situation which, if not avoided, COULD result in DEATH or SERIOUS INJURY.
CAUTION: Indicates a hazardous situation which, if not avoided, COULD result in MINOR or MODERATE injury.
NOTICE: Identifies practices likely to result in product/property damage, such as operations that might damage the product.
SAFETY INSTRUCTIONS
Vestil strives to identify foreseeable hazards associated with the use of its products, but no manual can address every conceivable risk. Minimize the likelihood of injury by observing the hazards identified below and by inspecting and maintaining the product as instructed in INSPECTIONS & MAINTENANCE on p. 5-6.
DANGER
Do not install or use the crane in areas where it will contact electrified wires. Electrocution might occur if the crane, hoist, or load, etc. contacts electrified wires.
WARNING
The improper or careless operation might result in serious personal injuries.
- Apply operation, inspection, & maintenance recommendations in 29 CFR 1910.179. Contact the occupational safety & health institution of your state for requirements applied to jib cranes.
- DO NOT use a damaged or malfunctioning jib! Restore the crane to SATISFACTORY CONDITION before returning it to service. See RECORD OF SATISFACTORY CONDITION on p. 8.
- DO NOT exceed the capacity of your jib. See SPECIFICATIONS for your crane, p. 2, 3, or 4. The weights of the load, rigging, and all other equipment attached to the jib must be added together to determine the net weight applied to the jib. The net weight must not exceed the capacity.
- Always perform the FUNCTION TESTS on p. 6 before each use.
- DO NOT climb on, sit on, or hang from a suspended load.
- DO NOT put any part of your body under the load while it is suspended.
- NO ONE should ever stand beneath or travel under a crane when a load is suspended from it.
- DO NOT use the jib to lift/support people.
- Instruct others to stay out of the usage area during operation.
- NO ONE should ever stand beneath or travel under a crane when a load is suspended from it.
- DO NOT use the jib to lift/support people.
- DO NOT lift a load unless it is centered below the winch hook. Failure to properly position a load might cause the load to swing when it is lifted. Contact with a swinging load could cause serious injuries. ALWAYS load the jib as recommended in USING THE CRANE on p. 7.
- DO NOT use the crane if any label is unreadable, damaged, or missing. See LABELING DIAGRAM on p. 9. Contact Vestil for replacement labels.
- DO NOT modify the crane! Modifications automatically void the LIMITED WARRANTY on either p. 10 or p. 11 and might make the crane unsafe to use.
ASSEMBLING THE CRANE
Install the boom over the top of the mast. Install the knob and tighten it against the mast.
INSTALLING THE CRANE
Refer to the applicable exploded view on pages 2, 3, or 4.
Step 1: Contact the vehicle manufacturer to determine the appropriate place to install the crane as well as the hardware that should be used to fasten the crane to the vehicle. (Bolt slots in the mounting plate are 7/8” x 11/4” to accept bolts up to 3/4” in diameter). When choosing an installation site, consider the following factors:
- The vehicle must be able to support the combined weight of the crane and a load weighing 125% of the capacity, i.e. 400 lb. x 1.25 = 500 lb.
- The installation location must also be able to withstand the dynamic forces exerted on it by the jib as the vehicle moves.
- The boom must be able to rotate freely, i.e. without running into the sides of the vehicle.

Step 2: Put the jib into the storage configuration. Fold the boom against itself and wrap a strap around it. The jib should remain completely assembled and in storage configuration during the installation.
Step 3: Using the mounting plate as a template, mark the locations of the bolt holes on the vehicle surface. Drill 9/16” holes in the locations of the markings for the anchoring hardware.
Step 4: Align the bolt holes in the mounting plate with the holes drilled in step 3. One person should stabilize the jib while the other fastens the mounting plate to the vehicle using the hardware and any backing or stiffeners recommended by the vehicle manufacturer.
Step 5 [DC and AC models]: Prepare the winch for operation.
- [AC units]: Connect the power cord to the power supply.
- [DC units]: Connect the power supply cord and pendant control cable to the winch.
Step 6: Lower and raise the cable hook.
- Manual units: Wind the handle clockwise to raise the hook or counterclockwise to lower the hook.
- Powered units: press the up and down buttons on either the toggle switch (AC units) or the handheld pendant controller (DC units). Watch the cable. Confirm that it smoothly winds off of and onto the winch spool.

FUNCTION TESTS
Verify that the jib operates normally by performing the tests below. If an issue is discovered, tag the crane “Out of Service”. Restore the crane to normal operating condition before returning it to service.
- Test the mast bearing: Rotate the boom in both directions. Make sure that it rotates smoothly. Listen for unusual noises. If the crane wobbles or is unusually noisy as it rotates, remove the boom from the mast and grease the bearing at the top of the mast. If lubrication does not resolve the problem, the bearing might need to be replaced. Contact the factory to discuss the problem and to order replacement parts.
- Test the winch: Lower and raise the load hook. Make sure that the hook moves at a constant rate. The cable should not bind as the winch operates.
USING THE CRANE
To properly operate the crane, apply the following steps.
- Connect the power cord to the power supply.
- AC units: connect to a properly grounded, GFCI-protected, 115V outlet.
- DC units: make sure battery connections are secure.
- Apply appropriate rigging to the load.
- Adjust the length and angle of the boom as your application requires. Consult the appropriate table on page 2 to make sure that the load does not exceed the capacity of the crane in its present configuration.
- If your crane has a manual winch, stand on the same side of the crane as the winch handle. Turn the handle clockwise to lower the hook. If your winch is equipped with a powered winch, then it is electronically controlled. Both AC and DC-powered winches utilize a constant pressure (“dead man”) pushbutton controller. Press the DOWN button on the handheld controller. The winch will operate only while a control button is pressed. Releasing the button causes the winch to stop and the hook will maintain its position. Lower the hook sufficiently to attach the load rigging to it. The load center should be directly below the hook to prevent significant load swing as it rises. Proper and improper positioning is diagrammed below:


- Tighten the knob tightly against the mast.
- Turn the winch handle counterclockwise or press the UP button to raise the load. Loosen the knob and slowly rotate the boom. Position the load as desired; then lower it until it is entirely supported by the vehicle.
NOTE: Powered winches are designed for intermittent use. Extended use without pause to allow the motor to cool will damage the motor. Maximum continuous run time is 3 minutes. - Put the crane into storage configuration:
- Fold the boom against itself.
- Strap the boom sections together.
- [AC and DC units] Unplug the winch power cord and store it inside the vehicle whenever the jib is not in use.
RECORD OF SATISFACTORY CONDITION (THE “RECORD”)
Before putting the crane into service, create a written record that describes the appearance of each part of the crane and how it operates. Take photographs from multiple angles. Include close-range photos of all labeling, mounting bolts, pulleys, pivot points, hooks, fasteners, and the winch. Cycle the winch up and down. Record your observations about how the unit looks and sounds as the hook rises and lowers. Measure the throat opening of the hook and record the measurement. Collect all writings and photographs into a single file. This file is a record of the crane in satisfactory condition. Compare results of all inspections to this Record to determine whether a component is in satisfactory condition or if it requires repair or replacement. Restore the unit to satisfactory condition before returning it to service.
INSPECTIONS & MAINTENANCE
Inspections and repairs should only be performed by qualified persons. Compare the results of each inspection to the RECORD OF SATISFACTORY CONDITION (the “RECORD”). Do not use the crane unless all parts are in satisfactory condition. Replace parts that are not in satisfactory condition before returning the crane to service. DON’T GUESS! If you have any questions about the condition of your crane, contact the TECHNICAL SERVICE department. The phone number is provided on the cover page of this manual. Never make temporary repairs of damaged or missing parts. Only use manufacturer-approved replacement parts. Inspect and maintain the unit as described below to preserve normal operability. Remove it from service if it is damaged in any way that affects normal operation. If the unit cannot be restored to satisfactory condition, disassemble it and dispose of the parts. The unit must be retested at 125% of its rated capacity anytime the crane is repaired or modified. Inspect the following:
At least once per month
- Winch and pulleys: cycle the winch up and down. Confirm that the cable winds off of and back onto the drum smoothly. The hook should not lower on its own. The cable pulley should not be loose or severely worn and should rotate freely as the cable passes over it.
- Winch cable: check for reeving, fraying, thinning, birdcaging, and elongating regions. If the cable is damaged, replace it.
- [Powered units] Winch power cord: examine the cord for damage and areas where the outer sheath has been damaged. Repair all damage before using the winch again.
- Frame elements: examine the mast and both segments of the boom for damage, deformation, corrosion, cracked welds, and severe wear. Inspect all pivot points for severe wear. All frame members should be square, rigid, and free of significant rusting. Remove rust with steel wool or a metal bristle brush , clean the areas to remove rust particles, and apply touchup paint to the affected areas.
- Hook: visually inspect the hook before each use. Look for deformations and cracks. Immediately discard the hook if it is cracked or if the throat opening is more than 15% in excess of the original throat opening. Discard the hook if it is twisted more than 10° from the plane of the hook in its original condition. Confirm normal operation and operation of the safety latch.
- Vehicle: inspect the vehicle where the crane is mounted. Closely examine the area around the mounting plate. Look for rust, corrosion, and metal fatigue. Check the mounting plate (base of the mast), the anchoring hardware, and the vehicle bed/floor particularly around the anchor bolts. Make sure that the mast is securely anchored (i.e. does not wobble). Confirm that anchoring hardware is in normal condition.
- Labels: confirm that all labels are in good condition and in place as shown in the “Labeling Diagram” (p. 9).
At least every 6 months
Conduct a load test. Lift a test weight equal to 125% of the capacity (500 lb.). After the test, examine the crane, winch, cable, and the vehicle where the crane is mounted. Look for deformations, cracks, and metal fatigue. Do not continue to use the crane unless both it and the supporting vehicle are in normal condition.
TROUBLESHOOTING
Unload the crane and (if applicable) disconnect the winch from the power supply before troubleshooting an issue.
| Problem | Possible causes | Solutions |
| 1) Winch doesn’t work when button pressed | a. No supply voltage b. Bad connection in control circuit c. Battery discharged | a. Test with the meter. Check circuit protectors for open conditions. If circuit protection has opened, test all parts of the circuit with a multimeter. Verify power supply cord and controller cord are properly attached to the winch. b. Test with a multimeter. c. Test with a volt meter. The charging battery is low (12.65V = full charge). |
| 2) Cable jumps or lurches as the winch operates | d. Poor spooling on winch reel/drum
e. Kink in cable | d. Spool out the cable and inspect it for kinks, etc. Re-spool cable onto winch reel. Replace cable if damaged. e. Replace cable if kinks cannot be straightened. |
| 3) Winch motor hums but drum does not rotate | f. Overload condition
g. Supply voltage too low | f. Reduce load weight. Verify cable not binding. g. Check with the meter. Charge the battery (DC units) or change the supply cord (AC units). The supply cord should be as wide and short as possible. |
| 4) Mast does not rotate without great effort | h. Knobs tightened. i. Bearing overly worn. | h. Loosen knobs. i. Remove mast from mast receiver. Inspect bearing. Replace the bearing if severely worn. |
| 5) Personnel receive electric shocks when touching the jib or vehicle when winch in use. | j. Operating winch in wet conditions (WARNING! Electrocution risk. DO NOT DO THIS!) k. Winch wiring problem. | j. Allow the winch to dry completely before using it again. k. Check the winch electrical circuit including the ground. |
LABELING DIAGRAM
Label content and location are subject to change so your product might not be labeled exactly as shown. Compare the diagram below with the RECORD. If you have any questions about labeling, contact TECHNICAL SERVICE. Replace all labels that are damaged, missing, or not easily readable (e.g. faded). To order replacement labels, contact the technical service and parts department online at http://www.vestilmfg.com/parts_info.htm. Alternatively, request replacement parts and/or service by calling (2 60) 665-7586 and asking the operator to connect you to TECHNICAL SERVICE.
LIMITED WARRANTY
VAN-J-AC & VAN-J-DC
Vestil Manufacturing Corporation (“Vestil”) warrants this product to be free of defects in material and workmanship during the warranty period. Our warranty obligation is to provide a replacement for a defective, original part covered by the warranty after we receive a proper request from the Warrantee (you) for warranty service.
Who may request service?
Only a warrantee may request service. You are a warranty if you purchased the product from Vestil or from an authorized distributor AND Vestil has been fully paid.
Definition of “original part”?
An original part is a part used to make the product as shipped to the Warrantee.
What is a “proper request”?
A request for warranty service is proper if Vestil receives: 1) a photocopy of the Customer Invoice that displays the shipping date; AND 2) a written request for warranty service including your name and phone number. Send requests by one of the following methods:
| US Mail Vestil Manufacturing Corporation | Fax (260) 665-1339 | Email [email protected] |
| 2999 North Wayne Street, PO Box 507 | Phone | Enter “Warranty service |
| Angola, IN 46703 | (260) 665-7586 | request” in subject field. |
In the written request, list the parts believed to be defective and include the address where replacements should be delivered. After Vestil receives your request for warranty service, an authorized representative will contact you to determine whether your claim is covered by the warranty. Before providing warranty service, Vestil will require you to send the entire product, or just the defective part (or parts), to its facility in Angola, IN.
What is covered under the warranty?
The warranty covers defects in the following original, dynamic parts: motors, hydraulic pumps, electronic controllers, switches, and cylinders. It also covers defects in original parts that wear under normal usage conditions (“wearing parts”), such as bearings, hoses, wheels, seals, brushes, and batteries.
How long is the warranty period?
The warranty period for original dynamic components is 90 days. For wearing parts, the warranty period is 90 days. Both warranty periods begin on the date Vestil ships the product to the Warrantee. If the product was purchased from an authorized distributor, the periods begin when the distributor ships the product. Vestil may, at its sole discretion, extend a warranty period for products shipped from authorized distributors by up to 30 days to account for shipping time.
If a defective part is covered by the warranty, what will Vestil do to correct the problem?
Vestil will provide an appropriate replacement for any covered part. An authorized representative of Vestil will contact you to discuss your claim.
What is not covered by the warranty?
The Warranty (you) are responsible for paying labor costs and freight costs to return the product to Vestil for warranty service.
Events that automatically void the Limited Warranty.
- Misuse;
- Negligent assembly, installation, operation or repair;
- Installation/use in corrosive environments;
- Inadequate or improper maintenance;
- Damage sustained during shipping;
- Collisions or other accidents that damage the product;
- Unauthorized modifications: Do not modify the product IN ANY WAY without first receiving written authorization from Vestil.
Do any other warranties apply to the product?
Vestil Manufacturing Corp. makes no other express warranties. All implied warranties are disclaimed to the extent allowed by law. Any implied warranty not disclaimed is limited in scope to the terms of this Limited Warranty. Vestil makes no warranty or representation that this product complies with any state or local design, performance, or safety code or standard. Noncompliance with any such code or standard is not a defect in material or workmanship.
LIMITED WARRANTY: VAN-J (manual winch)
Vestil Manufacturing Corporation (“Vestil”) warrants this product to be free of defects in material and workmanship during the warranty period. Our warranty obligation is to provide a replacement for a defective, original part covered by the warranty after we receive a proper request from the Warrantee (you) for warranty service.
Who may request service?
Only a warrantee may request service. You are a warrantee if you purchased the product from Vestil or from an authorized distributor AND Vestil has been fully paid.
Definition of “original part”?
An original part is a part used to make the product as shipped to the Warrantee.
What is a “proper request”?
A request for warranty service is proper if Vestil receives: 1) a photocopy of the Customer Invoice that displays the shipping date; AND 2) a written request for warranty service including your name and phone number. Send requests by one of the following methods:
| US Mail Vestil Manufacturing Corporation | Fax (260) 665-1339 | Email [email protected] |
| 2999 North Wayne Street, PO Box 507 | Phone | Enter “Warranty service |
| Angola, IN 46703 | (260) 665-7586 | request” in subject field. |
In the written request, list the parts believed to be defective and include the address where replacements should be delivered. After Vestil receives your request for warranty service, an authorized representative will contact you to determine whether your claim is covered by the warranty. Before providing warranty service, Vestil will require you to send the entire product, or just the defective part (or parts), to its facility in Angola, IN.
What is covered under the warranty?
The warranty covers defects in the following original, dynamic parts: motors, hydraulic pumps, electronic controllers, switches, and cylinders. It also covers defects in original parts that wear under normal usage conditions (“wearing parts”), such as bearings, hoses, wheels, seals, brushes, and batteries.
How long is the warranty period?
The warranty period for original dynamic components is 90 days. For wearing parts, the warranty period is 90 days. Both warranty periods begin on the date Vestil ships the product to the Warrantee. If the product was purchased from an authorized distributor, the periods begin when the distributor ships the product. Vestil may, at its sole discretion, extend a warranty period for products shipped from authorized distributors by up to 30 days to account for shipping time.
If a defective part is covered by the warranty, what will Vestil do to correct the problem?
Vestil will provide an appropriate replacement for any covered part. An authorized representative of Vestil will contact you to discuss your claim.
What is not covered by the warranty?
The Warranty (you) are responsible for paying labor costs and freight costs to return the product to Vestil for warranty service.
Events that automatically void the Limited Warranty.
- Misuse;
- Negligent assembly, installation, operation or repair;
- Installation/use in corrosive environments;
- Inadequate or improper maintenance;
- Damage sustained during shipping;
- Collisions or other accidents that damage the product;
- Unauthorized modifications: Do not modify the product IN ANY WAY without first receiving written authorization from Vestil.
Do any other warranties apply to the product?
Vestil Manufacturing Corp. makes no other express warranties. All implied warranties are disclaimed to the extent allowed by law. Any implied warranty not disclaimed is limited in scope to the terms of this Limited Warranty. Vestil makes no warranty or representation that this product complies with any state or local design, performance, or safety code or standard. Noncompliance with any such code or standard is not a defect in material or workmanship.
Vestil VAN-J Series Vehicle Mounted Jib Cranes
Receiving Instructions

























