Vestil FHS-Series Steel Fixed Height Gantry Cranes

Receiving Instructions
After delivery, remove the packaging from the product. Inspect the product closely to determine whether it sustained damage during transport. If damage is discovered, record a complete description of it on the bill of lading. If the product is undamaged, discard the packaging.
NOTE:
The end-user is solely responsible for confirming that product design, use, and maintenance comply with laws, regulations, codes, and mandatory standards applied where the product is used.
Technical Service & Replacement Parts
For answers to questions not addressed in these instructions and to order replacement parts, labels, and accessories, call our Technical Service and Parts Department at (260) 665-7586. The department can also be contacted online at https://www.vestil.com/page-parts-request.php.
Electronic copies of Instruction Manuals
Additional copies of this instruction manual may be downloaded from https://www.vestil.com/page-manuals.php.
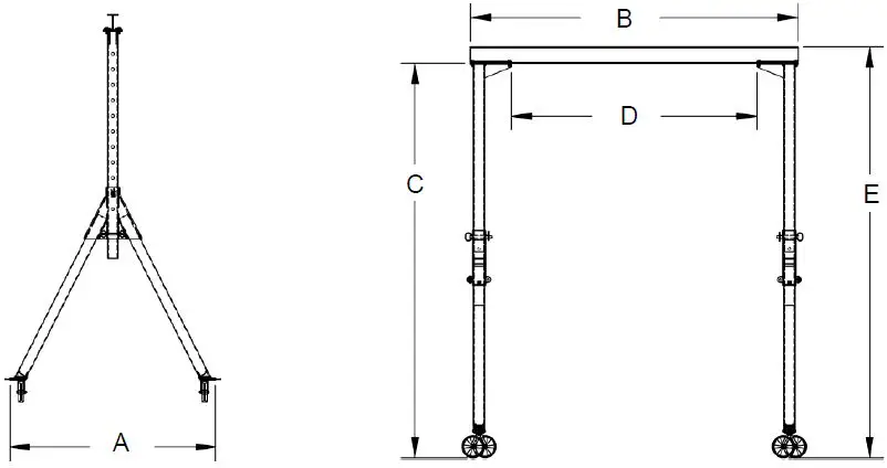
SPECIFICATIONS
Dimensions, net weight, and capacity information for each FHS-series crane are diagrammed and provided in the following table. However, product design changes might alter specifications, particularly dimensions, and net weight, for 1 or more models. Specifications documents for FHS-series cranes are provided on Vestil’s website. To access the appropriate specifications document, navigate to the relevant webpage: https://www.vestil.com/product.php?FID=519. Click the “Product Specifications Table” drop-down menu bar partway down the page. Scroll down to the entry for the model you purchased and click the button in the column titled “PDF” which looks like a pencil inside a box. A PDF file will open. This file is the specifications document. Print a copy of the document and keep it with your copy of this manual. The following is an exemplary specifications document.
NOTE: 1 or more models listed in the following tables might be discontinued between revisions of this manual.
| Model | A: Overall width | B: Overall Beam Length | C: Height to bottom of the beam | D: Usable beam length | E: Overall height | Capacity | Net Weight in Pounds (kg) |
| FHS-50 | 461/2 in. 118.1 cm | 2393/4 in. 609 cm | 69 in. 175.3 kg | 2093/4 in. 532.8 cm | 753/16 in. 191 cm | 500 lb. 227.3 kg | 609.8 lb. 277.2 kg |
| FHS-2-10 | 641/4 in. 163.2 cm | 1193/4 in. 304.2 cm | 120 in. 304.8 cm | 893/4 in. 228 cm | 126 in. 320 cm | 2,000 lb. 909.1 kg | 671.8 lb. 305.4 cm |
| FHS-2-15 | 641/4 in. 163.2 cm | 1793/4 in. 456.6 cm | 120 in. 304.8 cm | 1493/4 in. 380.4 cm | 126 in. 320 cm | 2,000 lb. 909.1 kg | 732.2 lb. 332.8 cm |
| FHS-2-20 | 641/4 in. 163.2 cm | 2393/4 in. 609 cm | 120 in. 304.8 cm | 2093/4 in. 532.8 cm | 1305/16 in. 331.0 cm | 2,000 lb. 909.1 kg | 853 lb. 387.7 kg |
| FHS-4-10 | 641/4 in. 163.2 cm | 1193/4 in. 304.2 cm | 121 in. 307.3 cm | 893/4 in. 228 cm | 126 in. 320 cm | 4,000 lb. 1,818.2 kg | 671.8 lb. 305.4 kg |
| FHS-4-15 | 641/4 in. 163.2 cm | 1793/4 in. 456.6 cm | 121 in. 307.3 cm | 1493/4 in. 380.4 cm | 1225/16 in. 325.9 cm | 4,000 lb. 1,818.2 kg | 777.5 lb. 353.4 kg |
| FHS-4-20 | 641/4 in. 163.2 cm | 2393/4 in. 609 cm | 121 in. 307.3 cm | 2093/4 in. 532.8 cm | 1323/8 in. 336.2 cm | 4,000 lb. 1,818.2 kg | 890.6 lb. 404.8 kg |
| FHS-6-10 | 651/2 in. 90.2 cm | 1193/4 in. 304.2 cm | 121 in. 307.3 cm | 893/4 in. 228 cm | 1295/16 in. 328.5 cm | 6,000 lb. 2,727.3 kg | 774 lb. 351.8 kg |
| FHS-6-15 | 651/2 in. 90.2 cm | 1793/4 in. 456.6 cm | 121 in. 307.3 cm | 1493/4 in. 380.4 cm | 1315/16 in. 333.5 cm | 6,000 lb. 2,727.3 kg | 877.7 lb. 399 kg |
| FHS-6-20 | 651/2 in. 90.2 cm | 2393/4 in. 609 cm | 121 in. 307.3 cm | 2093/4 in. 532.8 cm | 1337/16 in. 338.9 cm | 6,000 lb. 2,727.3 kg | 962.7 lb. 437.5 kg |
| FHS-8-10 | 6311/16 in. 161.8 cm | 1193/4 in. 304.2 cm | 120 in. 304.8 cm | 893/4 in. 228 cm | 1281/4 in. 325.8 cm | 8,000 lb. 3,636.4 kg | 788 lb. 358.2 kg |
| FHS-8-15 | 6311/16 in. 161.8 cm | 1793/4 in. 456.6 cm | 120 in. 304.8 cm | 1493/4 in. 380.4 cm | 1301/4 in. 330.8 cm | 8,000 lb. 3,636.4 kg | 891.7 lb. 405.3 kg |
| FHS-8-20 | 6311/16 in. 161.8 cm | 2393/4 in. 609 cm | 120 in. 304.8 cm | 2093/4 in. 532.8 cm | 1327/16 in. 336.4 cm | 8,000 lb. 3,636.4 kg | 1,016.2 lb. 461.9 kg |
| FHS-10-10 | 641/2 in. 163.8 cm | 1193/4 in. 304.2 cm | 120 in. 304.8 cm | 883/4 in. 225.4 cm | 1303/16 in. 330.7. cm | 10,000 lb. 4,545.5 kg | 914.4 lb. 415.7 kg |
| FHS-10-15 | 641/2 in. 163.8 cm | 1793/4 in. 456.6 cm | 120 in. 304.8 cm | 1483/4 in. 377.8 cm | 1321/4 in. 335.9 cm | 10,000 lb. 4,545.5 kg | 1029 lb. 467.7 kg |
SIGNAL WORDS
This manual uses SIGNAL WORDS to indicate the likelihood of personal injuries, as well as the probable seriousness of those injuries if the product is misused in the ways described. Other signal words call attention to uses of the product likely to cause property damage. The signal words used appear below along with the meaning of each word.
- DANGER
Identifies a hazardous situation which, if not avoided, WILL result in DEATH or SERIOUS INJURY. The use of this signal word is limited to the most extreme situations. - WARNING
Identifies a hazardous situation which, if not avoided, COULD result in DEATH or SERIOUS INJURY. - CAUTION
Indicates a hazardous situation which, if not avoided, COULD result in MINOR or MODERATE injury. - NOTICE
Identifies practices likely to result in product/property damage, such as operations that might damage the crane.
SAFETY INSTRUCTIONS
Vestil strives to identify foreseeable hazards associated with the use of its products. However, no manual can address every conceivable risk. The most effective way to avoid injury is to exercise sound judgment when assembling, using, inspecting, and maintaining this crane. Keep a copy of this manual with the crane at all times. For example, put the copy inside a plastic pouch and attach the pouch to the frame.
DANGER
Electrocution might result if the crane contacts electrified wires. Reduce the likelihood that an operator or bystander might be electrocuted by applying common sense:
- Do not assemble, maintain, or use the crane in an area where it might contact electrified wires;
- Regularly inspect electrical wiring in the area where the crane is used. DO NOT contact electrical wiring, especially wiring with exposed conductors (damaged insulation) with the crane.
WARNING
Material handling is dangerous. The improper or careless operation might result in serious personal injuries sustained by the crane user(s) and bystanders. Always apply the following:
- DO NOT use a damaged or malfunctioning crane. ALWAYS inspect the crane before each use by following the INSPECTIONS instructions on p. 14. DO NOT use the crane unless it passes every part of the appropriate inspection. DO NOT use the crane unless it is in SATISFACTORY CONDITION. See RECORD OF SATISFACTORY CONDITION page 14.
- DO NOT attempt to lift a load that weighs more than the maximum rated load (capacity) of your crane model. See SPECIFICATIONS table on p. 2; capacity labels on product; LABELING DIAGRAM on p. 15.
- DO NOT stand beneath or travel under the crane if a load is suspended
- DO NOT permit any person to stand beneath or travel under a suspended load.
- Inform all persons in the area that you are going to use the crane; instruct them to stay clear of the device and the supported load during operation.
- DO NOT allow people to ride on the load.
- ALWAYS load the crane according to the PROPER LOADING recommendations on p. 12. Failure to properly position a load might cause the load to swing as it rises off of the ground, and a swinging load might cause serious injury to the operator(s) or others as a consequence.
- DO NOT use the crane if any label is unreadable, damaged, or absent. Replace label(s) as needed. See LABELING DIAGRAM on p. 15.
- DO NOT use the crane to transport loads. ONLY use the crane to lift loads!
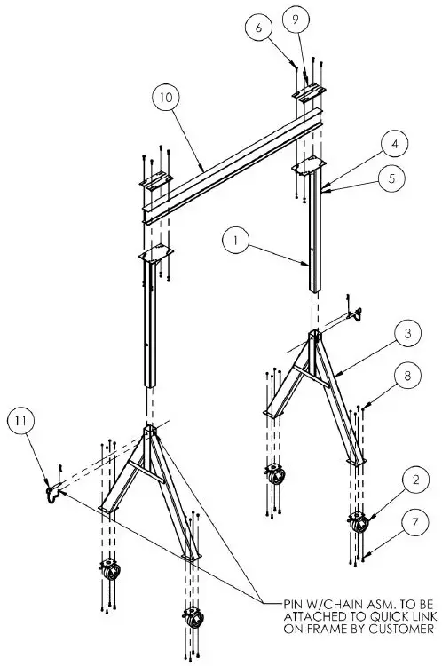
FIG. A:
FHS-2-10, FHS-2-15, & FHS-2-20 EXPLODED VIEW & BILL OF MATERIALS 28-006-350
| Item | Part no. | Description | Qty. |
| 1 | 28-514-311 | WELDMENT, FRAME, LEG | 2 |
| 2 | 28-514-315 | WELDMENT, UPRIGHT ASSEMBLY, FHS | 2 |
| 3 | 16-132-249 | CASTER, LOCKING | 4 |
| 4 | 33626 | LOCK WASHER Z PLATED, Ø 1/2 | 8 |
| 5 | 19211-A | Ø1/2-13 NUT – COMES W/BOLT IN COMBO #19211 | 8 |
| 6 | 19211-B | Ø1/2-13 x 2″ A325 BOLT(ORDER COMBO #19211 W/NUT) | 8 |
| 7 | 33620 | LOCK WASHER, MEDIUM SPLIT, Ø5/16″ | 16 |
| 8 | 11053 | Ø 5/16 – 18 x 3/4 LG HHCS #2 Z-PLATED, GRADE A | 16 |
| 9 | 33006 | FLAT WASHER,ZINC PLATED,USS, Ø5/16″ | 16 |
| 10 | 28-516-053 | WELDMENT, I-BEAM CLAMP | 4 |
| 11 | 28-014-384 28-014-385 28-014-392 | FRAME, DOMESTIC STEEL I-BEAM FHS-2-10 FHS-2-15 FHS-2-20 | 1 1 1 |
| 12 | 28-612-003 | ASSEMBLY, PIN ADJUSTMENT W/CHAIN | 2 |
FIG. B: FHS-4-10, FHS-4-15, & FHS-4-20 Exploded View & Bill of Materials 28-006-353
| Item | Part no. | Description | Quantity |
| 1 | 28-514-143 | WELDMENT, FRAME, LEG | 2 |
| 2 | 28-514-254 | WELDMENT, UPRIGHT ASSEMBLY | 2 |
| 3 | 33626 | LOCK WASHER Z PLATED, Ø 1/2 | 8 |
| 4 | 19211-A | Ø1/2-13 NUT – COMES W/BOLT IN COMBO #19211 | 8 |
| 5 | 19211-B | Ø1/2-13 x 2″ A325 BOLT(ORDER COMBO #19211 W/NUT) | 8 |
| 6 | 28-516-053 | WELDMENT, I-BEAM CLAMP | 4 |
| 7 | 28-014-387 28-014-388 28-014-394 | FRAME, DOMESTIC STEEL I-BEAM FHS-4-10 FHS-4-15 FHS-4-20 | 1 1 1 |
| 8 | 28-612-003 | ASSEMBLY, PIN ADJUSTMENT W/CHAIN | 2 |
| 9 | 16-132-064 | Ø8″ x 3″ PHENOLIC 4 WAY SWIVEL LOCK CASTER | 4 |
| 10 | 33624 | LOCK WASHER, Z PLATED, Ø 7/16 | 16 |
| 11 | 13155 | HHCS #5 Z PLATED, GRADE 5, 7/16-14 UNC x 1 LG. | 16 |
FIG. C: FHS-6-10, FHS-6-15, & FHS-6-20 Exploded View & Bill of Materials 28-006-356.
| Item no. | Part no. | Description | Quantity |
| 1 | 28-514-146 | WELDMENT, FRAME, LEG | 2 |
| 2 | 28-514-254 | WELDMENT, UPRIGHT ASSEMBLY | 2 |
| 3 | 16-132-064 | Ø8″ x 3″ PHENOLIC 4 WAY SWIVEL LOCK CASTER | 4 |
| 4 | 33626 | LOCK WASHER Z PLATED, Ø 1/2 | 8 |
| 5 | 19211-A | Ø1/2-13 NUT – COMES W/BOLT IN COMBO #19211 | 8 |
| 6 | 19211-B | Ø1/2-13 x 2″ A325 BOLT(ORDER COMBO #19211 W/NUT) | 8 |
| 7 | 33624 | LOCK WASHER, Z PLATED, Ø 7/16 | 16 |
| 8 | 13155 | HHCS #5 Z PLATED, GRADE 5, 7/16-14 UNC x 1 LG. | 16 |
| 9 | 28-516-053 | WELDMENT, I-BEAM CLAMP | 4 |
| 10 | 28-014-387 28-014-391 28-014-417 | FRAME, DOMESTIC STEEL I-BEAM FHS-6-10 FHS-6-15 FHS-6-20 | 1 1 1 |
| 11 | 28-612-003 | ASSEMBLY, PIN ADJUSTMENT W/CHAIN | 2 |
FIG. D: FHS-8-10, FHS-8-15, & FHS-8- 20 Exploded View & Bill of Materials 28-006-359
| Item no. | Part no. | Description | Quantity |
| 1 | 28-514-254 | WELDMENT, UPRIGHT ASSEMBLY | 2 |
| 2 | 16-132-064 | Ø8″ x 3″ PHENOLIC 4 WAY SWIVEL LOCK CASTER | 4 |
| 3 | 28-514-153 | WELDMENT, FRAME, LEG | 2 |
| 4 | 33626 | LOCK WASHER Z PLATED, Ø 1/2 | 8 |
| 5 | 19211-A | Ø1/2-13 NUT – COMES W/BOLT IN COMBO #19211 | 8 |
| 6 | 19211-B | Ø1/2-13 x 2″ A325 BOLT(ORDER COMBO #19211 W/NUT) | 8 |
| 7 | 11209 | 1/2-13 X 1 1/2″ LG HHCS – ASTM A307 GRADE A, ZINC PLATED | 16 |
| 8 | 37030 | 1/2″-13 NYLON INSERT LOCK NUT, GRADE 2 | 16 |
| 9 | 28-516-053 | WELDMENT, I-BEAM CLAMP | 4 |
| 10 | 28-014-387 28-014-391 28-014-417 | FRAME, DOMESTIC STEEL I-BEAM FHS-8-10 FHS-8-15 FHS-8-20 | 1 1 1 |
| 11 | 45262 | HITCH PIN CLIP | 2 |
| 12 | 28-612-003 | ASSEMBLY, PIN ADJUSTMENT W/CHAIN | 2 |
FIG. E: FHS-10-10 & FHS-10-15 Exploded View & Bill of Materials 28-006-362.
| Item no. | Part no. | Description | Quantity |
| 1 | 16-132-243 | CASTER, SWIVEL, Ø8 X 3 CASTER | 4 |
| 2 | 28-516-053 | WELDMENT, I-BEAM CLAMP | 4 |
| 3 | 28-514-156 | WELDMENT, FRAME, LEG | 2 |
| 4 | 33626 | LOCK WASHER Z PLATED, Ø 1/2 | 8 |
| 5 | 19211-A | Ø1/2-13 NUT – COMES W/BOLT IN COMBO #19211 | 8 |
| 6 | 19211-B | Ø1/2-13 x 2″ A325 BOLT(ORDER COMBO #19211 W/NUT) | 8 |
| 7 | 11209 | 1/2-13 X 1 1/2″ LG HHCS – ASTM A307 GRADE A, ZINC PLATED | 16 |
| 8 | 37030 | 1/2″-13 NYLON INSERT LOCK NUT, GRADE 2 | 16 |
| 9 | 28-514-255 | WELDMENT, UPRIGHT ASSEMBLY | 2 |
| 10 | 28-014-390 28-014-393 | FRAME, DOMESTIC STEEL I-BEAM FHS-10-10 FHS-10-15 | 1 1 |
| 11 | 16-132-305 | BATWING CASTER POSITION LOCK | 4 |
| 12 | 28-612-003 | ASSEMBLY, PIN ADJUSTMENT W/CHAIN | 2 |
ASSEMBLING THE CRANE
WARNING
An improperly assembled crane might malfunction and cause serious personal injuries. Read this manual in its entirety before assembling the crane. Only assemble the crane if you fully understand the assembly procedure.
- ONLY qualified personnel should assemble the crane.
- DO NOT modify the crane in any way unless and until you receive written approval from Vestil.
- DO NOT use the crane if you notice damage to or deformation of the beam, uprights, or any component of either of the leg assemblies. Using the crane despite the weakness of a structural component could result in crane collapse.
- DO NOT use the crane if any of the hardware (bolts, nuts, clamps, etc.) is damaged; you could sustain serious injuries if the crane collapses. Contact Vestil to order replacement parts.
- DO NOT use the crane if any of the casters is damaged. A damaged caster may cause the crane to tip over while hoisting or supporting a load.
NOTICE
- Modifying the crane in any way without first receiving written approval of the modification from Vestil automatically voids the limited warranty.
- The crane is designed for both indoor and outdoor use. However, it should be sheltered from the weather when not in use.
Step 1:
Fasten the upright weldments to the leg assemblies; then fasten a beam clamp to the beam bracket of each upright. Lay the leg assemblies flat on the ground and slide the uprights into the receivers. Align the pinholes in the uprights with the pinholes in the leg assemblies as shown in Fig. 1A below. Pin each upright to a leg assembly with an axle pin with a chain.
Fig. 1A: Upright-to-Leg Assembly Connections

Step 2: Fasten the I-beam to telescoping tubes
Insert the flange of the I-beam into the gap between the beam clamp and the top of the upright; then secure the flange on the opposite side by installing the remaining beam clamps as shown in the diagram below.
Fig. 2B: Exploded Parts View of Beam Clamp Connection to Beam Bracket 
Step 3:
Tighten the bolts and nuts to 50 – 52 ft∙lb using a torque wrench.
Step 4: Stand the crane upright.
Rotate the crane onto its feet in a controlled manner. For instance, attach a hoist chain to the I-beam and slowly raise the beam until the crane stands on its feet. Alternatively, raise the crane with a fork truck. Position the forks under the I-beam and slowly raise the beam until the crane rotates onto its feet in a controlled manner.
- Approach the crane with a fork truck from this side and slide the forks under the I-beam.
- Slowly raise the beam and slowly drive forward until the crane stands on its feet.
WARNING
DO NOT raise the beam unless all other persons have moved to a location away from and behind the fork truck.
Step 5: Connect casters to legs.
- Raise the crane off of the ground with a forklift or hoist.
- Attach a caster to the foot of each leg using the hardware shown.
- Position a caster underneath each foot as shown in the diagrams below.

USING THE CRANE
Before using the crane for the first time, perform a BEFORE AND AFTER EACH USE inspection.
WARNING
Crane operators are responsible for operating the crane in a safe manner. To reduce the likelihood of serious personal injuries or death resulting as a consequence of negligent operation:
- ALWAYS apply safe material handling practices learned during your training program.
- Only trained, qualified crane operators should use this device. The operating instructions in this manual supplement safe crane and hoist operation practices learned during your training program.
- All personnel not participating in crane use must stay out of the operating area during use. Be certain no person or object is under any part of the beam) or the suspended load at any time and particularly before lowering it. Instruct all persons to remain at a safe distance during the operation.
- Always carefully watch the beam and any load hanging from it while using the crane.
- Always follow the hoist and trolley operation instructions.
- BEFORE the load is connected to the hoist, lock or immobilize the casters (for instance with chocks).
- DO NOT use the crane and notify your supervisor and maintenance personnel if 1) you observe any damage or hear unusual noise during operation; 2) if you observe any warping or deformation of the beam, the uprights, the load hook, or chain (or cable).
PROPER LOADING
Position the trolley and hoist directly above the load. Proper centering requires the operator to center the trolley and hoist above the center of the load as well as to position the long axis of the I-beam above the center of the load. Proper positioning is diagrammed below in Fig 6.
Connect the load to the hoist chain/cable by following the instructions supplied with your hoist and the methods applied at your work site. Then raise the load only as high as is necessary to position it.
Once the load is properly centered above the work location, lower the load until it is fully supported by the ground or work surface. Disconnect the load from the hoist and return the crane and hoist to their storage locations. If you must move the load to a different location, return the load to the ground and disconnect it from the hoist. Move the crane and load separately to the desired work location. Only use the crane to lift loads.
FESTOON KIT OPTION

| Item no. | Part no. | Description | Quantity |
| 2 | 28-016-169 | Hold down plate | 2 |
| 3 | 28-145-002 | I-beam clamp | 4 |
| 4 | 42234 | 3/8 in. -16 x 1in. turned eye bolt | 2 |
| 5 | 33008 | 3/8 in. zinc-plated flat washer | 2 |
| 6 | 36106 | 3/8 in. -16 zinc-plated hex nut | 2 |
| 7 | 37030 | 1/2 in. – 13 nylon insert lock nut | 4 |
| 8 | 11211 | 1/2 in. – 13 x 2 in. HHCS zinc-plated bolt | 4 |
| 9 | 33012 | 1/2 in. zinc-plated USS flat washer | 8 |
| 10 | 45503 | 1/8 in. wire rope (1 in. longer than 1-beam) | 1 |
| 11 | 34785T4 | Quick-grip wire rope clamp | 2 |
| 12 | CV200 | Plastic cable tie | 7 |
| 13 | O-RING15 | Metal ring | 6 |
| 14 | FCOIL 143-001 | Coiled power cord | 1 |
RECORD OF SATISFACTORY CONDITION THE “RECORD”
Thoroughly inspect the crane after assembling it and before putting it into service. Record the condition and appearance of each of the frame members (I-beam, upright assemblies, leg assemblies), the wheels/casters, the beam clamp, and all fasteners (bolts, nuts, etc.). Thoroughly photograph the crane from multiple angles. Include close-range photographs of the casters and/or wheels, all labeling, and all beam clamp connections. Add the photographs to the record. Collect all photographs and writings in a single file. This file is a record of the crane in satisfactory condition. Compare the results of all INSPECTIONS to this RECORD to determine whether the crane is in satisfactory condition. Do not use the crane unless it is in satisfactory condition. Pure cosmetic changes, like damaged paint or powder coat, are not changes from the satisfactory condition. However, touchup paint should be applied as soon as the damage occurs. If your crane is not painted or powder coated, touch-up paint is not required.
NATIONAL STANDARDS
This product is a portable A-frame gantry crane (PGC). ASME standard B30.17 (the “Standard”) applies to PGCs. You should acquire a copy of the latest version of the standard. Follow all use and maintenance/care instructions provided in the Standard as well as all other provisions for PGC owners and users. If any content in this manual is inconsistent with a recommendation or mandatory provision in the Standard, apply the provision from the Standard. Vestil encourages you to immediately contact TECHNICAL SERVICE to report inconsistencies.
INSPECTIONS AND MAINTENANCE
NOTE:
Inspection procedures are included in the most current revision of ASME B30.17. As stated above in the NATIONAL STANDARDS section, Vestil recommends that you acquire a copy of the most recent revision of this standard. Apply all use and maintenance/care instructions in the standard. Vestil also recommends that you contact your local occupational health and safety authority to determine if any laws, regulations, codes, ordinances, etc. apply inspection requirements where the crane is used.
Inspections and all necessary repairs should be performed by qualified persons. Compare the results of each inspection to the RECORD OF SATISFACTORY CONDITION. Do not use the crane unless every part is in satisfactory condition. DON’T GUESS! If you have any questions about the condition of your crane, contact the TECHNICAL SERVICE department. The phone number is provided on the cover page of this manual. Never make temporary repairs of damaged or missing parts. Only use manufacturer-approved replacement parts to restore the crane to satisfactory condition.
- Before and after each use, including the first use, unload the crane and inspect the following components:
- I-Beam – Examine the beam, especially the lower flanges, for bends, cracks, and other damage.
- Beam clamps and beam clamp fasteners – Clamp connections are shown in Step 2 on p. 10. Verify that all lock washers are fully compressed. The clamps should equally overlap the I-beam flange.
- Beam brackets – Look for cracks, elongations around bolt holes, warps, bends, etc.
- Casters and caster fasteners – Examine each caster for cracks, warps, tears, grooves, pitting, and significant wear. Push the crane a short distance. All 4 casters should be in continuous contact with the ground. Confirm that the casters roll smoothly without wobbling or skidding. Make sure that caster fasteners are tightly connected. Fastener connections are shown in Step 5 on p. 11.
- Pins – Check both adjustment pins. Pinned connections are shown in Steps 1A and 1B on p. 10. Both adjustment pins should be fully inserted and pin stops should be perpendicular to the pins to secure them in place. All 4 of the clevis pins should be fully inserted and secured in place with cotter pins.
- Leg assemblies – Inspect both leg assemblies. Look for cracks, bends, warps, and other forms of damage. Pay particular attention to pin holes & bolt holes. Look for elongations, cracks, etc.
- Monthly inspections – Unload the crane and inspect the following:
- Beam clamps and beam clamp fasteners – Use a torque wrench to tighten each bolt and nut to 50-52ft∙lb. Examine all of the clamps for damage such as deformations and cracks. The I-beam flange should be solidly/immovably clamped to the tops of the uprights.
- Lay the crane over so that the I-beam is on the ground and inspect:
- Adjustment pins – One at a time, remove each adjustment pin and examine it. Look for cracks, warps, pitting, and other forms of damage. Confirm that the pin stop operates normally. Reinsert each pin after inspecting it.
- Leg tubes – Examine the pin holes in the top end of each leg. Look for elongations, cracks, and other forms of damage. Reinstall each leg once its inspection is finished.
- Once per year: Perform a load test. Lift a load equal to 125% of its rated load (capacity). Only lift the load high enough to ensure that it is entirely supported by the crane. Transport the load by means of your hoist (or hoist & trolley) the full usable length of the I-beam (dimension D in the SPECIFICATIONS diagram and table). Return the test load to the ground. Perform inspections A (Before and after each use) and B (Monthly).
NOTE:
Perform this part C (Load test and a Before & after use inspection) whenever the crane is partially or fully disassembled and reassembled, e.g. after installing replacement parts.
LABELING DIAGRAM
Each unit should be labeled as shown in the diagram. Label content and location are subject to change so your product might not be labeled exactly as shown. Compare the diagram below to your RECORD OF SATISFACTORY CONDITION. If there are any differences between the actual labeling and this diagram, contact TECHNICAL SERVICE. Replace all labels that are damaged, missing, or not easily readable (e.g. faded). To order replacement labels or to inquire whether your unit is properly labeled, contact the technical service and parts department online at https://www.vestil.com/page-parts-request.php or by calling (260) 665-7586 and asking the Parts Department.
LIMITED WARRANTY
Vestil Manufacturing Company (“Vestil”) warrants this product to be free of defects in material and workmanship during the warranty period. Our warranty obligation is to provide a replacement for a defective, original part covered by the warranty after we receive a proper request from the Warrantee (you) for warranty service.
Who may request service?
Only a warrantee may request service. You are a warranty if you purchased the product from Vestil or from an authorized distributor AND Vestil has been fully paid.
Definition of “original part”?
An original part is a part used to make the product as shipped to the Warrantee.
What is a “proper request”?
A request for warranty service is proper if Vestil receives: 1) a photocopy of the Customer Invoice that displays the shipping date; AND 2) a written request for warranty service including your name and phone number. Send requests by one of the following methods:
US Mail
Vestil Manufacturing Company
2999 North Wayne Street, PO Box 507
Angola, IN 46703
Fax
(260) 665-1339
Phone
(260) 665-7586
Email
[email protected].
Write “Warranty service request” in the subject field.
In the written request, list the parts believed to be defective and include the address where replacements should be delivered. After Vestil receives your request for warranty service, an authorized representative will contact you to determine whether your claim is covered by the warranty. Before providing warranty service, Vestil will require you to send the entire product, or just the defective part (or parts), to its facility in Angola, IN.
What is covered under the warranty?
The warranty covers defects in the following original, dynamic parts: motors, hydraulic pumps, motor controllers, and cylinders. It also covers defects in original parts that wear under normal usage conditions (“wearing parts”), such as bearings, hoses, wheels, seals, brushes, and batteries.
How long is the warranty period?
The warranty period for original dynamic components is 1 year. For wearing parts, the warranty period is 90 days. Both warranty periods begin on the date Vestil ships the product to the Warrantee. If the product was purchased from an authorized distributor, the periods begin when the distributor ships the product. Vestil may, at its sole discretion, extend a warranty period for products shipped from authorized distributors by up to 30 days to account for shipping time.
If a defective part is covered by the warranty, what will Vestil do to correct the problem?
Vestil will provide an appropriate replacement for any covered part. An authorized representative of Vestil will contact you to discuss your claim.
What is not covered by the warranty?
The Warranty (you) is responsible for paying labor costs and freight costs to return the product to Vestil for warranty service.
Events that automatically void this Limited Warranty.
- Misuse;
- Negligent assembly, installation, operation, or repair;
- Installation/use in corrosive environments;
- Inadequate or improper maintenance;
- Damage sustained during shipping;
- Collisions or other accidents that damage the product;
- Unauthorized modifications: Do not modify the product IN ANY WAY without first receiving written authorization from Vestil.
Do any other warranties apply to the product?
Vestil Manufacturing Co. makes no other express warranties. All implied warranties are disclaimed to the extent allowed by law. Any implied warranty not disclaimed is limited in scope to the terms of this Limited Warranty. Vestil makes no warranty or representation that this product complies with any state or local design, performance, or safety code or standard. Noncompliance with any such code or standard is not a defect in material or workmanship.
Contact Information:
US Mail
Vestil Manufacturing Company 2999 North Wayne Street, PO Box 507 Angola, IN 46703
Fax (260) 665-1339
Phone (260) 665-7586
Email [email protected].
Write “Warranty service request” in the subject field.

















