AUSSIE TRAVELLER RV Rangehood Surface Mount 530mm Wide

Product Information Aussie Traveller Rangehood
The Aussie Traveller Rangehood is a specially designed product for installation in RVs such as caravans, motorhomes, cabins, and boats where 12Volt power is used. It comes with an air outlet and wind deflector. Maintenance is required for all Aussie Traveller Rangehoods. It is recommended to clean the vents regularly by unclipping them from the body, rinsing under hot water, or cleaning in a dishwasher. It is essential to ensure that the rear/top vent is clean and clear of any debris. Additionally, there should be no obstructions in or around the fan. It is advised to periodically check that the Rangehood remains secure and has not moved or become loose during use or from travel. The product comes with a 12-month warranty. It is also essential to adhere to installation regulations and comply with the relevant industry’s compliance and regulations as changes may be applicable.
Product Usage Instructions Aussie Traveller Rangehood
- Cut a hole in the installation position of the Rangehood as shown in Diagram 1. The center of the cut hole should be consistent with the center of the installation position of the Rangehood. OW (opening width) =72mm OH (opening height) =55mm.
- Insert the air outlet into the cut hole as shown in Diagram
- Attach the wind deflector to the air outlet as shown in Diagram
- Open the vent cover as shown in Diagram 4.
- Connect to the 12Volt power source or wiring harness by a qualified, competent installer.
- Ensure that the installation is completed as shown in Diagram
Special Notes:
- The power cord is placed in the air outlet when shipped and can be taken out when in use.
- No foreign matter is allowed to block the air outlet.
- The fan needs to be protected during the installation process, and no foreign matter can enter and affect its normal operation.
- The wiring harness needs to be installed.
Lastly, the product contains a button or coin cell battery that must be kept out of reach of children. Swallowing can lead to chemical burns, perforation of soft tissue, and death. Seek medical attention immediately if accidentally swallowed. No matter whether the battery is new or used, severe burns can occur within 2 hours of ingestion or placement inside any part of the body, especially in the case of Lithium batteries.
Thank you for purchasing an Aussie Traveller Rangehood The Aussie Traveller Rangehood has been specifically designed for use in a full range of RV installations including Caravans, Motorhomes, Cabins and Boats where 12Volt power is used. Mounting and installation of the Rangehood should be performed as per the following instruction and installation manual.
- Maintenance is required for all Aussie Traveller Rangehoods. Ensure the vents are cleaned regularly by unclipping the vent from the body, rinsing under hot water or cleaning in a dishwasher. Ensure the rear/top vent is clean and clear of any debris. Ensure there are no obstructions in or around the fan. Periodically check that the Rangehood remains secure and has not moved or become loose during use or from travel.
- Warranty. Your Aussie Traveller is covered by a 12 month product warranty. Please read the warranty statement that is included with this product.
- Compliance. Installation of this unit in a Recreational Vehicle requires a minimum distance between the underside of the rangehood and cooktop heating surfaces (ie gas flame aperture, electric element) of a minimum 450mm. Ensure all relevant installation regulations are adhered to. Changes may be applicable as compliance and regulations with various industries are amended.
Aussie Traveller Pack List – 530mm & 380mm
- Rangehood 1pcs
- Air outlet 1pcs
- Wind deflector 1pcs
- ST3.9× 13 cross self-tapping nail with pan head 4pcs
- ST2.9× 13 countersunk head cross tapping nails 2pcs
- ST4.2× 13 cross self-tapping nail with pan head 4pcs
INSTALLATION INSTRUCTIONS
- Step 1: The cut hole is shown in Diagram 1
Note: The center of the cut hole is consistent with the center of the installation position of the Rangehood.
- Step 2: Install the Wind deflector (body) on the rangehood with ST2.9× 13 countersunk cross self-tapping nails, as shown in Diagram 2.

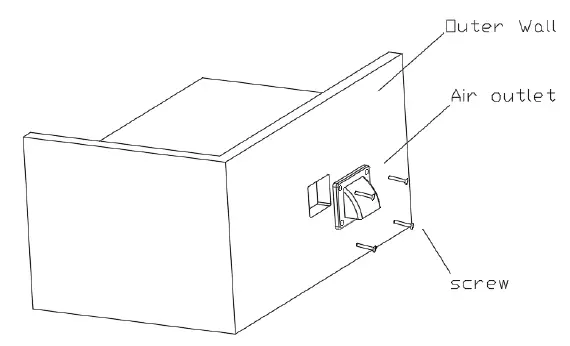
- Step 3: The rear Air Outlet is installed on the wall with ST3.9× 13 cross self-tapping nails with disk head, as shown in Diagram 3.

- Step 4: Open the vent cover as shown in Diagram 4.

- Step 5: Connect the wires to the 12Volt power source or wiring harness. Ensure the wires are clear of the cavity and clear of any obstructions. The red power wire represents positive “+”, and the black power wire represents negative “-“.
Note:Reverse connection of the power cord will cause the rangehood to malfunction.
Install the rangehood into the cut out cavity or on the wall with ST4.2× 13 cross tapping nail with pan head, as shown in Diagram 5

Aussie Traveller recommends connection to the 12Volt power source or wiring harness is performed and completed by a qualified, competent installer The installation is completed, as shown in Diagram 6.

Special Note:
- The cut hole must be fixed according to the installation position of the range hood, as shown in Diagram 1.
- The power cord is placed in the air outlet when shipped, and can be taken out when use.
- No foreign matter is allowed to block the air outlet.
- The fan needs to be protected during the installation process, and no foreign matter can enter and affect its normal operation.
- The wiring harness needs to be installed.
Special Note:
- The cut hole must be fixed according to the installation position of the range hood, as shown in Diagram 1.
- The power cord is placed in the air outlet when shipped, and can be taken out when use.
- No foreign matter is allowed to block the air outlet.
- The fan needs to be protected during the installation process, and no foreign matter can enter and affect its normal operation.
- The wiring harness needs to be installed.
WARNING
CONTAINS BUTTON OR COIN CELL BATTERY—KEEP OUT OF REACH OF CHILDREN Swallowing can lead to chemical burns, perforation of soft tissue, and death. In the case of Lithium batteries, fatal injuries can occur in 2 hours or less if it is swallowed or placed inside any part of the body. Severe burns can occur within 2 hours of ingestion. Seek medical attention immediately. No matter whether the battery is new or used. If it is suspected your child or a person has swallowed or inserted a button/coin battery inside any part of the body, contact the 24-hour Poisons Information Centre on 13 11 26 (Australia) or 0800 764 766 (New Zealand) immediately for 24/7 fast, expert advice. Always check your devices to ensure the battery compartment is correctly secured. Do not use if compartment is not secure. Dispose of used batteries correctly and out of reach of children—even when used they are still dangerous.
AUSTRALIA
- Poisons Hotline: 13 11 26
- Emergency: 000
NEW ZEALAND
- Poisons Hotline: 0800 POISON (0800 764 766)
- Emergency: 111
Rangehood Operation Instructions
- Step 1:Connect to DC12v power supply. The red power cord represents power “+”, and the black power cord represents “-“.
Note:Reverse connection of the power cord will cause the rangehood to malfunction.
- Step 2: Turn on the power.
Note:This button controls the operation of the fan.
Note:”+” and “-” control the air volume of the fan, there are three levels.
- Step 3: Turning on the LED light.
Note:This button can turn on and off the light function.
- Step 4: Setting the clock.
Note:Long press the power button to enter the clock setting mode.
- Step 6: Set minute.
Note:Press the “+” “-” keys to increase or decrease minutes. - Step 7: Set hour.
Note:Press the power button to switch to hour mode, press the “+” and “-” keys to increase or decrease the hour.
AUSSIE TRAVELLER RV Rangehood Surface Mount 530mm Wide


























