SHI410X1 37cm Island Angelhood
Instruction Manual
Instructions Manual
SHI410X1 – SHI410N1
SAFETY INFORMATION
For your safety and correct operation of the appliance, read this manual carefully before installation and use. Always keep these instructions with the appliance even if you move or sell it. Users must fully know the operation and safety features of the appliance.
The wire connection has to be done by specialized technician.
- The manufacturer will not be held liable for any damages resulting from incorrect or improper installation.
- The minimum safety distance between the cooker top and the extractor hood is 650 mm (some models can be installed at a lower height, please refer to the paragraphs on working dimensions and installation).
- If the instructions for installation of the gas hob specify a greater distance, this must be respected.
- Check that the mains voltage corresponds to that indicated on the rating plate fixed to the inside of the hood.
- Means for disconnection must be incorporated in the fixed wiring in accordance with the wiring rules.
- For Class I appliances, check that the domestic power supply guarantees adequate earthing.
- Connect the extractor to the exhaust flue through a pipe of minimum diameter 120 mm. The route of the flue must be as short as possible.
- Regulations concerning the discharge of air have to be fulfilled.
- Do not connect the extractor hood to exhaust ducts carrying combustion fumes (boilers, fireplaces, etc.).
- If the extractor is used in conjunction with non-electrical appliances (e.g. gas burning appliances), a sufficient degree of aeration must be guaranteed in the room in order to prevent the backflow of exhaust gas. When the cooker hood is used in conjunction with appliances supplied with energy other than electric, the negative pressure in the room must not exceed 0,04 mbar to prevent fumes being drawn back into the room by the cooker hood.
- The air must not be discharged into a flue that is used for exhausting fumes from appliances burning gas or other fuels.
- If the supply cord is damaged, it must be replaced from the manufacturer or its service agent.
- Connect the plug to a socket complying with current regulations, located in an accessible place.
- With regards to the technical and safety measures to be adopted for fume discharging it is important to closely follow the regulations provided by the local authorities.
WARNING: Before installing the Hood, remove the protective films. - Use only screws and small parts supplied with the hood.
WARNING: Failure to install the screws or fixing device in accordance with these instructions may result in electrical hazards. - Do not look directly at the light through optical devices (binoculars, magnifying glasses…).
- Do not flambé under the range hood; risk of fire.
- This appliance can be used by children aged from 8 years and above and persons with reduced physical, sensory or mental capabilities or lack of experience and knowledge if they have been given supervision or instruction concerning use of the appliance in a safe way and understand the hazards involved. Children shall not play with the appliance. Cleaning and user maintenance shall not be made by children without supervision.
- Children should be supervised to ensure that they do not play with the appliance.
- The appliance is not to be used by persons (including children) with reduced physical, sensory or mental capabilities, or lack of experience and knowledge, unless they have been given supervision or instruction.
Accessible parts may become hot when used with cooking appliances. - Clean and/or replace the Filters after the specified time period (Fire hazard). See paragraph Care and Cleaning.
- There shall be adequate ventilation of the room when the range hood is used at the same time as appliances burning gas or other fuels (not applicable to appliances that only discharge the air back into the room).
- The symbol
on the product or on its packaging indicates that this product may not be treated as household waste. Instead it shall be handed over to the applicable collection point for the recycling of electrical and electronic equipment. By ensuring this product is disposed of correctly, you will help prevent potential negative consequences for the environment and human health, which could otherwise be caused by inappropriate waste handling of this product. For more detailed information about recycling of this product, please contact your local city office, your household waste disposal service or the shop where you purchased the product.
CHARACTERISTICS
CHARACTERISTICS
| Ref. | Q.ty | Product Components |
| 1 | 1 | Hood Body, complete with: Controls, Light, Blower, Filters |
| 2 | 1 | Chimney Upper |
| 7. | 1 | Telescopic frame complete with extractor, consisting of: |
| 7.1a | 1 | Upper frame |
| 7.1b | 1 | Lower frame |
| 9 | 1 | Reducer Flange 0 150-120 mm |
| 11 b | 2 | Flap |
| 15 | 1 | Recirculation Air Outlet Connection |
| 25 | 2 | Pipe clamps (not included) |

| Ref. | Q.ty | Installation Components |
| 11 | 4 | Wall Plugs 0 10 |
| 12c | 4 | Screws 2,9 x 12,7 |
| 12f | 4 | Screws M6 x 10 |
| 12g | 4 | Screws M6 x 80 |
| 12h | 4 | Screws 5,2 x 70 |
| 21 | 1 | Drilling template |
| 22 | 4 | 6.4 mm int. dia washers |
| 23 | 4 | M6 nuts |
| Qty | Documentation | |
| 1 | Instruction Manual |
Dimensions

* Dimensions of the hood in ducting version.
** Dimensions of the hood in recycling version.
INSTALLATION

Drilling the Ceiling/shelf and fixing the frame
DRILLING THE CEILING/SHELF
- Use a plumb line to mark the centre of the hob on the ceiling/support shelf.
- Place the drilling template 21 provided on the ceiling/support shelf, making sure that the template is in the correct position by lining up the axes of the template with those of the hob.
- Mark the centres of the holes in the template.
- Drill the holes at the points marked:
- For concrete ceilings, drill for plugs appropriate to the screw size.
- For hollow brick ceilings with wall thickness of 20 mm: drill ø 10 mm(immediately insert the Dowels 11 supplied).
- For wooden beam ceilings, drill according to the wood screws used.
- For wooden shelf, drill ø 7 mm.
- For the power supply cable feed, drill ø 10 mm.
- For the air outlet (Ducted Version), drill according to the diameter of the external air exhaust duct connection.
- Insert two screws of the following type, crossing them and leaving 4-5 mm from the ceiling:
- For concrete ceilings, use the appropriate plugs for the screw size (not provided).
- for Cavity ceiling with inner space, with wall thickness of approx. 20 mm, Screws 12h, supplied.
- For wooden beam ceilings, use 4 wood screws (not provided).
- For wooden shelf, use 4 screws 12g with washers 22 and nuts 23, provided.
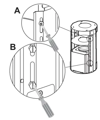
PREPARATION OF THE FRAME FOR THE HOOD IN RECYCLING VERSION
In case the hood is used in recycling version it is necessary to prepare the frame with all the necessary connection pieces. In order to make the installation easier it is necessary to lengthen the frame:
- Unscrew the two screws 2.1 fixing the upper chimney to the frame and pull the chimney out.
- Unscrew the four safety screws placed at the top in the frame separation area. (A).
- Unscrew the eight metric screws connecting the two columns, placed on both sides of the frame (B).

Installation of components in recycling version:
- Fix the recycling air outlet piece 15 to the upper part of the frame using four 12c screws supplied with the hood.
- At this point, join the flanges with a pipe. In order to calculate the height of the pipe it is necessary to estimate the height of the hood (mm) and subtract 615 mm. (H pipe = H hood-615).

- Lengthen the frame so that the pipe can be inserted. Place the pipe between the two flanges and block it. Make sure that the height of the frame is correct considering the height of the cooker hood (H frame = H hood – 184). Adjust the height of the frame and tighten again the earlier removed screws. Tighten again the safety screws in order to give more stability to the structure.
- Fix the pipe with the pipe clamps 25.
FIXING THE FRAME
- Lift the frame up, making sure that the index over the frame plate is turned forwards.
- Fit the frame slots onto the two screws inserted in the ceiling as above, and turn until reaching the centre of the adjustment slot.
- Tighten the two screws and fasten the other two screws provided; before locking the screws completely, it is possible to adjust the frame by turning it, making sure that the screws do not come out of their housing in the adjustment slot.

- The Frame must be securely fastened so as to support both the weight of the Hood and the stress caused by occasional axial pressure against the fitted Appliance. After fixing, make sure that the base is stable even when the Frame is subjected to lateral stress.
- If the Ceiling is not strong enough in the area where the hood is to be fixed, the Installer must strengthen the area using suitable plates and counterplots anchored to resistant structures.
Connections
AIR OUTLET DUCTING VERSION
When installing the Ducting version, join the Hood to the outlet duct using a rigid or flexible pipe ø150 or 120 mm, selection of which is at the discretion of the installation technician.
- Insert flaps 11b on the Hood Canopy Outlet. Connecting the ø 150 pipe
- Fasten the pipe using suitable pipe clamps. The materials required to do so are not provided.
Connecting the ø 120 pipe
- To connect using a ø120 mm pipe, insert the reduction Flange 9 onto the Hood Canopy Outlet.

- Fasten the pipe using suitable pipe clamps. The materials required to do so are not provided.
- In both cases, any Activated Charcoal Filters must be removed.
Installing of the chimney and fixing of the hood
When the hood is installed in recycling version the chimney has to be positioned with the slots upwards. When the hood is installed in ducting version it has to be positioned in the opposite way.
- Place the chimney on the frame and fix it to the upper part of it with the earlier removed screws. When installing the hood in recycling version make sure that the slots correspond to the air outlet of the recycling air outlet piece 15.
- Open the lighting unit by slightly pulling the notch. Remove the unit from the hood by sliding the fixing pivot.
- Remove the filter pushing it towards the back side of the hood unit and simultaneously pulling downwards.
- Remove possible charcoal filters.
- In order to fix the hood body to the frame insert the 4 screws 12f in their seats. It is necessary to leave at least 4-5 mm gap between the screw heads and the frame plate.
- Hook the hood canopy to the frame and turn it to the left until it reaches the stop, then lock the screws immediately to prevent the hood canopy from falling out accidentally.

ELECTRICAL CONNECTION
- Connect the Hood to the mains power supply, inserting a topple cut-out switch with contact aperture of at least 3 mm along the line.
- Ensure that the supply cable connector is properly inserted into the Suction device socket
- Hook up the Commands connector Cmd.

- Hook up the Spotlights connector Lux to the socket provided behind the lighting unit cover.
- For the Recirculation Version, fit the Activated Charcoal Odour Filter.
- Replace the filters and the lighting unit.
USE

Control panel
| Button | Function | Led |
| L | Turns the lighting system on and off. | – |
| Press and hold for approx. 2 seconds to turn the lighting system on and off at reduced intensity. | – | |
| I I | Turn the suction motor on and off at speed one. | On. |
| Press and hold the button for approximately 2 seconds, with all the loads turned off (Motor and Lights), to reset the Filters and turn off the Leeds that are lit. | After 100 working hours all the LEDs (Ll-L2-L3-LA) will light up and remain lit to indicate saturation of the metal grease filters. After 200 working hours all the LEDs (Ll-L2-L3-LA) will light up and start to flash to indicate saturation of the activated charcoal filters. | |
| T2 | Turn the suction motor on at speed two. | On. |
| T3 | Turn the suction motor on at speed three. | On. |
| Press and hold the button for 2 seconds to activate intensive speed. This speed is timed to run for 6 minutes. At the end of this time the system will automatically return to the speed set before. | – | |
| 1’4 | Press and hold the button for approximately 2 seconds to activate automatic shutdown with a 30′ delay (Motor+Lights). | On. |
| Press and hold for approximately 5 seconds to enable/disable the Activated Charcoal Filter alarm. | 2 Flashes of the Leeds (LI-L2-L3) Filter Alarm Enabled. 1 Flash of the Leeds (LI-L2-L3) Filter Alarm Disabled. |
CARE AND CLEANING
Metal grease filters
These can also be washed in the dishwasher, and need to be cleaned when all the command LEDs light up in a continuous manner or at least once every 2 months use, or more frequently if use is particularly intensive.
Resetting the alarm signal
- Press button T1 (see the paragraph on Use).
Cleaning the Filters
- Open the lighting unit by pulling on the notch.
- Remove the Filters one at a time, pushing them towards the back of the unit and at the same time pulling downward.
- Wash the Filters without bending them, and leave them to dry completely before replacing.
- Replace, taking care to ensure that the handle faces forwards.
- Replace the lighting unit.
Activated Charcoal Filter (Recirculation Version)
- This cannot be washed or regenerated, and must be changed when all the command LEDs start to flash, or at least once every 4 months.
Activating the alarm signal
- In Recirculation Version Hoods, the Filter Saturation Alarm must be activated on installation or at a later date.
- Press and hold the Delay button (T4) on the keypad for 5 seconds and the following will be displayed:
- Leeds (L1-L2-L3) flash twice – Activated Charcoal Filter saturation alarm ACTIVATED.
- Leeds (L1-L2-L3) flash once – Activated Charcoal Filter saturation alarm DEACTIVATED.
CHANGING THE ACTIVATED CHARCOAL FILTER
Resetting the alarm signal
- Press button T1 (see the paragraph on Use).

Changing the Filter
- Open the lighting unit by pulling on the notch.
- Remove the Metal grease filters.
- Remove the saturated Activated Charcoal filter, as shown in the figure.
- Fit the new Filter, hooking it into place.
- Replace the Metal grease filters.
- Replace the lighting unit.
Lighting unit
- For replacement contact technical support (“To purchase contact technical support”).
![]()
991.0653.724_ver1 – 210604 – D000000007940_00

























