Professional 36 Stainless Steel Pro Style Dual Fuel Range

Product Information
The product is a range that can be connected to electricity and gas. It is designed for household cooking and has been tested to comply with safety standards such as ANSI Z21.1/CSA 1.1 Household Cooking Gas Appliances, UL 858 – The Standard for the safety of Household Electric Ranges, and CAN/CSA-C22.2 No. 61 Household Cooking Ranges. The range comes with an anti-tip bracket that needs to be installed properly to prevent the range from tipping over.
The user manual provides important safety instructions and warnings that should be followed to avoid property damage, personal injury, or loss of life.
Product Usage Instructions
Installation
The user manual provides detailed instructions on the installation process of the range. It includes information on product dimensions, unpacking, moving, and positioning the range, electrical connection, gas connection, conversion to propane gas (LPG), wall and floor attachment, and instructions for the installer. It is important that these instructions are followed precisely to avoid any accidents or damage.
Anti-Tip Bracket Installation
To check if the anti-tip bracket is installed properly, use both arms and grasp the back edge of the range. Carefully attempt to tilt the range forward. When properly installed, the range should not tilt forward. Refer to the anti-tip bracket installation instructions supplied with your range for proper installation.
Appliance Handling Safety
Hidden surfaces may have sharp edges. Use caution when reaching behind or under the appliance.
Electric Safety
Before you plug the electrical cord into an outlet, make sure that all the appliance controls are in the OFF position.
Gas Safety
To minimize exposure to substances that are known to cause cancer or reproductive harm, always operate this unit according to the instructions contained in the user manual and provide good ventilation.
Children Safety
Never leave children alone or unattended in the area where an appliance is in use. As children grow, teach them the proper, safe use of all appliances. Never leave the oven door open when the range is unattended.
Door and Drawer Safety
Stepping, leaning, or sitting on the doors or drawers of this range can result in serious injuries and can also cause damage to the range.
Servicing and Maintenance
Do not repair, replace, or remove any part of the appliance unless specifically recommended in the manuals. Improper installation, service, or maintenance can cause injury or property damage. Refer to this manual for guidance. All other servicing should be done by an authorized service provider.
IMPORTANT SAFETY INSTRUCTIONS
WARNING
If the instructions contained in this manual are not followed precisely, a fire or explosion may result causing property damage, personal injury or loss of life.
- Do not store or use gasoline or other flammable vapors, liquids or materials near this or any other appliance.
- WHAT TO DO IF YOU SMELL GAS
- Do not try to light any appliance.
- Do not touch any electrical switch.
- Do not use any telephones in your building.
- Immediately call your gas supplier from a neighbor’s phone. Follow the gas supplier’s instructions.
- If you cannot reach your gas supplier, call the fire department.
- Installation and service must be performed by a qualified installer, service company or gas supplier.
INSTALLATION AND SERVICE MUST BE PERFORMED BY A QUALIFIED INSTALLER.
IMPORTANT: SAVE FOR THE LOCAL INSPECTOR’S USE.
Important Notes to the Installer
- Read all instructions contained in these installation instructions before installing the range.
- Remove all packing material from the oven and the drawer compartments before connecting the electrical and gas supplies to the range.
- Observe all governing codes and ordinances. Be sure to leave these instructions with the consumer.
Important Note to the Customer
- Keep these instructions with your owner’s guide for future reference.
Definitions
- This manual contains important safety symbols and instructions. Please pay attention to these symbols and follow all instructions given.
WARNING
This symbol will help alert you to situations that may cause serious bodily harm, death or property damage.
CAUTION
This symbol will help alert you to situations that may cause injury or property damage.
TIP OVER HAZARD
WARNING: Tip Over Hazard
- A child or adult could tip the range over and be killed.

- Install the anti-tip device on the floor or wall as per the installation instructions.
- Engage the range with the anti-tip device as per the installation instructions.
- Ensure the anti-tip device is re-engaged when the range is moved.
- Do not operate the range without the anti-tip device in place and engaged.
- See installation instructions for details.
- Failure to follow these instructions can result in death or serious burns to children and adults.
- Check for proper installation and use of the anti-tip bracket. Carefully tip the range forward by pulling it from the back to ensure that the anti-tip bracket engages the range leg and prevents tip-over. The range should not move more than 1” (2.5cm).
To check if the anti-tip bracket is installed properly, use both arms and grasp the back edge of the range. Carefully attempt to tilt the range forward. When properly installed, the range should not tilt forward.

Refer to the anti-tip bracket installation instructions supplied with your range for proper installation.
Appliance Handling Safety
Hidden surfaces may have sharp edges. Use caution when reaching behind or under the appliance.
- Wear gloves to avoid cutting fingers on sharp edges during installation.
- The unit is heavy and requires at least two persons or proper equipment to move it.
- Do not lift appliance by the oven door handle. Remove the oven door for easier handling and installation.
- Do not use the oven for storage.
Safety Codes and Standards
This appliance complies with one or more of the following Standards: ANSI Z21.1/CSA 1.1 Household Cooking Gas Appliances.
UL 858 – The Standard for the safety of Household Electric Ranges.
CAN/CSA-C22.2 No. 61 Household Cooking Ranges.
- It is the responsibility of the owner and the installer to determine whether additional requirements and/or standards apply to specific installations.
- Installation must conform with local codes or, in the absence of local codes, with the National Fuel Gas Code, ANSI Z223.1/NFPA 54 or, in Canada, the Natural Gas and Propane Installation Code, CSA B149.1.
- The appliance must be electrically grounded in accordance with local codes or, in the absence of local codes, with the National Electrical Code, NFPA 70 latest edition or, in Canada, the Canadian Electric Code, CSA C22.1-02.
- Before installing the range in an area covered with linoleum or any other synthetic floor covering, make sure the floor covering can withstand heat at least 90°F above room temperature without shrinking, warping or discoloring. Do not install the range over carpeting unless you place an insulating pad or sheet of ¼”
(10,16cm) thick plywood between the range and carpeting. - Be sure your range is installed and grounded properly by a qualified installer or service technician.
- Make sure the wall coverings around the range can withstand the heat generated by the range.
WARNING
Never leave children alone or unattended in the area where an appliance is in use. As children grow, teach them the proper, safe use of all appliances. Never leave the oven door open when the range is unattended.
CAUTION
Stepping, leaning or sitting on the doors or drawers of this range can result in serious injuries and can also cause damage to the range.
- Do not store items of interest to children in the cabinets above the range. Children could be seriously burned if they climb on the range to reach items.
- To eliminate the need to reach over the surface burners, cabinet storage space above the burners should be avoided.
- Do not use the oven as a storage space. This creates a potentially hazardous situation.
- Do not store or use gasoline or other flammable vapors and liquids near this or any other appliance. Explosions or fires could result.
- Adjust the size of the surface burner flame so it does not extend beyond the edge of the cooking utensil. An excessive flame is hazardous.
- Never use your range for warming or heating the room. Prolonged use of the range without adequate ventilation can be dangerous.
- In the event of an electrical power outage, the surface burners can be lit manually. To light a surface burner, hold a lit match to the burner head and slowly turn the Surface Control knob to LITE. Use caution when lighting surface burners manually.
- Unlike the standard gas range, THIS COOKTOP IS NOT REMOVABLE. Do not attempt to remove the cooktop.
WARNING
Do not repair, replace or remove any part of the appliance unless specifically recommended in the manuals. Improper installation, service or maintenance can cause injury or property damage. Refer to this manual for guidance. All other servicing should be done by an authorized service provider.
Electric Safety
WARNING
Before you plug the electrical cord into an outlet, make sure that all the appliance controls are in the OFF position.
- Personal injury or death from electrical shock may occur if the appliance is not installed by a qualified installer or electrician.
- Make sure your appliance is properly installed and grounded by a qualified electrician. Installation, electrical connections and grounding must comply with all applicable codes..
- Before installing, turn power OFF at the service panel. Lock service panel to prevent power from being turned ON accidentally. For appliances equipped with a cord and plug, do not cut or remove the ground prong. It must be plugged into a matching grounding type receptacle to avoid electrical shock. If there is any doubt as to whether the wall receptacle is properly grounded, the customer should have it checked by a qualified electrician.
- Do not use an extension cord.
- Do not use an adapter.
- If required by the National Electrical Code (or Canadian Electrical Code), this appliance must be installed on a separate branch circuit.
- The circuit breaker should have a contact separation of at least 3 mm on all poles.
- INSTALLER – show the owner the location of the circuit breaker or fuse. Mark it for easy reference.
- Refer to rating label for more information.
Gas safety
WARNING
Burning gas cooking fuel generates some by-products which are on the list of substances which are known by the State of California to cause cancer or reproductive harm. To minimize exposure to these substances, always operate this unit according to the instructions contained in this booklet and provide good ventilation.
- Install a gas shutoff valve near the appliance. It must be easily accessible in an emergency.
- Leak testing must be conducted by the installer according to the instructions in this manual.
- The appliance and its individual shutoff valve must be disconnected from the gas supply piping system during any pressure testing at pressures in excess of ½ psi
(3.5 kPa). - The appliance must be isolated from the gas supply piping system by turning off its individual manual shutoff valve during pressure testing of the gas supply piping system at test pressures equal to or less than ½ psi (3.5kPa).
- The minimum supply pressure must be 1″ water column above the manifold pressure printed on the rating label. The maximum supply pressure of 14.0 inches water column (34.9 Millibars) must not exceed.
- IMPORTANT SAFETY NOTICE Burning gas cooking fuel generates some by products which are on the list of substances which are known by the State of California to cause cancer or reproductive harm. To minimize exposure to these substances, always operate this unit according to the instructions contained in this booklet and provide good ventilation.
Proposition 65 Warning:
This product may contain a chemical known to the State of California, which can cause cancer or reproductive harm. Therefore, the packaging of your product may bear the following label as required by California:
State of California Proposition 65
WARNING
Cancer or Reproductive Harm – www.P65Warnings.ca.gov
Propane Gas Installation
- The propane gas tank must be equipped with its own high pressure regulator. In addition, the regulator supplied with this unit must also be used.
- The appliance is shipped from the factory for use with natural gas. It must be converted for use with propane. The conversion must be done by a qualified technician or installer.
- This appliance can operate up to an altitude of 10,000 ft. (3048 m.) elevation above sea level. For use with propane gas, the appliance must be converted in accordance with the propane conversion instructions.
For installations in Massachusetts
- Installation must be performed by a qualified or licensed contractor, plumber or gas fitter qualified or licensed by the state, province or region where this appliance is being installed.
- Shut-off valve must be a “T” handle gas cock.
- Flexible gas connector must not be longer than 36 inches.
- Installer – show the owner where the gas shut-off valve is located.
Related Equipment Safety
- The appliance should only be used if installed by a qualified technician in accordance with these installation instructions and all applicable regulations and codes. The manufacturer is not responsible for damages resulting from incorrect installation.
- Remove all tape and packaging before using the appliance. Dispose of the packaging after unpacking the appliance. Never allow children to play with packaging material.
- Never modify or alter the construction of the appliance. For example, do not remove leveling legs, panels, wire covers or anti-tip brackets/screws.
- To eliminate the risk of burns or fire by reaching over hot surface units, cabinet storage space located above the surface units should be avoided. If cabinet storage is to be provided, the risk can be reduced by installing a hood that projects horizontally a minimum of 5 inches (127 mm) beyond the bottom of the cabinet. Be sure cabinets above the cooktop are a maximum of 13″ (330 mm) deep.
- When installing a cooktop over a single oven, be sure to follow both the oven and cooktop installation manuals.
Ventilation Recommendations
- Do not obstruct air vents or heat vent openings.
- We strongly recommend the installation of a ventilation hood above this appliance. The hood must be installed according to the instructions provided with the hood.
- Do not obstruct the flow of combustion air at the oven vent nor around the base or beneath the lower front panel of the range. Avoid touching the vent openings or nearby surfaces as they may become hot while the oven is in operation. This range requires fresh air for proper burner combustion.
- Air curtains or other overhead range hoods, which operate by blowing air downwards onto a range, shall not be used in conjunction with gas ranges other than when the hood and range have been designed, tested and listed by an independent test laboratory for use in combination with each other.
CAUTION
The appliance should not be installed with a ventilation system that blows air downward toward the burners. This type of ventilation system may cause ignition and combustion problems with the gas cooking appliance and may result in personal injury or unintended operation.
High altitude installation
- This appliance can operate up to an altitude of 10,000 ft.
(3048 m.) elevation above sea level. If desired, for altitudes above 2,000 ft (610 m) elevation above sea level, adjustments may be made. - Burners should be checked at the lowest setting, if the flame is not stable, the simmer should be increased until the flame is stable. This can be done by adjusting the bypass screw in the valve. If flame performance is satisfactory, adjustment will not be required.
- It is required that a Certified Professional make the high altitude adjustments during installation.
WARNING
If the information in this manual is not followed exactly, fire or shock may result causing property damage or personal injury.
- Improper installation is not covered by the warranty.
How to read the user manual
This user manual uses the following reading conventions:
Installation
Information for the qualified technician: installation, operation and inspection.

- Use instruction sequence
- Single use instructions.
SAVE THESE INSTRUCTIONS
Installation
Product dimensions
Overall dimensions: Location of gas and electrical connection points.

| A | 5 1/8″ | 130 mm |
| B | 1 1/8″ | 29 mm |
| C | 2 1/16″ | 52 mm |
| D | 25 9/16″ | 649 mm |
| F | min. 3 1/4″ Max. 4 7/16″ | min. 83 mm Max. 113 mm |
| H | 31 11/16″ | 805 mm |
| L | 35 15/16″ | 912.4 mm |

| L | 35 15/16″ | 912.4 mm |
| M1 | 25” | 630 mm |
| N2 | 42 13/16″ | 1088 mm |
| O | 25 9/16″ | 649 mm |
- Measurement M varies according to the model: the minimum is obtained without the rear spacers (see “Island installation”) and the maximum is obtained for traditional installation (slot-in installation – with the rear spacers).
- Measurement N refers to the open door.
Cabinet clearances

| A | 36″ | 914 mm |
| B | 25” | 630 mm |
| C1 | 20″ | 508 mm |
| G2 | 36″ | 914 mm |
| I3 | 18″ | 457 mm |
| L | see notes below | |
| M4 | 13″ | 330 mm |
| P4 | 13″ | 330 mm |
Clearance L can have the following values:
- L = 30” (762 mm) min. when the bottom of wood or metal cabinet is protected by not less than ¼” (0.64 cm) flame retardant millboard covered with not less than No. 28 MSG sheet steel, 0.015″ (0.4 mm) stainless steel, 0.024″ (0.6
mm) aluminum or 0.020″ (0.5 mm) copper. - L = 36″ (914 mm) min. clearance between the top of the cooking surface and the bottom of an unprotected wood or metal cabinet.
1 min. clearance from the sides of range to side wall or other combustible material;
2 min. cabinet opening width; 3 upper cabinet to countertop; 4 max. upper cabinet depth.
The side cabinet depth (clearance B) must match the front edge of the range side panel.

The distance between the appliance and the rear wall below the worktop is zero.
The distance between the appliance and the side cabinets below the worktop is zero.
Any opening in the wall behind the appliance and in the floor under the appliance shall be sealed.
Location of the gas and electric outlets 
| L | 11” | 279 mm |
| M | min. 2” | min. 51 mm |
| Max. 6 1/16” | Max. 154 mm | |
| N | 11” | 279 mm |
| P | min. 2” | min. 51 mm |
| Max. 6 1/16” | Max. 154 mm |
- X = Grounded outlet
- Y = Gas supply line
Island installation
If the appliance is installed as an island:
- Unscrew the screws shown.
- Remove the spacers (A).
- Replace the screws that were previously removed.

Keep a minimum clearance of 5 7/8″ (150 mm) between the appliance and the other furnishings or decorative elements according to the diagram below.
The side cabinet depth (clearance B) must match the front edge of the range side panel.

Unpacking, moving and positioning the range
CAUTION
This unit is designed as a cooking appliance. For safety reasons, never use it for warming the room or as a space heater.
- It is recommended that the grates, the griddle plate and burner heads, burner caps, front kick panel and oven racks be removed to facilitate handling. This will reduce the weight for moving.
- When positioning the appliance during installation, do not use the door handle to lift or move this appliance.
- Remove the outer carton and packing material from the shipping base.
- Remove angle-mounting brackets from the range.
- Due to its weight, a dolly/fork lift with soft rubber tread wheels should be used to move this unit. The weight must be supported uniformly across the bottom.
- The floor under the legs should be protected (wood, strips, carpet, paneling, etc.) before pushing the unit into position.
- The anti-tip device must be installed, and the gas and electrical connections should be made before the range is placed in its final position.
- Ensure that the burner caps are correctly positioned on the burner bases on the cooktop.
Legs should be installed near to where the appliance will be used as they are not secure for long transit. Keep the unit raised so that the legs can be screwed into their couplings, then lower the range gently to prevent the legs and mounting hardware from being subject to any undue strain. Instead of tilting the unit, it is recommended that a pallet or lift jack be used.
NOTE: First insert the front feet and then the rear ones.
The appliance must sit level on the floor to ensure stability:
- Screw or unscrew the bottom part of the foot until the appliance is stable and level on the floor. The adjustment range of the screw is 1 1/4“ (32 mm).
NOTE: this appliance must only use the specific leveling legs provided by the manufacturer.
Assembling the backguard
The backguard provided is an integral part of the product; it must be fastened to the appliance prior to installation.
The backguard must always be positioned and secured correctly on the appliance.
- Assembling the backguard. You can find the assembly instructions for the backguard in the instructions sheet provided.

- Position the backguard above the top, taking care to align the holes.

- Secure the backguard to the top by tightening screws.
- Once you have fixed the backguard to the appliance, you must insert the screws and spacers provided that are necessary for the slot-in installation.

Electrical connection
WARNING
Electrical shock hazard 
- This appliance is equipped with a three-prong grounding plug for your protection against electric shock and should be plugged directly into a properly grounded receptacle. Do not cut or remove the grounding prong from this plug.
- The grounding prong must be plugged into a matching grounding type receptacle and connected to a correctly polarized 120-Volt circuit. If there is any doubt as to whether the wall receptacle is properly grounded, have it checked by a qualified electrician.
- Failure to do any of the above could result in a fire, personal injury or electrical shock.
WARNING
Electrical shock hazard
- Disconnect the electrical supply before servicing the appliance
- It is the personal responsibility of the consumer to have the appropriate outlet or junction box with the correct, properly grounded wall receptacle installed by a qualified electrician. It is the responsibility and obligation of the consumer to contact a qualified installer to ensure that the electrical installation is suitable and in conformance with all local codes and ordinances.
CAUTION
Do not use multiple outlets, extension cords or adapters.
This range is equipped with a factory-connected power cord. The cord must be connected to a grounded 120/240 volt or 120/208 volt outlet. If no outlet is available, have one installed by a qualified electrician.

See the rating plate for technical specifications.
The rating plate is visibly located on the right side of the oven door frame.
These ID plates must never be removed. 
Gas connection
WARNING: Explosion hazard
- Use a new AGA or CSA-certified connector.
- Install a manual shut-off valve.
- Securely tighten all gas connections.
- If connected to propane, have a qualified technician ensure that the gas pressure does not exceed a 14″ W.C.P.
- Examples of qualified technicians include licensed heating personnel, authorized gas company personnel, and authorized service personnel.
- Failure to do so can result in loss of life, explosion, or fire.
NOTE:
- Observe all codes and ordinances in force.
- The range must be connected to a standard gas supply.
The appliance is shipped from the factory for use with natural gas at a pressure of 5″ of water column. When checking if the regulator is working properly, the inlet pressure must be at least 1″ greater than the operating (manifold) pressure above. When used with natural gas, the pressure supplied to the regulator must be between 6″ and 10.5″ of the water column.
To convert the appliance to propane gas see “Conversion to propane gas (LPG)”. The conversion must be done by a qualified technician or installer. Use a flexible gas pipe with a length of at least 5 ft (1.5 m). The gas inlet to the unit is located at the back right of the appliance. Install the pressure regulator (supplied with the unit) on the gas inlet. Install the gasket (supplied with the unit) between the inlet and the regulator. Position the regulator so that the cap D is easily accessible. Tighten the nut on the gas inlet so that it is hand tight plus 1/3 turn. Connect the gas pipe to the regulator using Teflon tape or pipe-joint compound (resistant to propane gas and natural gas). Turn so that it is hand tight plus 1/3 turn. Do not exceed 1 turn for alignment, to prevent possible damage to the gas pressure regulator.

- Gas inlet (attached to the appliance).
- Gasket.
- Pressure regulator.
CAUTION
Do not allow regulator to rotate on pipe when tightening fittings.
WARNING
The tightening torque of adapter (C / E) must not be greater than 36 ozf – 10 Nm.
WARNING
Do not attempt to adjust the pressure regulator, except when converting to propane. Adjustments could lead to leaks or cause incorrect gas pressure being supplied to the appliance.
Testing for gas leaks
WARNING
NEVER use a flame to check for gas leaks.
Gas leak tests should be performed before the testing the electric ignition of the burners:
- Turn on gas supply.
- Apply a non-corrosive leak detection fluid (e.g. soapy water) to all joints and conduits.
- If bubbles appear, it means there is a leak. Turn off the gas supply and tighten the connections.
- Retest for leaks. If no bubbles appear, the test is passed. Wipe off all residues of detection fluid.
Testing the electric ignition of the burner
This test should be performed after the range and supply line connectors have been carefully checked for leaks and the range connected to the electric power supply:
- Push in and turn a surface burner knob to the low flame position. You will hear the igniter sparking.
- The surface burner should light when gas is supplied to the cooktop burners. Each burner should light within four (4) seconds, after air has been purged from supply lines. Visually check that burner has lit.
- Once the burner lights, the control knob should be rotated out of the low flame position.
- There are separate ignition devices for each burner. Try each knob separately and together until all burner valves have been checked.
Minimum adjustment for natural Gas
Light the burner and turn the knob to the minimum position. Remove the gas tap knob and turn the adjustment screw at the side of the tap rod until the desired minimum flame is achieved. Refer to the following pictures.
- Dual Flame burner:

- Rapid burner:

Refit the knob and verify the correct ignition and burner flame stability (when turning the knob rapidly from the maximum to the minimum position the flame must not go out). Repeat this operation on the remaining gas taps on the cooktop.
Conversion to propane gas (LPG)
WARNING
This conversion kit shall be installed by a qualified service agency in accordance with the manufacturer’s instructions and all applicable codes and requirements of the authority having jurisdiction. If the information in these instructions is not followed exactly, a fire, explosion or production of carbon monoxide may result causing property damage, personal injury or loss of life. The professional installation service is responsible for the proper installation of this kit. The installation is not proper and complete until the operation of the converted appliance is checked as specified in the manufacturer’s instructions supplied with the kit.
WARNING
Before proceeding with the gas conversion, the gas supply must be turned off before disconnecting the electrical power.
WARNING
A gas leak test should be performed after the gas conversion has been carried out.
Always provide an adequate gas supply.
This appliance is shipped from the factory for use with natural gas. Use this kit to convert the appliance for use with propane gas, if necessary. Comply with the following: Ensure that the range is converted for use with the appropriate gas before using it.
This appliance is designed to operate at a pressure of 10″ of water column when used with propane gas. When checking if the regulator is working properly, the inlet pressure must be at least 1″ greater than the operating (manifold) pressure above.
When converting for propane gas use, the pressure supplied to the regulator must be between 11″ and 13″ of the water column.
The pressure regulator located at the inlet of the range manifold must remain in the supply line.
Use a flexible metal appliance connector or rigid pipe to connect the range to the gas supply. The connector should have an inside diameter of 1/2” and be 5 ft (1.5 m) or less in length.
(Exception: Maximum connector length in Massachusetts installations is 3 ft (0.9 m). In Canada, the connector must be single-wall metal and not longer than 6 ft (1.8 m).
Save the nozzles removed from the appliance for future use.
CAUTION
Before proceeding with the gas conversion, the gas supply must be turned off before disconnecting the electrical power.
Setting the pressure regulator for propane gas
To convert the regulator to the type of gas used, the following must be done:
- Unscrew the cover of the pressure regulator.

- Unscrew the plastic regulator stem from the regulator cap. Configuration “A” is for Natural Gas.
- Invert the plastic regulator stem to achieve the configuration “B” for Propane Gas and screw it in tightly.

- Screw the regulator stem and cap into place.
List of components
This conversion kit consists of the following components:
SPR36UGMX
- One label for propane gas injectors
- Four injectors Ø 0.94 mm for the Reduced Rapid burner.
- Two injectors Ø 0.48 mm for the Ultra-rapid Dual burner (internal crown).
- Two injectors Ø 1.15 mm for the Ultra-rapid Dual burner (external crown).
One change injectors warning label:

- One sealing gasket 12.5×18.5×2 (mm).

Replacing cooktop burner nozzles
- Remove all the grates and all the burner caps (1) and heads (2);

- Unscrew the burner nozzles using a 7 mm socket wrench;
- Replace the nozzles.
- Put the burners back in their correct position. Make sure that the holes of the flame-spreader crowns are aligned with the thermocouples (3) and igniters (4).
Rapid burner
Unscrew the burner nozzles with a 7 mm socket wrench and replace them according to the type of gas to be used and the description in section “Burner and nozzle characteristics tables”.
Dual Flame burner
- Remove the tightening screws (5), the cover plate (6) and the gasket (7).

- Remove the internal (8) and external (9) nozzles and replace them according to the type of gas to be used and the description in section “Burner and nozzle characteristics tables”.

- Refit the burner components correctly.
Minimum adjustment for propane gas:
Turn off the burners and unplug the appliance from the electric power supply. To regulate the minimum flame for propane, turn the screws at the side of the tap rod fully clockwise. Once the regulation has been completed, replace the seal on the by-passes using paint or similar materials.
Check the appearance of the flames
- Yellow flames: Further adjustment is required.
- Yellow tips on outer cones: Normal for propane gas.
- Soft blue flames: Normal for Natural Gas.
- Orange flames: Can be normal if certain types of humidifiers are used in the home. Flames should return to blue without the humidifier running.
If the flame is completely or mostly yellow, verify that the regulator is set for the correct fuel. Retest after adjustment.
Some yellow streaking is normal during the initial startup. Allow the appliance to operate for 4–5 minutes and reevaluate before making adjustments.
Burner and nozzle characteristics tables
To adjust the range for propane gas or to return to using Natural Gas, refer to the charts below.
| Natural Gas R DUAL int DUAL ext | |||
| QT (BTU) | 10000 | 18000 | |
| Injector Ø (mm) | 1.40 | 0.75 | 1.80 |
| QR (BTU) | 2500 | 1000 | |
| Propane R DUAL int DUAL ext | |||
| QT (BTU) | 10000 | 18000 | |
| Injector Ø (mm) | 0.94 | 0.48 | 1.15 |
| QR (BTU) | 2500 | 1000 | |
| By-pass (mm) | 0.45 | 0.30 | 0.55 |
NOTE: Save the nozzles that were removed from the appliance along with these instructions for possible future use.
- Connect the gas supply line to the unit pressure regulator using a 1/2” flex gas line connector between the manual shut-off valve and the pressure regulator. A metal flex line or fixed metal pipe must be used to connect the gas to the appliance. If a metal gas line cannot be used, consult your local certified electrician or local electric codes for proper grounding.
- Check the supply line connections for leaks using a soap solution or non-corrosive leak detection fluid. Do not use a flame of any sort.
WARNING
Install a gas shutoff valve near the appliance. After installation, it must be easily accessible in an emergency.
- Turn on gas.
- Apply a soap solution or non-corrosive leak detection fluid to all joints and fittings in the gas connection between the shut-off valve and the cooktop. Include gas fittings and joints in the cooktop if connections may have been disturbed during installation. Bubbles appearing around fittings and connections indicate a leak.
- If you detect a leak, turn off the supply line gas shut-off valve and tighten connections.
- Retest for leaks by turning the gas supply line shutoff valve on. When the leak check has been completed (no bubbles appear), the test is complete.
- Wipe off all residues of the soap solution or detection fluid.
Important notes for Gas Connection
- The appliance and its individual gas shutoff valve must be disconnected from the gas supply piping system during pressure testing of the system at test pressures in excess of 1/2 psi (3.5kPa).
- The appliance must be isolated from the gas supply piping system by turning off its individual manual shut-off valve during pressure testing of the gas supply piping system at test pressures equal to or less than 1/2 psi (3.5kPa).
Final operations
- Completely fill out the conversion label (part no. 92849A078) and attach it to the rear of the appliance. Do not cover any other labels with the conversion label.
- Over time, the gas taps may become difficult to turn and jam. Clean them internally and replace the lubrication grease.
NOTE: Lubrication of the gas taps should be performed by a specialized technician.
- Save the nozzles removed from the unit along with these instructions for possible future use.
- For installation of the appliance at high altitude, please consult your local gas company for their recommendation on the correct orifice sizes and any other necessary adjustments that will provide proper gas combustion at specified altitudes.
Lubricating the surface burner gas valves
Over time, the surface burner gas valves may become stiff or jam. Clean them internally and re-lubricate. This operation must be carried out by a qualified technician.
Conversion to natural gas
This appliance is shipped from the factory for use with natural gas. If the appliance was previously converted to propane gas, you have to convert it back to natural gas.
Check the orifices for the right nozzles and, if required, replace them. Adjust the minimum gas flow.
The optimum setting is achieved when the height of the small flame is approx. 1/8″ (3 to 4 mm).
Set the pressure regulator for natural gas.
Turn the spring plate the other way around as shown in “Setting the pressure regulator for propane gas”.
Save the nozzles removed from the appliance for future use.
Wall and floor attachment
WARNING
Electrical shock hazard
- Use extreme caution when drilling holes in the wall or floor. There may be concealed electrical wiring behind the wall or under the floor.
- Identify the location of the electrical circuits that could be affected by the installation of the anti-tip device, then turn off power to these circuits.
- Failure to follow these instructions may result in electrical shock or other personal injury.
CAUTION
- Contact a qualified installer or contractor to determine the proper method for drilling holes through the wall or floor material (such as ceramic tile, hardwood, etc.)
- Failure to follow these instructions may result in damage to wall or floor coverings.
WARNING
Visually check from the inside of the drawer that the wall/floor-mounted bracket is inserted into the appropriate lateral hook (left side).
WARNING: Tip Over Hazard
- A child or adult could tip the range over and be killed.

- Install the anti-tip device on the floor or wall as per the installation instructions.
- Engage the range with the anti-tip device as per the installation instructions.
- Ensure the anti-tip device is re-engaged when the range is moved.
- Do not operate the range without the anti-tip device in place and engaged.
- See installation instructions for details.
- Failure to follow these instructions can result in death or serious burns to children and adults.
Installing the anti-tip bracket
- Ensure that the electrical connection is in the correct position.
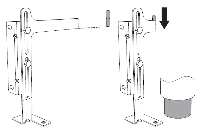
- Assemble the bracket.

- Align the base of the hook of the bracket with the base on the slot of the rear wall fastening bracket. Align the base of the fastening bracket with the floor and tighten the screws to fix the measurements.

- For wall mounting, go to steps 5, 6, 9 and 10. For floor mounting, to steps 7, 8 and 10.
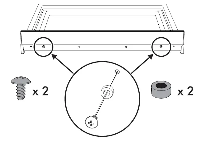
NOTE: The wall attachment is recommended if the appliance is placed against a wall. Floor attachment is recommended in case of island installation. - Use the specified distance from the side of the appliance to the bracket holes.

- Move the bracket to the wall and fix with the two washers and screws. A qualified technician must verify the suitability of the materials in accordance with the type and condition of the wall.

- Use the following distances for the distance from the side of the appliance to the bracket holes.

- After having positioned and leveled the appliance, move the bracket close to the rear of the appliance and anchor it to the floor using the two washers and screws. A qualified technician must verify the suitability of the materials in accordance with the type and condition of the floor.
WARNING
The rear vent trim has 3/16” (5 mm) standoffs to keep the appliance slightly away from the back wall. Do not remove or tamper with standoffs due to potential temperature issues. - Push the cooker towards the wall, and at the same time, insert the bracket in the plate that is fastened to the rear of the appliance.

- Check for proper installation and use of the anti-tip bracket. Carefully tip the range forward by pulling it from the back to ensure that the anti-tip bracket engages the range leg and prevents tip-over. The range should not move more than 1” (2.5cm).
Door removal
It is not necessary to remove the door in order to install the range, but is an added convenience. Refer to the Use and Care Guide for the oven door removal instructions.
For the installer
- The plug must remain accessible after the installation is complete. Do not kink or trap the mains connection cable.
- The appliance must be fitted according to the installation diagrams.
- When satisfied with the appliance, please instruct the user on the correct method of operation.
- Do not attempt to turn or stress the threaded elbow on the manifold. You risk damaging this part of the appliance, which may void the manufacturer’s warranty.
- Before leaving, check all connections for gas leaks with soap and water. DO NOT use a naked flame for detecting leaks.
- Ignite all burners individually and concurrently to ensure correct operation of the gas valves, burner and ignition.
- Turn the gas knobs to the low position and observe stability of the flame for each burner individually and all together.
- In case the appliance fails to operate correctly after all checks have been carried out, refer to the Authorized Assistance Center in your area.
- When satisfied with the appliance, please instruct the user on the correct method of operation.
- LEAVE THESE INSTRUCTIONS WITH APPLIANCE AFTER INSTALLATION IS COMPLETE.
















WARNING


















