KitchenAid Commercial-Style Dual Fuel Ranges

RANGE SAFETY
Your safety and the safety of others are very important. We have provided many important safety messages in this manual and on your appliance. Always read and obey all safety messages.
|
| WARNING: If the information in these instructions is not followed exactly, a fire or explosion may result causing property damage, personal injury or death |
| – Do not store or use gasoline or other flammable vapors and liquids in the vicinity of this or any other appliance. – WHAT TO DO IF YOU SMELL GAS:
– Installation and service must be performed by a qualified installer, service agency or the gas supplier. |
| WARNING: Gas leaks cannot always be detected by smell. Gas suppliers recommend that you use a gas detector approved by UL or CSA. For more information, contact your gas supplier. If a gas leak is detected, follow the “What to do if you smell gas” instructions. |
| IMPORTANT: Do not install a ventilation system that blows air downward toward this gas cooking appliance. This type of ventilation system may cause ignition and combustion problems with this gas cooking appliance resulting in personal injury or unintended operation. |
![]() | WARNING |
| A child or adult can tip the range and be killed. Install anti-tip bracket to floor or wall per installation instructions. Slide range back so rear range foot is engaged in the slot of the anti-tip bracket. Re-engage the anti-tip bracket if the range is moved. Do not operate range without anti-tip bracket installed and engaged. Failure to follow these instructions can result in death or serious burns to children and adults. | |
To verify the anti-tip bracket is installed and engaged:![]()
| |
INSTALLATION REQUIREMENTS
Tools and Parts
Gather the required tools and parts before starting installation. Read and follow the instructions provided with any tools listed here.
Tools Needed

For Propane/Natural Gas Conversions

Parts Supplied
Check that all parts are included.
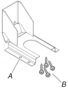
■ Anti-tip bracket kit
A. Anti-tip bracket
B. #8-18 x 1″ (2.5 cm) Phillips head screws (4)
NOTE: Anti-tip bracket must be securely mounted to subfloor. Thickness of flooring may require longer screws to anchor bracket to subfloor. Longer screws are available from your local hardware store. See the “Install Anti-Tip Bracket” section.
- Burner grates
- Burner caps
- Griddle drip tray (on griddle models)
Parts Needed
- All models must be installed with a backguard if installing at zero clearance to a combustible back wall surface such as drywall. See “Cabinet Dimensions” in the “Location Requirements” section for installation requirements.
Check local codes and consult gas supplier. Check existing gas supply and electrical supply. See the “Electrical Requirements” and “Gas Supply Requirements” sections.
It is recommended that all electrical connections be made by a licensed, qualified electrical installer.
Location Requirements
IMPORTANT: Observe all governing codes and ordinances. Do not obstruct flow of combustion and ventilation air
- It is the installer’s responsibility to comply with installation clearances specified on the model/serial/rating plate. The model/serial/rating plate is located under the console on the right-hand side.
- It is recommended that a 585 CFM (993.9 m3 /hr) or larger range hood be installed above the range.
- Follow the range hood or microwave hood combination installation instructions for dimensional clearances above the cooktop surface.
- Recessed installations must provide complete enclosure of the sides and rear of the range.
- All openings in the wall or floor where range is to be installed must be sealed.
- Do not seal the range to the side cabinets.
- Cabinet opening dimensions that are shown must be used.
Given dimensions are minimum clearances. - The anti-tip bracket must be installed. To install the anti-tip bracket shipped with the range, see the “Install Anti-Tip Bracket” section.
- Grounded electrical supply is required. See the “Electrical Requirements” section.
- Proper gas supply connection must be available. See the “Gas Supply Requirements” section.
- Contact a qualified floor covering installer to check that the floor covering can withstand at least 200°F (93°C). Use an insulated pad or 1/4″ (6.4 mm) plywood over carpet and under range if installing range over carpeting.
IMPORTANT: To avoid damage to your cabinets, check with your builder or cabinet supplier to make sure that the materials used will not discolor, delaminate, or sustain other damage. This oven has been designed in accordance with the requirements of UL and CSA International and complies with the maximum allowable wood cabinet temperatures of 194°F (90°C).
Mobile Home – Additional Installation Requirements
The installation of this range must conform to the Manufactured Home Construction and Safety Standard, Title 24 CFR, Part 3280 (formerly the Federal Standard for Mobile Home Construction and Safety, Title 24, HUD Part 280). When such standard is not applicable, use the Standard for Manufactured Home Installations, ANSI A225.1/NFPA 501A or local codes.
In Canada, the installation of this range must conform with the current standards CAN/CSA-A240-latest edition or with local codes.
Mobile Home Installations Require:
- When this range is installed in a mobile home, it must be secured to the floor during transit. Any method of securing the range is adequate as long as it conforms to the standards listed above.
Product Dimensions
NOTE: Cooktop features may differ.
30″ (76.2 cm) models
A. 273 /4″ (70.5 cm) depth with control panel (See NOTE.)
B. 36″ (91.4 cm) range height when sitting on the wheels
C. 297 /8 ” (75.7 cm) width
D. Model/serial/rating plate location/SAID label (located on front side panel)
36″ (91.4 cm) models
A. 273 ⁄4″ (70.5 cm) depth with control panel (See NOTE.)
B. 36″ (91.4 cm) range height when sitting on the wheels
C. 357 ⁄8″ (91.1 cm) width
D. Model/serial/rating plate location/SAID label (located on front side panel)
48″ (121.9 cm) models
A. 273 ⁄4″ (70.5 cm) depth with control panel (See NOTE.)
B. 36″ (91.4 cm) range height when sitting on the wheels
C. 477 ⁄8″ (121.6 cm) width
D. Model/serial/rating plate location/SAID label (located on front side panel
NOTE: When installed in a 24″ (61.0 cm) base cabinet with 25″ (63.5 cm) countertop; front of oven door protrudes 3″ (7.6 cm) beyond 24″ (61.0 cm) base cabinet.
Cabinet Requirements
Cabinet opening dimensions shown are for 25″ (64.0 cm) countertop depth, 24″ (61.0 cm) base cabinet depth, and 36″ (91.4 cm) countertop height. Dimensions must be met in order to ensure a flush fit to back wall.
IMPORTANT: If installing a range hood, hood liner, or microwave hood combination above the cooking surface, follow the range hood or microwave hood combination installation instructions for dimensional clearances above the cooking surface.
A. 18″ (45.7 cm) upper cabinet to countertop
B. 30″ (76.2 cm) model: 30″ (76.2 cm) min. upper cabinet width
36″ (91.4 cm) model: 36″ (91.4 cm) min. upper cabinet width
48″ (121.9 cm) model: 48″ (121.9 cm) min. upper cabinet width
C. 13″ (33 cm) max. upper cabinet depth
D. For minimum clearance to top of range.**
E. 30″ (76.2 cm) on 30″ (76.2 cm) models
36″ (91.4 cm) on 36″ (91.4 cm) models
48″ (121.9 cm) on 48″ (121.9 cm) models
F. 12″ (30.4 cm) min. clearance from both sides of range to side wall or other combustible material
G. 15″ (38.1 cm)
H. 22″ (55.9 cm) on 30″ (76.2 cm) models
28″ (71.1 cm) on 36″ (91.4 cm) models
40″ (101.6 cm) on 48″ (121.9 cm) models
I. 4″ (10.1 cm)
J. 3″ (7.6 cm)
K. 5″ (12.7 cm)
L. 6″ (15.2 cm) on 30″ (76.2 cm) models
12″ (30.5 cm) on 36″ (91.4 cm) models
24″ (61.0 cm) on 48″ (121.9 cm) models
M. 101 /2″ (26.7 cm)
N. 9″ (22.9 cm)
O. 6″ (15.2 cm)**
** If not using ventilation, Minimum Clearances
30″ (76.2 cm) models: 42″ (106.7 cm) minimum clearance between the top of the cooking platform and the bottom of a combustible surface
36″ (91.4 cm) models: 58″ (147.3 cm) minimum clearance between the top of the cooking platform and the bottom of a combustible surface
48″ (121.9 cm) models: 58″ (147.3 cm) minimum clearance between the top of the cooking platform and the bottom of a combustible surface
*** If the surface of the back wall is constructed of a combustible material and a backguard is not installed, a 6″ (15.2 cm) minimum clearance is required for all models.
Electrical Requirements: U.S.A. Only
If codes permit and a separate ground wire is used, it is recommended that a qualified electrical installer determine that the ground path and wire gauge are in accordance with local codes.
If codes permit and a separate ground wire is used, it is recommended that a qualified electrician determine that the ground path is adequate.
Do not use an extension cord.
Be sure that the electrical connection and wire size are adequate and in conformance with the National Electrical Code, ANSI/ NFPA 70 — latest edition — and all local codes and ordinances.
A copy of the above code standards can be obtained from:
National Fire Protection Association
1 Batterymarch Park
Quincy, MA 02169-7471
WARNING: Improper connection of the equipment-grounding conductor can result in a risk of electric shock. Check with a qualified electrician or service technician if you are in doubt as to whether the appliance is properly grounded. Do not modify the power supply cord plug. If it will not fit the outlet, have a proper outlet installed by a qualified electrician.
Electrical Connection
To properly install your range, you must determine the type of electrical connection you will be using and follow the instructions provided for it here.
- Range must be connected to the proper electrical voltage and frequency as specified on the model/serial/rating plate.
The model/serial/rating plate is located under the console on the right-hand side. Refer to the illustrations in “Product Dimensions” in the “Location Requirements” section. - This range is manufactured with a 4-wire power supply cord.
- A circuit breaker is recommended.
- Wire sizes and connections must conform with the rating of the range.
NOTE: If your home does not have a 4-wire system, consult your local qualified electrician.
Electrical Requirements: Canada Only
|
![]() |
Electrical Shock Hazard Electrically ground range. |
If codes permit and a separate ground wire is used, it is recommended that a qualified electrical installer determine that the ground path and wire gauge are in accordance with local codes.
Be sure that the electrical connection and wire size are adequate and in conformance with the CSA Standard C22.1, Canadian Electrical Code, Part 1 — latest edition — and all local codes and ordinances.
A copy of the above code standards can be obtained from:
Canadian Standards Association
178 Rexdale Blvd.
Toronto, ON M9W 1R3 CANADA
- Check with a qualified electrical installer if you are not sure the range is properly grounded.
- When a 4-wire, single-phase 250 V, 60 Hz, AC-only electrical supply is available, a 40 A minimum circuit protection is required on 30″ (76.2 cm) and 36″ (91.4 cm) ranges and a 50 A minimum circuit protection is required on 48″ (121.9 cm) ranges, fused on both sides of the line.
- A time-delay fuse or circuit breaker is recommended.
- This range is equipped with a CSA International Certified Power Cord intended to be plugged into a standard 14-50R wall receptacle. Be sure the wall receptacle is within reach of range’s final location

- Do not use an extension cord.
Gas Supply Requirements
|
![]() |
Explosion Hazard Use a new CSA International approved gas supply line. Install a shut-off valve. |
Observe all governing codes and ordinances.
IMPORTANT: This installation must conform with all local codes and ordinances. In the absence of local codes, installation must conform with American National Standard, National Fuel Gas Code ANSI Z223.1 — latest edition — or CAN/CGA B149 — latest edition.
IMPORTANT: Range must be connected to a regulated gas supply.
IMPORTANT: Leak testing of the range must be conducted according to the manufacturer’s instructions.
Type of Gas
Natural Gas:
This range is factory set for use with Natural gas. The model/ serial/rating plate, located under the console on the right-hand side, has information on the types of gas that can be used. If the types of gas listed do not include the type of gas available, check with the local gas supplier.
Propane Gas conversion:
Conversion must be done by a qualified service technician.
No attempt shall be made to convert the range from the gas specified on the model/serial/rating plate for use with a different gas without consulting the serving gas supplier. To convert to Propane gas, use the Propane gas conversion kit provided with your range and see the “Gas Conversions” section. The parts for this kit are in the package containing literature supplied with the range.
Gas Supply Line
- Provide a gas supply line of 3/4″ (1.9 cm) rigid pipe to the range location. A smaller size pipe on longer runs may result in insufficient gas supply. With Propane gas, piping or tubing size can be 1/2″ (1.3 cm) minimum. Usually, Propane gas suppliers determine the size and materials used in the system.
NOTE: Pipe-joint compounds that resist the action of Propane gas must be used. Do not use TEFLON®† tape.
Flexible metal appliance connector: - If local codes permit, a new CSA design-certified, 4-5 ft (122-152 cm) long, 5/8″ (1.6 cm) or 3/4″ (1.9 cm) I.D., flexible metal appliance connector may be used for connecting the range to the gas supply line.

- A 1/2″ (1.3 cm) male pipe thread is needed for connection to the female pipe threads of the inlet to the appliance pressure regulator.
- Do not kink or damage the flexible metal tubing when moving the range.
IMPORTANT: All connections must be wrench-tightened. Do not make connections to the gas regulator too tight. Making the connections too tight may crack the regulator and cause a gas leak. Do not allow the regulator to turn or move when tightening fittings. - Must include a shut-off valve:
Install a manual gas line shut-off valve in an easily accessible location. Do not block access to shut-off valve. The valve is for turning on or shutting off gas to the range.
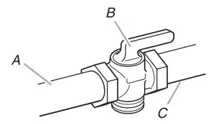
A. Gas supply line
B. Shut-off valve open position
C. To range
Gas Pressure Regulator
The gas pressure regulator supplied with this range must be used. The inlet pressure to the regulator should be as follows for proper operation:
Natural Gas:
Minimum pressure: 6″ (15.2 cm) WCP
Maximum pressure: 14″ (35.6 cm) WCP
Propane Gas:
Minimum pressure: 11″ (27.9 cm) WCP
Maximum pressure: 14″ (35.6 cm) WCP
Contact local gas supplier if you are not sure about the inlet pressure.
Burner Input Rating — Altitude
Input ratings shown on the model/serial/rating plate are for elevations up to 2,000 ft (609.6 m).
For elevations above 2,000 ft (609.6 m), ratings need to be reduced at a rate of 4% for each 1,000 ft (304.8 m) above sea level (not applicable for Canada).
Gas Supply Pressure Testing
Gas supply pressure for testing regulator must be at least 1″ (2.5 cm) water column pressure above the manifold pressure shown on the model/serial/rating plate.
Line pressure testing above 1/2 psi (3.5 kPa) gauge (14″ [35.6 cm] WCP)
The range and its individual shut-off valve must be disconnected from the gas supply piping system during any pressure testing of that system at test pressures in excess of 1/2 psi (3.5 kPa).
Line pressure testing at 1/2 psi (3.5 kPa) gauge (14″ [35.6 cm] WCP) or lower
The range must be isolated from the gas supply piping system by closing its individual manual shut-off valve during any pressure testing of the gas supply piping system at test pressures equal to or less than 1/2 psi (3.5 kPa).
INSTALLATION INSTRUCTIONS
Unpack the Range
|
Excessive Weight Hazard Use two or more people to move and install range. Failure to do so can result in back or other injury |
Remove shipping materials, tape, and film from range.
Keep shipping pallet under range. Remove oven racks, and parts package from inside oven. Remove grates from top of oven.
Remove Kick Plate
- Your range will have the kick plate packaged on top of the unit.
a. Remove kick plate from top of range and grate pack.
b. Lay kick plate to the side to avoid scratching.
- For 48″ (121.9 cm) models only, rotate center support counterclockwise off the pallet until it stops.

NOTE: This support is used only for shipping and is not needed for installation. - Lay a piece of cardboard from packaging on the floor behind range. Using two or more people, firmly grasp each side of range. Lift range up about 3″ (8.0 cm) and move it back until range is off shipping pallet. Set range on cardboard to avoid damaging floor.
Remove Door
Door Removal
- Do not remove the side door spacers until the range is ready to install. Removing the door spacers could allow the door to shift, damaging the door latch.
- Do not lift or move the range by the door handle(s) or control panel.
- Prior to installing the range, you will need to remove the oven door(s). Prepare a surface where you will place the door(s). This surface should be flat and covered with a soft blanket, or use the corner posts from the packaging material.

A. Oven door hinge in the locked position
B. Oven door hinge in the unlocked position

Partially close the door to engage the door latch locks. The door will stop at this point.

Use two hands to remove and replace the oven door(s). It may be necessary to gently shift door from side to side.

A. Slot in the oven frame for the door hinge lock
Replace the Door
- To replace the oven door(s), locate the slots in the oven cavity for the hinge locks and repeat the steps above in reverse order. Make sure the door closes properly and there is no interference from the door latch. If necessary, remove the door and repeat the steps above. If power is connected to the range, open and close the door to make sure the oven light comes on and goes off appropriately.
- The range is equipped with leveling legs and rollers. Once the range is removed from the shipping pallet, make sure the leveling legs are not touching the floor and use the rollers to move the range into position. Always cover the flooring surface to avoid damage to the floor. Do not roll the range directly on the floor.
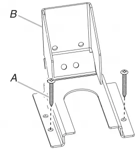
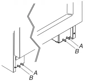
Install Anti-Tip Bracket
|
![]() |
Tip Over Hazard A child or adult can tip the range and be killed. |
- Determine which mounting method to use: floor or wall. If you have a stone or masonry floor, you can use the wall mounting method.
- Determine and mark centerline of the cutout space. The mounting bracket must be installed on the left side of the cutout. Position mounting bracket in cutout as shown in the following illustration.
Measurement B:
30″ (76.2 cm) ranges: 13″ (33.0 cm)
36″ (91.4 cm) ranges: 16″ (40.6 cm)
48″ (121.9 cm) ranges: 22″ (55.9 cm)
Measurement C:
Optional distance from back wall. If back wall is constructed of a combustible material and a backguard is not installed, a 6″ (15.2 cm) minimum clearance is required for all models. Install anti-tip bracket accordingly.
A. Centerline
B. Centerline of cutout to outside edge of anti-tip bracket
C. Back wall to back of range - Drill two 1/8″ (3.0 mm) holes that correspond to the bracket holes of the determined mounting method. See the following illustrations.
Floor Mounting
A. #12 x 15 ⁄8″ (4.1 cm) screws
B. Anti-tip bracket
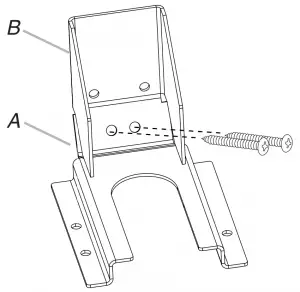
Wall Mounting
- Using a Phillips screwdriver, mount anti-tip bracket to the wall or floor with the two #12 x 15 ⁄8″ (4.1 cm) screws provided.
Depending on the thickness of your flooring, longer screws may be necessary to anchor the bracket to the subfloor.
Longer screws are available from your local hardware store. - Move range close enough to opening to allow for electrical connections to be made. Remove shipping base, cardboard, or hardboard from under range.
- Continue installing your range using the following installation instructions.
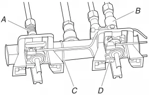
Make Gas Connection
|
![]() |
Explosion Hazard Use a new CSA International approved gas supply line. |
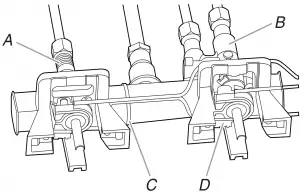
- Assemble flexible connector from gas supply pipe to pressure regulator located in the middle rear of the range.
- Apply pipe-joint compound made for use with Propane gas to the smaller thread ends of the flexible connector adapters.
(See B and G in the following illustration.) - Attach one adapter to the gas pressure regulator and the other adapter to the gas shut-off valve. Tighten both adapters, being certain not to move or turn the gas pressure regulator.
- Use a 15/16″ (2.4 cm) combination wrench and an adjustable wrench to attach the flexible gas supply to the adapters.
Check that connector is not kinked.
IMPORTANT: All connections must be wrench-tightened.
Do not make connections to the gas regulator too tight. Making the connections too tight may crack the regulator and cause a gas leak. Do not allow the regulator to turn or move when tightening fittings.

A. Gas pressure regulator
B. Use pipe-joint compound.
C. Adapter (must have 1/2″ [1.3 cm] male pipe thread)
D. Flexible connector
E. Manual gas shut-off valve
F. 1/2″ (1.3 cm) or 3/4″ (1.9 cm) gas pipe
G. Use pipe-joint compound.
H. Adapter
Complete Connection
- Open the manual shut-off valve in the gas supply line. The valve is open when the handle is parallel to the gas pipe.

A. Closed valve
B. Open valve - Test all connections by brushing on an approved noncorrosive leak-detection solution. If bubbles appear, a leak is indicated. Correct any leak found.
- Remove range burner caps, and grates from parts package.
Place burner caps on burner bases. Place grates over burners and caps. - Check that the range is plugged into the appropriate grounded outlet. (See the “Electrical Requirements” section.)
- Turn on power supply. For further information, please refer to the user instructions located in the Use and Care Guide
Verify Anti-Tip Bracket Location
- Using a 5/16″ (7.9 mm) socket or wrench, turn all four leveling rods one full turn to raise the range and provide enough clearance for the rear leveling leg to slide into the anti-tip bracket.

- Move range into its final location, making sure rear leveling leg slides into anti-tip bracket.
- Use a flashlight to look underneath the bottom of the range and visually check that the rear range foot is inserted into the slot of the anti-tip bracket.
Install Griddle Tray (On griddle models)
The griddle is factory installed.
- Place drip tray in the well at the front of the griddle. Slide tray toward the back until it stops

- Clean griddle before using. Refer to the Use and Care Guide.
Electronic Ignition System
Install Burner Caps
Place burner caps on top of burner. If burner caps are not properly positioned, surface burners will not light.
Burner
A. Incorrect
B. Correct
Initial Lighting and Gas Flame Adjustments
Range burners use electronic igniters in place of standing pilots. When the Range Control Knob is turned to any position, the system creates a spark to light the burner. This sparking continues until the flame is lit or the knob is turned to OFF.
NOTE: The first time igniting the burners will take longer. This allows the gas to reach the burners during the first use.
Check Operation of Range Burners
Push in and turn each Control Knob to
.
NOTE: You will hear a clicking sound while the line clears.
The surface burners and grill flames should light within 4 seconds. The first time a burner is lit, it may take longer than 4 seconds to light because of air in the gas line.
After verifying the proper burner operation, turn the Control Knobs to OFF.
If burners do not light properly:
- Turn Range Control Knob to OFF.
- Check that the range is plugged in and the circuit breaker has not tripped or the fuse has not blown.
- Check that the gas shut-off valves are set to the open position.
- Check that burner caps are properly positioned on burner bases.
Repeat startup. If a burner does not light at this point, contact your dealer or authorized service company for assistance.
Flame Height
The range flame should be a steady blue flame.
NOTE: Flame heights are factory set. If they don’t appear correct, please contact your service provider.
Burner
A. Upper (main) flame
B. Lower (simmer) flame
NOTE: Dual Stacked burner shown.
Level Range
NOTE: Range must be level for satisfactory baking performance.
- Place rack in oven.
- Place level on rack and check levelness of the range, first side to side, then front to back.

- If range is not level, adjust the leveling rods. Using a wrench, turn leveling rods located behind the kick plate to level range and to raise or lower range to the desired countertop height.

A. Rear leveling rod
B. Front leveling rod
NOTE: All roller feet must be off the floor upon final installation.
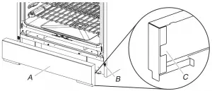
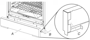
Install Kick Plate
NOTE: Door must be removed in order to remove or replace kick plate. Refer to the “Remove Door” section.
Align kick plate over the kick plate slots and push kick plate down.
A. Kick plate
B. Kick plate tab
C. Kick plate slot
D. Feet
Complete Installation
- Check that all parts are now installed. If there is an extra part, go back through the steps to see which step was skipped.
- Check that you have all of your tools.
- Dispose of/recycle all packaging materials.
- For oven use and cleaning, read the Use and Care Guide.
Check Operation of Oven(s)
- Turn power on.
- Start a Bake cycle. See the Use and Care Guide for operating instructions.
If oven(s) does not operate, check the following:
■ Household fuse is intact and tight or circuit breaker has not tripped.
■ Electrical supply is connected.
■ See the “Troubleshooting” section in the Use and Care Guide. - When oven has been on for 10–15 minutes, open the oven door and feel for heat.
If you do not feel heat, turn off the oven and contact a qualified technician.
If you need Assistance or Service:
Please reference the “Assistance or Service” section of the Use and Care Guide or contact the dealer from whom you purchased your range.
GAS CONVERSIONS
IMPORTANT: Gas conversions from Natural gas to Propane gas must be done by a qualified installer.
![]() |
Explosion Hazard Use a new CSA International approved gas supply line. Install a shut-off valve. |
Propane Gas Conversion
|
![]() |
Tip Over Hazard A child or adult can tip the range and be killed. |
- Turn the manual shut-off valve to the closed position

A. To range
B. Shut-off valve (closed position)
C. Gas supply line - Unplug range or disconnect power.
To Convert Gas Pressure Regulator from Natural Gas to Propane
NOTE: Door must be removed in order to remove or replace kickplate. Refer to the “Remove Door” section.
- Lift the kick plate up and off of the kick plate tab.

- Gently lay kick plate aside to avoid scratching.
- Locate the gas pressure regulator at the left rear of the range.

- Remove the gas pressure regulator cap by using a large flat-blade screwdriver, turning the regulator cap counterclockwise. When the cap is removed, do not lose the metal seal.
NOTE: Do not remove the spring beneath the cap.
- Remove spring retainer from the cap by turning the spring retainer counterclockwise. Locate the “LP” and “NAT” position on the spring retainer. Turn over the spring retainer so the “LP” arrow is pointing toward the cap.

A. Access cap
B. Metal seal
C. Gas pressure regulator
D. Spring retainer in NAT position
E. Spring retainer in LP position - Tighten the gas pressure regulator cap by using a large flat lade screwdriver, turning the regulator cap clockwise.
- Test the gas pressure regulator and gas supply line.
The regulator must be checked at a minimum 1″ (2.5 cm) water column above the set pressure. The inlet pressure to the regulator should be as follows for operation and checking the regulator setting:
Propane Gas:
Minimum pressure: 11″ (27.9 cm) WCP
Maximum pressure: 14″ (35.6 cm) WCP
Gas Supply Pressure Testing
Gas supply pressure for testing regulator must be at least 1″ (2.5 cm) water column pressure above the manifold pressure shown on the model/serial/rating plate.
Line pressure testing above 1/2 psi (3.5 kPa) gauge (14″ [35.6 cm] WCP)
The range and its individual shut-off valve must be disconnected from the gas supply piping system during any pressure testing of that system at test pressures in excess of 1/2 psi (3.5 kPa).
Line pressure testing at 1/2 psi (3.5 kPa) gauge (14″ [35.6 cm] WCP) or lower
The range must be isolated from the gas supply piping system by closing its individual manual shut-off valve during any pressure testing of the gas supply piping system at test pressures equal to or less than 1/2 psi (3.5 kPa).
To Convert Surface Burners from Natural Gas to Propane
- If the burner grates are installed, remove them.
- Remove burner cap.
- Remove the burner base by first removing (2) T-20 screws.
- Apply masking tape to the end of a 7 mm nut driver to help hold the gas orifice spud in the nut driver while changing it.
Insert nut driver into the gas opening and press down onto the gas orifice spud and remove by turning the gas orifice spud counterclockwise and lifting out. Set gas orifice spud aside. - Replace with correct Propane gas orifice spud. See the “Propane Gas Orifice Spud/Hood Chart”. Use the following chart to find the exact orifice spud placement.
Propane Gas Orifice Spud/Hood ChartBurner Rating
Stamp Size Burner Style
4,000 BTUs
63 0.63 mm

12,000 BTUs
103 1.03 mm 
13,000 BTUs 99 50 0.99 mm
0.50 mm
NOTE: Refer to serial tag for more information on burner ratings and locations.
Burner orifice spud
A. Size stamp
B. Fuel type stamp (L or N) - Place Natural gas orifice in plastic parts bag for future use and keep with package containing literature.
NOTE: There may be extra orifices in your kit. - Replace the burner base and screws. Tighten screws only until burner is snug to cooktop, do not over-tighten.
- Replace burner cap.
- Repeat steps 2 through 8 for the remaining burners.
Adjusting Simmer Low Setting on Surface Burners for Propane
- Unplug range or disconnect power.
- Using the square bit screwdriver, remove the surface burner control knobs and bezels (Oven control knobs and griddle control knobs do not have to be removed)
- Open the oven door and remove the two screws on each side of the range that hold the control console in place.

NOTE: Make sure to leave the door open or the control console will not rest in the side brackets properly once it is attached. - Pull up on the control console and let it drop forward into the notched console brackets on each side.

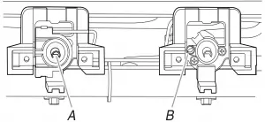
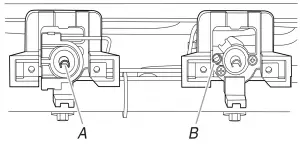
A. Control console bracket - Locate the appropriate low-turndown screw for the appropriate burner on the given valve. The low-turndown screw for the left rear, right rear, center rear, and center front burner valves (aluminum) is located through the center of the valve stem. The low-turndown screw for the left front and right front burner valves (brass) is located behind the ignition switch on the valve body, left of the stem. To remove the ignition switch cut the wire tie and pull the switch off the valve stem.

A. Aluminum Valve for Left Rear, Right Rear, Center Rear, and Center Front burners
B. Brass Valve for Left Front and Right Front Dual burners
C. Wire Tie
D. Ignition switch
A. Low-turndown adjustment screw for Aluminum Valve through center of stem
B. Low-turndown adjustment screw for Brass Valve - With the burner ON (the burner will have to be lit manually with a lighter), and set to simmer LOW, adjust the simmer flame down to the proper BTU level. Using a 1/8″ x 4¼” (3.2 mm x 108 mm) flat blade screwdriver, turn the simmer low-turndown adjustment screw clockwise until the flame height is at, or below, the bottom of the cap. If the flame becomes unstable and flickers or appears to race around the burner, the adjustment is too low and the screw should be adjusted counterclockwise until the flame is stable. Repeat this step for all surface burners.
NOTE: Use a knob to adjust the burner valve.
NOTE: Adjust each burner individually. - After adjustments are completed, replace the ignition switches onto the valves.
- Lift up on the control console and set it back into place. For a proper fit, the flange of the control console must hook over the lip on the front of the range cooktop.
NOTE: It may be necessary to lift valve stems to align with console holes.
A. Control console flange
B. Front lip of range cooktop - Check that the control console is flush with the top edge of the range.

A. Flush with range top - Replace the screws on each side of the control console.
- Replace the bezels using the 2 screws which attach to the valve brackets, making note that there are front and rear bezels and will only attach properly in the correct location on the console.
- Push the Surface Knobs onto the valve stems.
- Replace the burner grates.
Complete Installation
- Refer to the “Make Gas Connection” section for properly connecting the range to the gas supply.
- Refer to the “Electronic Ignition System” section for proper burner ignition, operation, and burner flame adjustments.
IMPORTANT: You may have to adjust the “LO” setting for each range burner. Checking for proper range burner flame is very important. The small inner cone should have a very distinct blue flame 1/4″ (6.4 mm) to 1/2″ (1.3 cm) long. The outer cone is not as distinct as the inner cone. Propane gas flames have a slightly yellow tip. - Refer to “Complete Installation” in the “Installation Instructions” section of this manual to complete this procedure
Natural Gas Conversion
|
![]() |
Tip Over Hazard A child or adult can tip the range and be killed. |
- Turn the manual shut-off valve to the closed position.

A. To range
B. Shut-off valve (closed position)
C. Gas supply line - Unplug range or disconnect power.
To Convert Gas Pressure Regulator from Propane to Natural Gas
NOTE: Door must be removed in order to remove or replace kick plate. Refer to the “Remove Door” section.
- Lift the kick plate up and off of the kick plate tab.

A. Kick plate
B. Kick plate tab
C. Kick plate slot - Gently lay kick plate aside to avoid scratching the stainless steel.
- Locate the gas pressure regulator at the left rear of the range.

A. Gas pressure regulator - Remove the gas pressure regulator cap by using a large flatblade screwdriver, turning the regulator cap counterclockwise.
When the cap is removed, do not lose the metal seal.
NOTE: Do not remove the spring beneath the cap.
- Remove spring retainer from the cap by turning the spring retainer counterclockwise. Locate the “LP” and “NAT” position on the spring retainer. Turn over the spring retainer so the “NAT” arrow is pointing toward the cap

A. Access cap
B. Metal seal
C. Gas pressure regulator
D. Spring retainer in LP position
E. Spring retainer in NAT position - Tighten the gas pressure regulator cap by using a large flatblade screwdriver, turning the regulator cap clockwise.
- Test the gas pressure regulator and gas supply line. The regulator must be checked at a minimum 1″ (2.5 cm) water column above the set pressure. The inlet pressure to the regulator should be as follows for operation and checking the regulator setting:
Natural Gas:
Minimum pressure: 6″ (15.2 cm) WCP
Maximum pressure: 14″ (35.6 cm) WCP
Gas Supply Pressure Testing
Gas supply pressure for testing regulator must be at least 1″ (2.5 cm) water column pressure above the manifold pressure shown on the model/serial/rating plate.
Line pressure testing above 1/2 psi (3.5 kPa) gauge (14″ [35.6 cm] WCP)
The range and its individual shut-off valve must be disconnected from the gas supply piping system during any pressure testing of that system at test pressures in excess of 1/2 psi (3.5 kPa).
Line pressure testing at 1/2 psi (3.5 kPa) gauge (14″ [35.6 cm] WCP) or lower
The range must be isolated from the gas supply piping system by closing its individual manual shut-off valve during any pressure testing of the gas supply piping system at test pressures equal to or less than 1/2 psi (3.5 kPa).
To Convert Surface Burners from Propane to Natural Gas
- If the burner grates are installed, remove them.
- Remove burner cap.
- Remove the burner base by first removing (2) T-20 screws.

Burner
A. Burner cap
B. Screws
C. Burner base - Apply masking tape to the end of a 7 mm nut driver to help hold the gas orifice spud in the nut driver while changing it. Insert nut driver into the gas opening and press down onto the gas orifice spud and remove by turning the gas orifice spud counterclockwise and lifting out. Set gas orifice spud aside.
- Replace with correct Natural gas orifice spud. See the “Natural Gas Orifice Spud/Hood Chart.” Use the following chart to find the exact orifice spud placement.
Natural Gas Orifice Spud/Hood ChartBurner Rating
Stamp Size Burner Style
5,000 BTUs
99 0.99 mm

15,000 BTUs
175 1.75 mm

20,000 BTUs
203 78 2.03 mm 0.78 mm

NOTE: Refer to serial tag for more information on burner ratings and locations.
A. Size stamp
B. Fuel type stamp (L or N) - Place Propane gas orifice spuds in plastic parts bag for future use and keep with package containing literature.
- Replace the burner base and screws. Tighten screws only until burner is snug to cooktop, do not over-tighten.
- Replace burner cap.
- Repeat steps 2 through 8 for the remaining burners.
Adjusting Simmer Low Setting on Surface Burners for Natural Gas
- Unplug range or disconnect power.
- Using the square bit screwdriver, remove the surface burner control knobs and bezels (Oven control knobs and griddle control knobs do not have to be removed).
- Open the oven door and remove the two screws on each side of the range that hold the control console in place.

NOTE: Make sure to leave the door open or the control console will not rest in the side brackets properly once it is attached. - Pull up on the control console and let it drop forward into the notched console brackets on each side.

A. Control console bracket - Locate the appropriate low-turndown screw for the appropriate burner on the given valve. The low-turndown screw for the left rear, right rear, center rear, and center front burner valves (aluminum) is located through the center of the valve stem. The low-turndown screw for the left front and right front burner valves (brass) is located behind the ignition switch on the valve body, left of the stem. To remove the ignition switch cut the wire tie and pull the switch off the valve stem.

A. Aluminum Valve for Left Rear, Right Rear, Center Rear, and Center Front burners
B. Brass Valve for Left Front and Right Front Dual burners
C. Wire Tie
D. Ignition switch
A. Low-turndown adjustment screw for Aluminum Valve through center of stem
B. Low-turndown adjustment screw for Brass Valve - With the burner ON (the burner will have to be lit manually with a lighter), and set to simmer LOW, adjust the simmer flame down to the proper BTU level. Using a 1/8″ x 4¼” (3.2 mm x 108 mm) flat blade screwdriver, turn the simmer low-turndown adjustment screw clockwise until the flame height is at, or below, the bottom of the cap. If the flame becomes unstable and flickers or appears to race around the burner, the adjustment is too low and the screw should be adjusted counterclockwise until the flame is stable. Repeat this step for all surface burners.
NOTE: Use a knob to adjust the burner valve.
NOTE: Adjust each burner individually. - After adjustments are completed, replace the ignition switches onto the valves.
- Lift up on the control console and set it back into place. For a proper fit, the flange of the control console must hook over the lip on the front of the range cooktop.
NOTE: It may be necessary to lift valve stems to align with console holes.
A. Control console flange
B. Front lip of range cooktop - Check that the control console is flush with the top edge of the range.

A. Flush with range top - Replace the screws on each side of the control console.
- Replace the bezels using the 2 screws which attach to the valve brackets, making note that there are front and rear bezels and will only attach properly in the correct location on the console.
- Push the Surface Knobs onto the valve stems.
- Replace the burner grates.
Complete Installation
- Refer to the “Make Gas Connection” section for properly connecting the range to the gas supply.
- Refer to the “Electronic Ignition System” section for proper burner ignition, operation, and burner flame adjustments.
IMPORTANT: You may have to adjust the “LO” setting for each range burner.
Checking for proper range burner flame is very important. The small inner cone should have a very distinct blue flame 1/4″ (6.4 mm) to 1/2″ (1.3 cm) long. The outer cone is not as distinct as the inner cone. Propane gas flames have a slightly yellow tip. - Refer to “Complete Installation” in the “Installation Instructions” section of this manual to complete this procedure.
®/™ ©2020 KitchenAid. All rights reserved. Used under license in Canada.![]()
This is the safety alert symbol.


































































