KitchenAid KSDG950ESS 30 Inch Dual Fuel 4-Burner Down Slide-In Range

INSTALLATION REQUIREMENTS
Tools and Parts
Gather the required tools and parts before starting installation. Read and follow the instructions provided with any tools listed here.
Tools Needed
- Tape measure
- Phillips screwdriver
- Flat-blade screwdriver
- 1/8″ (3 mm) flatblade screwdriver
- Level
- Drill
- Adjustable wrench
- Slip joint pliers
- Pipe wrench
- 15⁄16″ (2.4 cm) combination wrench
- 1/8″ (3.2 mm) drill bit (for wood floors)
- Marker or pencil
- 5¹⁄2″ (14 cm) hole saw (round ducting)
- Saw for 3¹⁄4″ x 10″ (8.3 x 25.4 cm) rectangle vent
- #2 square bit and driver
- Flashlight
- Masking tape
- Pipe-joint compound resistant to natural and Propane gases
- 3⁄16″ (4.8 mm) carbide-tipped masonry drill bit (for concrete/ ceramic floors)
- Noncorrosive leak-detection solution
- Sheet metal aluminum tape
Parts Supplied
Check that all parts are included.
- Propane/Natural gas conversion kit (dual fuel models only)
- Blower mounting/venting template
- Grease filter (packaged in place)
- Oven racks (3)
- Blower motor kit (under unit)
- Blower cover kit (packed in cavity)
- 10-32 hex nuts (attached to terminal block) (3)
- Direct wire lugs (3)
- #12 x 15 ⁄8″ (4.1 cm) screws (for mounting anti-tip bracket) (2)
- Anti-tip bracket (inside oven cavity)
Anti-tip bracket must be securely mounted to the back wall or floor. Thickness of flooring may require longer screws to anchor bracket to subfloor. Longer screws are available from your local hardware store
Parts Needed
- Use an approved vent cap for proper performance. If an alternate wall or roof cap is used, be certain the cap size is not reduced and that it has a backdraft damper.
- After determining your vent installation, one of the following is needed: 5″ (12.7 cm) Round surface wall cap damper – Order Part Number A405. 6″ (15.2 cm) Round surface wall cap damper – Order Part Number A406.
NOTE: If using 6″ (15.2 cm) round venting, you will need a 5″ (12.7 cm) to 6″ (15.2 cm) round vent transition. 3¼” x 10″ (8.3 x 25.4 cm) Surface wall cap damper – Order Part Number A403.
To order, see the “Assistance or Service” section of the Use and Care Guide:
- Metal ducting
- Vent clamp
- Aluminum foil tape
Check local codes and consult gas supplier. Check existing gas supply and electrical supply. See the appropriate “Electrical Requirements” and “Gas Supply Requirements” sections. It is recommended that all electrical connections be made by a licensed, qualified electrical installer.
Location Requirements
IMPORTANT: Observe all governing codes and ordinances. Do not obstruct flow of combustion and ventilation air.
- It is the installer’s responsibility to comply with installation clearances specified on the model/serial/rating plate. The model/serial/rating plate is located behind the oven door on the top right-hand side of the oven frame.
- The range should be located for convenient use in the kitchen.
- Recessed installations must provide complete enclosure of the sides and rear of the range.
- All openings in the wall or floor where range is to be installed must be sealed.
- Cabinet opening dimensions that are shown must be used. Given dimensions are minimum clearances.
- The anti-tip bracket must be installed. To install the anti-tip bracket shipped with the range, see “Install Anti-Tip Bracket” section.
- Grounded electrical supply is required. See the appropriate “Electrical Requirements” section.
- Proper gas supply connection must be available. See “Gas Supply Requirements” section.
- Contact a qualified floor covering installer to check that the floor covering can withstand at least 200°F (93°C).
- Use an insulated pad or 1/4″ (6.4 mm) plywood under range if installing range over carpeting.
IMPORTANT: To avoid damage to your cabinets, check with your builder or cabinet supplier to make sure that the materials used will not discolor, delaminate, or sustain other damage. This oven has been designed in accordance with the requirements of UL and CSA International and complies with the maximum allowable wood cabinet temperatures of 194°F (90°C). Mobile Home – Additional Installation Requirements The installation of this range must conform to the Manufactured Home Construction and Safety Standard, Title 24 CFR, Part 3280 (formerly the Federal Standard for Mobile Home Construction and Safety, Title 24, HUD Part 280). When such standard is not applicable, use the Standard for Manufactured Home Installations, ANSI A225.1/NFPA 501A or with local codes.
In Canada, the installation of this range must conform with the current standards CAN/CSA-A240-latest edition or with local codes.
Mobile Home Installations Require:
- When this range is installed in a mobile home, it must be secured to the floor during transit. Any method of securing the range is adequate as long as it conforms to the standards listed above.
- Four-wire power supply cord or cable must be used in a mobile home installation. The appliance wiring will need to be revised. See “Electrical Requirements – U.S.A. Only” section.
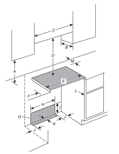
Product Dimensions
This manual covers several models. Your model may appear different from the models depicted. Dimensions given are maximum dimensions across all models.
- A. 1³⁄16″ (3.0 cm) height from cooktop to top of vent
- B. 297 ⁄8″ (75.9 cm)
- C. Model/serial/rating plate (located behind the oven door on the top right-hand side of the oven frame)
- D. 36″ (91.4 cm) height to top of cooktop edge with leveling legs screwed in all the way*
- E. 285 ⁄16″ (71.9 cm) max. depth from front of console to back of range
- F. 287 ⁄8″ (73.3 cm) max. depth from handle to back of range
IMPORTANT: Range must be level after installation. Follow the instructions in the “Level Range” section. Using the cooktop as a reference for leveling the range is not recommended. *Range can be raised approximately 1″ (2.5 cm) by adjusting the leveling legs.
Cabinet Dimensions
Cabinet opening dimensions shown are for 25″ (64.0 cm) countertop depth, 24″ (61.0 cm) base cabinet depth and 36″ (91.4 cm) countertop height.
IMPORTANT: If installing a range hood or microwave hood combination above the cooking surface, follow the range hood or microwave hood combination installation instructions for dimensional clearances above the cooktop surface. Range may be installed next to combustible walls with zero clearance.
NOTE: When installed in a slide-in cutout, the front of oven door may protrude beyond the base cabinet.
Slide-in Cutout:
- A. 18″ (45.7 cm) upper side cabinet to countertop
- B. 13″ (33 cm) max. upper cabinet depth
- C. 30″ (76.2 cm) min. opening width
- D. For minimum clearance to top of cooktop, see NOTE*.
- E. 30″ (76.2 cm) min. opening width
- F. 5″ (12.7 cm) min. clearance from both sides of range to side wall or other combustible material
- G. The shaded area is recommended for installation of rigid gas pipe and grounded outlet.
- H. 203 /8″ (51.8 cm)
- I. 7¹¹⁄16″ (19.5 cm)
- J. 4¹³⁄16″ (12.2 cm)
- K. 3¹¹⁄16″ (9.4 cm) plus measurement of M
- L. Cabinet door or hinges should not extend into the cutout.
- M. Remaining counter depth should not exceed 2¼” (5.7 cm).
NOTE: 24″ (61.0 cm) minimum when bottom of wood or metal cabinet is shielded by not less than 1⁄4″ (6.4 mm) flame retardant millboard covered with not less than No. 28 MSG sheet steel, 0.015″ (0.4 mm) stainless steel, 0.024″ (0.6 mm) aluminum or 0.020″ (0.5 mm) copper. 30″ (76.2 cm) minimum clearance between the top of the cooking platform and the bottom of an uncovered wood or metal cabinet.
Venting Requirements
IMPORTANT: This range must be exhausted outdoors unless you are using ductless venting. See the “Venting Methods” section.
- Do not terminate the vent system in an attic or other enclosed area.
- Use an approved vent cap for proper performance. If an alternate wall or roof cap is used, be certain the cap size is not reduced and that it has a backdraft damper.
- Vent system must terminate to the outside unless you are using a ductless vent kit.
- Use a 5″ (12.7 cm) or 6″ (15.2 cm) round metal vent or a 3¼” x 10″ (8.3 cm x 25.4 cm) rectangular vent.
- Rigid metal vent is recommended. For best performance, do not use plastic or metal foil vent.
- If a joist or stud must be cut, then a supporting frame must be constructed.
- The size of the vent should be uniform.
- The vent system must have a damper.
- Seal all joints in the vent system.
- Use caulking to seal exterior wall or roof opening around the cap.
- Determine which venting method is best for your application.
For Best Performance:
- Use 26-gauge minimum galvanized or 25-gauge minimum aluminum metal vent. Poor quality pipe fittings can reduce airflow. For external venting, flexible metal vent is not recommended.
NOTES:- For external venting, flexible metal vent is not recommended. Flexible vent creates back pressure and air turbulence that greatly reduce performance.
- Local codes may require a heavier gauge material.
- Metal duct may be reduced to 30-gauge galvanized steel or 26-gauge aluminized steel if allowed by local codes. This reduction is based on information in the International Residential Codes Section M1601.1 (2006 edition).
- Avoid installing 2 elbows together.
- Use no more than three 90° elbows.
- Make sure there is a minimum of 18″ (45.7 cm) of straight vent between the elbows if more than one elbow is used. Elbows too close together can cause excess turbulence that reduces airflow.
- Do not use a 5″ (12.7 cm) elbow in a 6″ (15.2 cm) or 3¼” x 10″ (8.3 x 25.4 cm) system.
- Do not reduce to a 5″ (12.7 cm) system after using a 6″ (15.2 cm) or 3¼” x 10″ (8.3 x 25.4 cm) fittings.
- Avoid forming handmade crimps. Handmade crimps may restrict airflow.
The length of vent system and number of elbows should be kept to a minimum to provide efficient performance. The maximum equivalent length of the vent system is 60 ft (18.3 m). For altitudes above 4,500 ft (1272 m), reduce recommended vent run by 20% for best performance.
Cold Weather Installations
An additional backdraft damper should be installed to minimize backward cold air flow and a thermal break installed to minimize conduction of outside temperatures as part of the vent system. The damper should be on the cold air side of the thermal break. Order Part Number 708786A for a 5″ (12.7 cm) thermal break. Order Part Number 715557A for a 6″ (15.2 cm) thermal break. To order, see the “Assistance or Service” section of the Use and Care Guide.
Makeup Air
Local building codes may require the use of makeup air systems when using ventilation systems greater than specified CFM of air movement. The specified CFM varies from locale to locale. Consult your HVAC professional for specific requirements in your area.
Venting Methods
Common venting methods are shown for a downdraft range. The downdraft range may be vented through the wall or floor.
Wall Venting:
Floor Venting
Venting Between Floor Joists:
Calculating Vent System Length
IMPORTANT: This range is rated at 60 ft (18.3 m) of 6″ (15.2 cm) or 30 ft (9.15 m) of 5″ (12.7 cm) straight duct. To calculate the length of the system you need, add the equivalent feet (meters) for each vent piece used in the system.
Electrical Requirements – U.S.A. Only
WARNING: Improper connection of the equipment-grounding conductor can result in a risk of electric shock. Check with a qualified electrician or service technician if you are in doubt as to whether the appliance is properly grounded. Do not modify the power supply cord plug. If it will not fit the outlet, have a proper outlet installed by a qualified electrician.
Electrical Connection
Check local codes and consult gas supplier. Check existing electrical supply and gas supply. See “Gas Supply Requirements” section. It is recommended that all electrical connections be made by a licensed, qualified electrical installer.
- Range must be connected to the proper electrical voltage and frequency as specified on the model/serial/rating plate. The model/serial/rating plate is located on the right vertical surface of the oven door frame. Refer to the illustrations in the “Product Dimensions” section of the “Location Requirements” section.
- This range is manufactured with a 4-wire power supply cord rated at 240 V, 40 A, rated at 194°F (90°C) and investigated for use with this range.

- When a 4-wire, single phase 240 V, 60 Hz, AC only electrical supply is available, a 40 A minimum circuit protection is required on 30″ (76.2 cm) ranges, fused on both sides of the line.
- A time-delay fuse or circuit breaker is recommended.
- This range is equipped with a UL or CSA International Certified Power Cord intended to be plugged into a standard 14-50R wall receptacle. Be sure the wall receptacle is within reach of range’s final location.

- Do not use an extension cord.
- The wiring diagram is located on the back of the range or in a clear plastic bag.
Electrical Requirements – Canada Only
WARNING: Electrically ground range. Failure to do so can result in death, fire, or electrical shock.
Be sure that the electrical connection and wire size are adequate and in conformance with the CSA Standard C22.1, Canadian Electrical Code, Part 1 – latest edition, and all local codes and ordinances.
- Check with a qualified electrical installer if you are not sure the range is properly grounded.

- When a 4-wire, single phase 240 V, 60 Hz, AC only electrical supply is available, a 40 A minimum circuit protection is required on 30″ (76.2 cm) ranges, fused on both sides of the line.
- A time-delay fuse or circuit breaker is recommended.
- This range is equipped with a UL or CSA International Certified Power Cord intended to be plugged into a standard 14-50R wall receptacle. Be sure the wall receptacle is within reach of range’s final location.

- Do not use an extension cord.
- The wiring diagram is located on the back of the range or in a clear plastic bag.
Gas Supply Requirements
WARNING: Use a new CSA International approved gas supply line. Install a shut-off valve. Securely tighten all gas connections. If connected to propane, have a qualified person make sure gas pressure does not exceed 14″ (36 cm) water column. Examples of a qualified person include: licensed heating personnel, authorized gas company personnel, and authorized service personnel. Failure to do so can result in death, explosion, or fire.
IMPORTANT: This installation must conform with all local codes and ordinances. In the absence of local codes, installation must conform with American National Standard, National Fuel Gas Code ANSI Z223.1 – latest edition or CAN/ CGA B149 – latest edition.
IMPORTANT: Leak testing of the range must be conducted according to the manufacturer’s instructions.
Type of Gas
- This range is factory-set for use with Natural gas. See “Gas Conversions” section. The model/serial/rating plate located on the oven frame behind the top right-hand side of the oven door has information on the types of gas that can be used. If the types of gas listed do not include the type of gas available, check with the local gas supplier.
Gas Supply Line
- Provide a gas supply line of 3/4″ (1.9 cm) rigid pipe to the range location. A smaller size pipe on longer runs may result in insufficient gas supply. With Propane gas, piping or tubing size can be 1/2″ (1.3 cm) minimum. Usually, Propane gas suppliers determine the size and materials used in the system.
NOTE: Pipe-joint compounds that resist the action of Propane gas must be used. Do not use TEFLON®† tape.
Flexible Metal Appliance Connector:
- If local codes permit, a new CSA design-certified, 4 to 5 ft (122 to 152.4 cm) long, 1/2″ or 3/4″ (1.3 or 1.9 cm) I.D. (inside diameter), flexible metal appliance connector may be used for connecting range to the gas supply line.

- A 1/2″ (1.3 cm) male pipe thread is needed for connection to the female pipe threads of the inlet to the appliance pressure regulator.
- Do not kink or damage the flexible metal tubing when moving the range.
- Must include a shut-off valve:
Install a manual gas line shut-off valve in an easily accessible location. Do not block & access to shut-off valve. The valve is for turning on or shutting off gas to the range.
Gas Pressure Regulator
The gas pressure regulator supplied with this range must be used. The inlet pressure to the regulator should be as follows for proper operation:
- Natural Gas: Minimum pressure: 5″ (12.7 cm) WCP Maximum pressure: 14″ (35.56 cm) WCP
- Propane Gas: Minimum pressure: 11″ (27.94 cm) WCP Maximum pressure: 14″ (35.56 cm) WCP Contact local gas supplier if you are not sure about the inlet pressure.
Burner Input Requirements
Input ratings shown on the model/serial/rating plate are for elevations up to 2,000 ft (609.6 m). For elevations above 2,000 ft (609.6 m), ratings are reduced at a rate of 4% for each 1,000 ft (304.8 m) above sea level (not applicable for Canada).
Gas Supply Pressure Testing
Gas supply pressure for testing regulator must be at least 1″ (2.5 cm) water column pressure above the manifold pressure shown on the model/serial/rating plate. Line Pressure Testing Above 1/2 psi (3.5 kPa) Gauge (14″ [35.56 cm] WCP) The range and its individual shut-off valve must be disconnected from the gas supply piping system during any pressure testing of that system at test pressures in excess of 1/2 psi (3.5 kPa). Line Pressure Testing at 1/2 psi (3.5 kPa) Gauge (14″ [35.56 cm] WCP) or Lower The range must be isolated from the gas supply piping system by closing its individual manual shut-off valve during any pressure testing of the gas supply piping system at test pressures equal to or less than 1/2 psi (3.5 kPa).
INSTALLATION INSTRUCTIONS
Unpack Range
- Remove shipping materials, tape and film from the range. Keep cardboard bottom under range. Do not dispose of anything until the installation is complete.
- Remove oven racks and parts package from oven and shipping materials.
- To remove cardboard bottom, first take 4 cardboard corners from the carton. Stack one cardboard corner on top of another. Repeat with the other 2 corners. Place them lengthwise on the floor behind the range to support the range when it is laid on its back.
- Using 2 or more people, firmly grasp the range and gently lay it on its back on the cardboard corners.
- Remove cardboard bottom. The leveling legs can be adjusted while the range is on its back. See the “Adjust Leveling Legs” section.
NOTE: To place range back up into a standing position, put a sheet of cardboard or hardboard on the floor in front of range to protect the flooring. Using 2 or more people, stand range back up onto the cardboard or hardboard.
Install Anti-Tip Bracket
WARNING: A child or adult can tip the range and be killed. Install anti-tip bracket to floor or wall per installation instructions. Slide range back so rear range foot is engaged in the slot of the anti-tip bracket. Re-engage the anti-tip bracket if range is moved. Do not operate range without an anti-tip bracket installed and engaged. Failure to follow these instructions can result in death or serious burns to children and adults.
- Remove the anti-tip bracket from the inside of the oven.
- Determine which mounting method to use: floor or wall. If you have a stone or masonry floor, you can use the wall mounting method. If you are installing the range in a mobile home, you must secure the range to the floor. This anti-tip bracket and screws can be used with wood or metal studs.
- Determine and mark centerline of the cutout space. The mounting bracket can be installed on either the left-hand or right-hand side of the cutout. Position mounting bracket against the wall in the cutout so that the V-notch of the bracket is 12½” (31.8 cm) from centerline as shown.

- Drill two 1/8″ (3 mm) holes that correspond to the bracket holes of the determined mounting method. See the following illustrations.
Floor Mounting
Wall Mounting
- Using the two #10 x 15 ⁄8″ (4.1 cm) Phillips-head screws provided, mount anti-tip bracket to the wall or floor.
- Move range close enough to opening to allow for final electrical connections. Remove shipping base, cardboard or hardboard from under range.
- Move range into its final location, making sure rear leveling leg slides into anti-tip bracket.

- Move range forward onto shipping base, cardboard or hardboard to continue installing the range, using the following installation instructions.
Position the Blower Location Template
- Determine and mark the centerline on the floor of the cabinet opening.

- Locate the blower location template in the Installation Parts Kit.
- If the countertop extends behind the opening, measure the distance from the back edge of the cabinet cutout to the wall.

- Fold the top of the blower mounting/venting template on the line that corresponds to the countertop depth measured in Step 3.

NOTE: The template has lines every 1/4″ (6.4 mm) from the back edge. If the distance measured in the previous step is 11 /4″ (32 mm), fold the template on the line labeled 11 /4″ (32 mm). If there is no countertop filler depth, fold the template at zero depth. - Align the template centerline with the centerline marked on the floor. Align the folded edge of the template against the rear wall.

Rear Wall Venting
- Determine where within area illustrated below the vent will exit. Mark the vent hole for the type of venting you are using.

- Draw an outline of the vent on the wall and cut the vent hole.

- Locate the blower.
- Locate the blower outlet adapter in the installation parts kit.
- Install the blower outlet adapter to the blower vent using three 8-18 x 3/8″ (9.5 mm) screws. Seal the connection with aluminum foil tape.
- Remove three felt pads from the gasket strip.
- Remove the paper backing from the felt pads and apply to the bottom of blower motor tabs.
NOTE: Felt pads reduce motor noise and aid in mounting to uneven floors. - Position the blower on the template so that the blower outlet adapter aligns with the home venting.
IMPORTANT: Make sure the blower motor is positioned within the area as shown on the template. - Connect the home vent system to the blower outlet adapter using sheet metal screws. Seal the connection with aluminum foil tape.
- Drill three 1/8″ (3 mm) pilot holes using the holes in the blower motor tabs as guides.
- Remove the template.
- Mount the blower motor to the floor with three #10 x 1″ (2.5 cm) screws provided.

- Go to the “Make Gas Connection” section.
Floor Venting
- Determine where within the template area that the vent will exit. Mark the vent hole for the type of venting you are using.

- Draw and cut the vent hole in the floor.

- Install the blower outlet adapter to the blower vent using three 8-18 x 3/8″ (9.5 mm) screws. Seal the connection with aluminum foil tape.
- Remove three felt pads from the gasket strip.
- Remove the paper backing from the felt pads and apply the bottom of a blower motor tabs.
NOTE: Felt pads reduce motor noise and aid in mounting to uneven floors. - Position the blower motor in the cabinet opening so that the blower exhaust venting aligns with the vent hole cut in Step 2.

- Connect the house vent system to the blower outlet adapter using a vent clamp; then wrap connection with aluminum tape.
- Drill three 1/8″ (3 mm) pilot holes using the blower motor tabs as guides.
- Remove the template.
- Mount the blower motor to the floor with three #10 x 1″ (2.5 cm) screws provided.

- Go to the “Make Gas Connection” section.
Make Gas Connection
This range is factory-set for use with Natural gas. To use this range with Propane gas, see the “Gas Conversions” section before connecting this range to the gas supply. Gas conversions from Natural gas to Propane gas or from Propane gas to Natural gas must be done by a qualified installer
Typical Flexible Connection
- Apply pipe-joint compound made for use with Propane gas to the smaller thread ends of the flexible connector adapters. See B and G in the following illustration.
- Attach one adapter to the gas pressure regulator and the other adapter to the gas shut-off valve. Tighten both adapters, being certain not to move or turn the gas pressure regulator.
- Use a 15/16″ (2.4 cm) combination wrench and an adjustable wrench to attach the flexible connector to the adapters.
IMPORTANT: All connections must be wrench-tightened. Do not make connections to the gas regulator too tight. Making the connections too tight may crack the regulator and cause a gas leak. Do not allow the regulator to turn when tightening fittings.
Complete Connection
- Open the manual shut-off valve in the gas supply line. The valve is open when the handle is parallel to the gas pipe

- Test all connections by brushing on an approved noncorrosive leak-detection solution. If bubbles appear, a leak is indicated. Correct any leak found.
Level Range
- Place level on the oven bottom, as indicated in one of the two figures below, depending on the size of the level. Check with the level side to side and front to back.

- If range is not level, use a wrench or pliers to adjust leveling legs up or down until the range is level.
NOTE: Range must be level for satisfactory baking performance and best cleaning results using AquaLift® Self-Clean Technology
Install Blower
Install Blower Cover
- Locate blower motor cover.
- Run the blower motor wires with strain relief through the small opening in the blower motor cover, starting from the inside and feeding out.

- Feed blower motor wire through opening and place the strain relief bracket to the inside of the blower cover. Install and tighten the two (2) provided #8–18 x 3/8″ (9.5 mm) screws to secure the strain relief bracket.

- Reposition the blower motor cover retainer spring as illustrated.

- Remove paper from the rear of the rectangular felt pad and apply adhesive side of felt to the bellow flange.

NOTE: This step is important to ensure maximum blower performance.. - Apply blower motor cover to the blower. Slightly spread the cover retainer spring to allow the cover to drop into position on the blower motor.

- Rotate blower motor cover so the bellows are facing towards the front of the installation.

- Move blower motor wire to the front of the installation.
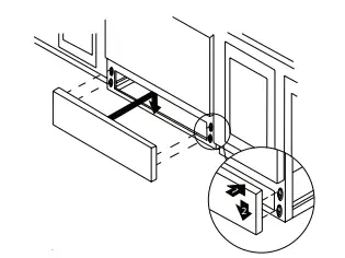
- Remove the cardboard or hardboard from under the range.
- Remove the front lower access panel of the range by gently lifting on the panel then pull outward.
- Using 2 or more people, gently move the range into its final location.
- Check to ensure the flexible metal gas connector and electrical cord are not kinked. Use a flashlight to look underneath the bottom of and behind the range.
- Verify that the anti-tip bracket is installed and engaged.
- a. Use a flashlight to look underneath the bottom of and behind the range.
- b. Visually check that the rear range foot is inserted into the slot of the anti-tip bracket.

- Rotate blower motor cover so the bellows are in their final position. Ensure the rear of the bellow flange is engaged in the retaining bracket.

- Secure the front of the blower bellow flange to the range frame with the supplied #8–18 x 3/8″ (9.5 mm) screw.

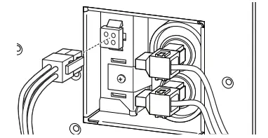
Connect Blower Electrical Parts
- Locate the capacitor (in Blower Motor Kit).

- Locate the capacitor storage tray in front of the blower bellow connection point in the lower right side of the range.

- Place capacitor in tray.
- Secure the capacitor with the capacitor retention bracket, then install the bracket screw.

- Secure the blower motor strain relief, near the quick connection end, to the blower electrical terminal cover with the two provided screws

- Locate the two-pin connector on the blower motor wire harness and connect it to the two-pin capacitor connector.

- Locate the 4-pin connector on the blower motor wire and plug it into the terminal connection point directly behind the capacitor storage tray.

- Install blower electrical terminal cover.
- Install terminal cover screw.

- Replace the access panel by aligning the studs with the keyhole slots on the range. Press the access panel forward into the slots and push downward to engage the studs.

- Reconnect power.
Adjust Leveling Legs
- 1. If range height adjustment is necessary, use a wrench or pliers to loosen the 4 leveling legs. This may be done with the range on its back or with the range supported on 2 legs after the range has been placed back to a standing position.
- Measure the distance from the top of the counter to the floor.
- Measure the distance from the top of the cooktop to the bottom of the leveling legs. This distance should be the same. If it is not, adjust the leveling legs to the correct height. The leveling legs can be loosened to add up to a maximum of 1″ (2.5 cm). A minimum of 3/16″ (5 mm) is needed to engage the anti-tip bracket.
NOTE: If height adjustment is made when range is standing, tilt the range back to adjust the front legs, and then tilt forward to adjust the rear legs. - When the range is at the correct height, check that there is adequate clearance under the range for the anti-tip bracket. Before sliding range into its final location, check that the anti-tip bracket will slide under the range and onto the rear leveling leg prior to anti-tip bracket installation.
NOTE: If a Trim Kit will be used, the top of the cooktop should be higher than the counter. See the Installation Instructions included with the Trim Kit for the correct height.
Initial Lighting and Gas Flame Adjustments
Cooktop and oven burners use electronic igniters in place of standing pilots. When the cooktop control knob is turned to the ignite position, the system creates a spark to light the burner. All cooktop burners will spark, but only the burner with the control knob turned to the ignite position will produce a flame. This sparking continues as long as the control knob is turned to the ignite position. When the oven control is turned to the desired setting, sparking occurs and ignites the gas.
Check Operation of Cooktop Burners
Push in and turn each control knob to the ignite position. The flame should light within 4 seconds. The first time a burner is lit, it may take longer than 4 seconds to light because of air in the gas line
If Burners Do Not Light Properly:
- Turn cooktop control knob to the off position.
- Check that the range is plugged into a grounded 3-prong outlet. Check that the circuit breaker has not tripped or the household fuse has not blown.
- Check that the gas shut-off valves are set to the open position.
- Check that burner caps are properly positioned on burner bases.
Repeat start-up. If a burner does not light at this point, turn the control knobs to the off position and contact your dealer or authorized service company for assistance. Please reference the “Warranty” section of the Use and Care Guide to contact service. If the cooktop “low” burner flame needs to be adjusted for any of the burners, see the “Adjust Flame Height” section.
Oven Door
For normal range use, it is not suggested to remove the oven door. However, if removal is necessary, make sure the oven is off and cool. Then follow these instructions.
NOTE: The oven door is heavy.
To Remove:
- Open oven door all the way.
- Pinch the hinge latch between two fingers and pull forward. Repeat on other side of oven door.

- Close the oven door as far as it will shut.
- Lift the oven door while holding both sides. Continue to push the oven door closed and pull it away from the oven door frame.

To Replace:
- Insert both hanger arms into the door. Be sure that the hinge notches are engaged in the oven door frame.

- Open the oven door. The door should be able to open all the way.
- Move the hinge levers back to the locked position. Check that the door is free to open and close and is level while closed. If it is not, repeat the removal and installation procedures.
Complete Installation
- Remove cooktop burner caps and bases from package containing parts. Place the burner bases as indicated by the following illustration:

- Align the gas tube opening in the burner base with the orifice holder on the cooktop and the igniter electrode with the notch in the burner base.

- Place the burner caps on the appropriate burner bases.

IMPORTANT: The bottom of the small and medium caps are different. Do not put the wrong size burner cap on the burner base. Each round burner cap is marked with an AUX, SR, or UR to match with a letter on the burner base.
- Place burner grates over burners and caps.
- Plug into grounded outlet. See the appropriate “Electrical Requirements” section.
- Check that all parts are now installed. If there is an extra part, go back through the steps to see which step was skipped.
- Check that you have all of your tools.
- Check that you have all of the range accessories, especially oven racks. These accessories may be in the range packaging.
- Dispose of/recycle all packaging materials.
- Check that the range is level. See the “Level Range” section.
- Use a mild solution of liquid household cleaner and warm water to remove waxy residue caused by shipping material. Dry thoroughly with a soft cloth. For more information, see the “Range Care” section of the Use and Care Guide.
- Read the Use and Care Guide.
- Turn on surface burners and oven. See the Use and Care Guide for instructions on range operation.
If Range Does Not Operate, Check the Following:
- Household fuse is intact and tight, or circuit breaker has not tripped.
- Gas pressure regulator shut-off valve is in the open position.
- Range is plugged into a grounded outlet.
- Electrical supply is connected
GAS CONVERSIONS
Gas conversions from Natural gas to Propane gas or from Propane gas to Natural gas must be done by a qualified installer
Propane Gas Conversion
- Turn manual shut-off valve to the closed position.

- Unplug range or disconnect power.
To Convert Gas Pressure Regulator
- Move the range out from the wall.
- Locate the gas pressure regulator at the lower right corner on the back of the range.

- Remove the front lower panel of the range.
- Disconnect the blower motor electrical connections.
- Disconnect the downdraft blower bellows from the range.
- Unscrew the metal cover and unscrew the blue regulator cap. Keep the washer in place.

- Flip the blue regulator cap over and screw it back into the metal cover.

- Screw the metal cover securely back into place. Do not overtighten.
To Convert Surface Burners (Natural Gas to Propane Gas)
- If installed, remove the burner grates.
- Remove the burner caps.
- Remove the burner base.

- Apply masking tape to the end of a 9/32″ (7 mm) nut driver to help hold the gas orifice spud in the nut driver while changing it. Press nut driver down onto the gas orifice spud and remove by turning it counterclockwise and lifting out. Set gas orifice spud aside.

- Remove the orifice spuds shipped in the literature package in the oven. Gas orifice spuds are stamped with a number, marked with 1 or 2 color dots, and have a groove in the hex area. Replace the Natural gas orifice spud with the correct Propane gas orifice spud.


- Place Natural gas orifice spuds in the orifice spud bag.
IMPORTANT: Keep the Natural gas orifice spuds in case of reinstallation with Natural gas. - Replace the burner base.
- Replace burner cap.
- Repeat steps 1 to 7 for the remaining burners.
Complete Installation (Natural Gas to Propane Gas)
- Refer to the “Make Gas Connection” section for proper connection of the range to the gas supply.
- Refer to the “Electronic Ignition System” section for proper burner ignition and operation.
- Refer to the “Adjust Flame Height” section for burner flame adjustments.
IMPORTANT: You may have to adjust the low setting for each cooktop burner. Checking for proper cooktop burner flame is very important. Natural gas flames do not have yellow tips. - Refer to “Complete Installation” in the “Installation Instructions” section of this manual to complete this procedure.
Natural Gas Conversion
- Turn manual shut-off valve to the closed position.

- Unplug range or disconnect power.
To Convert Gas Pressure Regulator (Propane Gas to Natural Gas)
- Move the range out from the wall.
- Locate the gas pressure regulator at the lower right corner on the back of the range.

- Remove the front lower panel of the range.
- Disconnect the blower motor electrical connections.
- Disconnect the downdraft blower bellows from the range.
- Unscrew the metal cover and unscrew the blue regulator cap. Keep the washer in place.
Flip the blue regulator cap over and screw it back into the metal cover.
- Screw the metal cover securely back into place. Do not overtighten.
To Convert Surface Burners (Propane Gas to Natural Gas)
- If they are installed, remove the burner grates.
- Remove the burner caps.
- Remove the burner base.

- Apply masking tape to the end of a 9/32″ (7 mm) nut driver to help hold the gas orifice spud in the nut driver while changing it. Press nut driver down onto the gas orifice spud and remove by turning it counterclockwise and lifting out. Set gas orifice spud aside.

- Gas orifice spuds are stamped with a number on the side. Replace the Propane gas orifice spud with the correct Natural gas orifice spud.

Natural Gas Orifice Spud Chart
- Place Propane gas orifice spuds in the orifice spud bag.
IMPORTANT: Keep the Propane gas orifice spuds in case of reinstallation with Propane gas. - Replace the burner base.
- Replace the burner cap.
- Repeat steps 1 to 7 for the remaining burners.
Complete Installation (Propane Gas to Natural Gas)
- Refer to the “Make Gas Connection” section for proper connection of the range to the gas supply.
- Refer to the “Electronic Ignition System” section for proper burner ignition and operation.
- Refer to the “Adjust Flame Height” section for burner flame adjustments.
IMPORTANT: You may have to adjust the low setting for each cooktop burner. Checking for proper cooktop burner flame is very important. Natural gas flames do not have yellow tips. - Refer to “Complete Installation” in the “Installation Instructions” section of this manual to complete this procedure.
Adjust Flame Height
Adjust Surface Burner Flame
Adjust the height of top burner flames. The cooktop “low” burner flame should be a steady blue flame approximately 1/4″ (6 mm) high. Propane gas flames have a slightly yellow tip.
To Adjust Standard Burner:
The flame can be adjusted using the adjustment screw in the center of the valve stem. The valve stem is located directly underneath the control knob.
If the “Low” Flame Needs to be Adjusted:
- Light one burner and turn to lowest setting.
- Remove the control knob. Hold the knob stem with a pair of pliers. Use a small flat-blade screwdriver to turn the screw located in the center of the control knob stem until the flame is the proper size. Turning the screw clockwise will increase the flame size, and turning the screw counterclockwise will decrease the flame size.

- Replace the control knob.
- Test the flame by turning the control from the low position to the high position, checking the flame at each setting.
- Repeat the previous steps for each burner.
To Adjust Double Burner (On Some Models):
- Light burner and turn to lowest setting where both inner and outer burners are lit.
- Remove the control knob. Hold the knob stem with a pair of pliers. Use a small flat-blade screwdriver to turn the screw located in the center of the control knob stem until the flame is the proper size. Turning the screw clockwise will increase the flame size, and turning the screw counterclockwise will decrease the flame size.

- Replace the control knob.
- Test the flame by turning the control from the low position to the high position, checking the flame at each setting.

























































Flip the blue regulator cap over and screw it back into the metal cover.

























