Slide-In Dual Fuel Range Control Guide
FEATURE GUIDE
WARNING: To reduce the risk of fire, electric shock, or injury to persons, read the IMPORTANT SAFETY INSTRUCTIONS, located in your appliance’s Owner’s Manual, before operating this appliance.
This manual covers several models. Your model may have some or all of the items listed. Refer to this manual or the Frequently Asked Questions (FAQs) section of our website at www.kitchenaid.com for more detailed instructions. In Canada, refer to the Customer Service Section at www.kitchenaid.ca.
WARNING
Food Poisoning Hazard
Do not let food sit for more than one hour before or after cooking.
Doing so can result in food poisoning or sickness.

| KEYPAD | FEATURE | INSTRUCTIONS |
| CLOCK/TOOLS | Clock | This clock can use a 12- or 24-hour cycle. See “Electronic Oven Controls” section. |
| 1. Press CLOCK/TOOLS until “CLOCK” is displayed. | ||
| 2. Use the number keypads to set the time of day. | ||
| 3. Press START to change the time. | ||
| 4. Press “3” for AM or “6” for PM. | ||
| CLOCK/TOOLS | Setting | Enables you to personalize the audible tones and oven operation to suit your needs. See the “Electronic Oven Controls” section |
| OVEN LIGHT | Oven cavity light | While the oven doors are closed, press OVEN LIGHT to turn the lights on and off. The oven lights will come on when an oven door is opened. |
| TIMER SET/OFF | Oven timer | The Timer can be set in hours or minutes up to 9 hours and 59 minutes. |
| 1. Press TIMER SET/OFF. | ||
| 2. Press the number keypads to set the length of time in hr-min-min. Leading zeros do not have to be entered. For example, for 2 minutes, enter “2.” | ||
| 3. Press TIMER SET/OFF to begin the countdown. If enabled, end-of-cycle tones will sound at the end of the countdown. | ||
| 4. Press TIMER SET/OFF again to cancel the Timer and return to the time of day. Do not press the Cancel keypad because the oven will turn off. | ||
| 5. If the Timer is running, but not in the display, press TIMER SET/OFF to display the countdown for 5 seconds. | ||
| START | Cooking start | The Start keypad begins any oven function. If Start is not pressed within 2 minutes after pressing a keypad, the function is canceled and the time of day is displayed. |
| CANCEL UPPER CANCEL LOWER (on some models) | Range function | The Cancel keypad stops any function for the appropriate oven or drawer, except the |
| Clock and Timer. |
| BAKE | Baking and roasting | 1. Press BAKE for the desired oven. 2. Press the number keypads to set the desired temperature. If the temperature entered is not in the range of the temperatures allowed, the minimum or maximum allowed temperature will be displayed. Enter a temperature in the allowable range. 3. Press START. 4. To change the temperature, repeat steps 2 and 3. 5. Press CANCEL UPPER when finished. |
| STEAM BAKE | Steam bake | 1. Insert the steam rack with the water reservoir in the oven. 2. Pour 11/2 cups (350 mL) of warm water into the water reservoir. NOTE: Do not fill past the MAX mark. 3. Press STEAM BAKE. 4. Press the number keypad to select the desired food option. 5. Press the number keypads to set the temperature. 6. Press START. 7. (Optional) Press COOK TIME. Press the number keypads to set the cooking time. 8. Press START. 9. Insert food when preheating finishes. 10. Press OFF LOWER when finished. NOTE: Let the oven cool before removing and emptying the water reservoir. |
| BROIL | Broiling | 1. Press BROIL. 2. Press the number keypads to set the desired temperature. If the temperature entered is not in the range of the temperatures allowed, the minimum or maximum allowed temperature will be displayed. Enter a temperature in the allowable range. 3. Press START and allow the oven to preheat for 5 minutes. 4. To change the temperature, repeat steps 2 and 3. 5. Position the cookware in the oven, and then close the door. 6. Press CANCEL UPPER when finished. |
| PROOF | Proofing bread | 1. Place prepared dough in the oven. Press PROOF. 2. Press START. Let the dough rise until nearly doubled in size. Proofing time may vary depending on dough type and quantity. 3. Press CANCEL UPPER when finished proofing. Refer to the “Proofing Bread” section for more information. Press KEEP WARM for the desired oven. |
| KEEP WARM | Hold warm | Food must be at serving temperature before placing it in the warmed oven. 1. Press KEEP WARM. 2. Press the number keypads to set the desired temperature. If the temperature entered is not in the range of the temperatures allowed, the minimum or maximum allowed temperature will be displayed. Enter a temperature in the allowable range. 3. Press START. 4. Press CANCEL UPPER when finished |
| EASY CONVECT BAKE | Convection cooking | 1. Press EASY CONVECT BAKE. 2. Press “1” to have the oven automatically convert the temperature and time for convection baking. Press “2” to manually convert the temperature and time. 3. Press the number keypads to set the desired temperature. If the temperature entered is not in the range of the temperatures allowed, the minimum or maximum allowed temperature will be displayed. Enter a temperature in the allowable range. 4. Press START. 5. (Optional) Press the number keypads to set a cook time. 6. Press START. 7. To change the temperature, repeat steps 2 and 3. 8. Press CANCEL UPPER when finished. |
| EASY CONVECT BROIL | Convection cooking | 1. Press EASY CONVECT BROIL. 2. Press “1” to have the oven automatically convert the temperature and time for convection baking. Press “2” to manually convert the temperature and time. 3. Press the number keypads to set the desired temperature. If the temperature entered is not in the range of the temperatures allowed, the minimum or maximum allowed temperature will be displayed. Enter a temperature in the allowable range. 4. Press START. 5. (Optional) Press the number keypads to set a cook time. 6. Press START. 7. To change the temperature, repeat steps 2 and 3. 8. Press CANCEL UPPER when finished. |
| EASY CONVECT ROAST | Convection cooking | 1. Press EASY CONVECT ROAST. 2. Press “1” to have the oven automatically convert the temperature and time for convection baking. Press “2” to manually convert the temperature and time. 3. Press the number keypads to set the desired temperature. If the temperature entered is not in the range of the temperatures allowed, the minimum or maximum allowed temperature will be displayed. Enter a temperature in the allowable range. 4. Press START. 5. (Optional) Press the number keypads to set a cook time. 6. Press START. 7. To change the temperature, repeat steps 2 and 3. 8. Press CANCEL UPPER when finished. |
| COOK TIME | Timed cooking | Cook Time allows the oven to be set to turn on at a certain time of day, cook for a set length of time, and/or shut off automatically. To set a Timed Cook or a Delayed Timed Cook, see the “Cook Time” section. |
| DELAY START | Delayed start | Cook Time allows the oven to be set to turn on at a certain time of day, cook for a set length of time, and/or shut off automatically. To set a Timed Cook or a Delayed Timed Cook, see the “Cook Time” section. |
| BAKING DRAWER BAKE (on some models) | Baking drawer | 1. Press BAKING DRAWER BAKE. 2. Press the number keypads to set the desired temperature. If the temperature entered is not in the range of the temperatures allowed, the minimum or maximum allowed temperature will be displayed. Enter a temperature in the allowable range. 3. Press START. 4. To change the temperature, repeat steps 2 and 3. 5. Press CANCEL LOWER when finished. |
| BAKING DRAWER SLOW COOK (on some models) | Slow Baking drawer | 1. Press BAKING DRAWER SLOW COOK. 2. Press the number keypads to set the desired temperature. If the temperature entered is not in the range of the temperatures allowed, the minimum or maximum allowed temperature will be displayed. Enter a temperature in the allowable range. 3. Place the food(s) in the baking drawer. 4. Press START. 5. (Optional) Set the desired cook time number keypads. 6. Press START to begin heating the baking drawer. 7. Press CANCEL LOWER when finished. |
| BAKING DRAWER KEEP WARM (on some models) | Warming drawer | Food must be at serving temperature before placing it in the warmed oven. 1. Press BAKING DRAWER KEEP WARM. 2. Press the number keypads to set the desired temperature. If the temperature entered is not in the range of the temperatures allowed, the minimum or maximum allowed temperature will be displayed. Enter a temperature in the allowable range. 3. Press START. 4. Press CANCEL LOWER when finished. |
| AQUALIFT SELF CLEAN | Clean cycle | See the “Clean Cycle” section in the Owner’s Manual. |
| START (Control Lock Hold 3 Sec) | Oven control lockout | 1. Check that the oven is OFF. 2. Press and hold START (Hold 3 Sec) for 3 seconds. 3. A tone will sound, “Control Locked” will scroll, and then “Locked” will be displayed. 4. Repeat to unlock. No keypads will function with the controls locked. The cooktop functions are not affected by the oven control lockout. |
| CLOCK/TOOLS | Energy save | 1. Press CLOCK/ TOOLS until “ENERGY SAVE” is displayed. 2. The current setting will be displayed. 3. Press the “1” keypad to adjust the setting 4. Press CANCEL to exit and display the time of day. If Energy Save is ON, the range will go into Sleep mode after 5 minutes of inactivity. Any keypad press will activate the display. If Energy Save is OFF, the display will be ON at all times. |
AquaLift® Self-Cleaning Technology

AquaLift Self-Cleaning Technology is a first-of-its-kind cleaning solution designed to minimize the time, temperature, and odors that ordinarily come with traditional self-cleaning methods. With AquaLift ® Self-Cleaning Technology, an innovative coating on the interior of the oven is activated with heat and water to release baked-on soil. To use AquaLift ® Self-Cleaning Technology, simply wipe out loose debris, pour water into the oven bottom, and run the AquaLift ® Self-Cleaning cycle. When the cycle finishes in under 1 hour at a lower temperature than in traditional self-cleaning methods, just wipe out the remaining water and loose debris. See the “Clean Cycle” section in the Owner’s Manual for more detailed instructions. For additional information, frequently asked questions, and videos on using AquaLift ® Self-Cleaning Technology, visit our website at
http://whirlpoolcorp.com/aqualift.
Surface Temperatures
When the range is in use, all range surfaces may become hot, such as the knobs and oven door.
Baking, Warming, or Storage Drawer
When the oven is in use, the drawer may become hot. Do not store plastics, cloth, or other items that could melt or burn in the drawer.
Oven Vent
The oven vent releases hot air and moisture from the oven, and should not be blocked or covered. Do not set plastics, paper, or other items that could melt or burn near the oven vent.
Electronic Oven Control
Control Display
The display will flash when powered up or after a power loss.
Press CANCEL UPPER to clear. When the oven is not in use, the time of day is displayed. If the range is in Energy Save mode, the display will be blank when not in use.
- Tones
Tones are audible signals, indicating the following:
One Tone - Valid keypad press
- Oven is preheated (long tone)
- Function has been entered.
- Kitchen timer (long tone with a reminder tone every 60 seconds).
Three Tones
- Invalid keypad press
Four Tones
- End of cycle (with a reminder tone every 60 seconds).
Use the Options key to change the tone settings.
Energy Save
Energy Save The Energy Save mode puts the range into Sleep mode and reduces energy consumption.
To Activate the Energy Save Mode:
- Press CLOCK/TOOLS until “ENERGY SAVE” is displayed.
- The current setting will be displayed.
- Press the “1” keypad to adjust the setting.
- Press CANCEL to exit and display the time of day.
The setting will be activated after 5 minutes.
To Deactivate the Energy Save Mode:
- Press CLOCK/TOOLS until “ENERGY SAVE” is displayed.
- The current setting will be displayed.
- Press the “1” keypad to adjust the setting.
- Press CANCEL to exit and display the time of day.
- The clock will reappear in the display and the range can be operated as usual.
Settings
Many features of the oven control can be adjusted to meet your personal needs. These changes are made using the Clock/Toolskeypad.
Use the Clock/Tools keypad to scroll through the features that can be changed. Each press of the Clock/Tools keypad will advance the display to the next setting. After selecting the feature to be changed, the control will prompt you for the required input. Then press START or CANCEL UPPER to exit and display the time of
day. Details of all of the feature changes are explained in the following sections.
Press CANCEL UPPER to exit Settings.
Clocks
Clock The Clock can use a 12- or 24-hour cycle.
- Press CLOCK/TOOLS until “CLOCK” is displayed.
- Use the number keypads to set the time of day.
- Press START to change the time.
- Press “3” for AM or “6” for PM.
Fahrenheit and Celsius
The temperature is preset to Fahrenheit but can be changed to Celsius.
- Press CLOCK/TOOLS until “TEMP UNIT” is displayed.
- The current setting will be displayed.
- Press the “1” keypad to adjust the setting.
- Press STARTor CANCEL UPPER to exit and display the time of day.
Audible Tones Disable
Turns off all tones, including the end-of-cycle tone and keypress tones. Reminder tones are still active when all tones are disabled.
- Press CLOCK/TOOLS until “SOUND” is displayed.
- The current setting will be displayed.
- Press the “1” keypad to adjust the setting
- Press START or CANCEL UPPER to exit and display the time of day
Sound Volume
Sets the volume of the tone to either high or low.
- Press CLOCK/TOOLS until “SOUND VOLUME” is displayed.
- The current setting will be displayed.
- Press the “1” keypad to adjust the setting.
- Press STARTor CANCEL UPPER to exit and display the time of day
End-of-Cycle Tone
Activates or turns off the tones that sound at the end of a cycle.
- Press CLOCK/TOOLS until “END TONE” is displayed.
- The current setting will be displayed.
- Press the “1” keypad to adjust the setting.
- Press START or CANCEL UPPER to exit and display the time of day
Keypress Tones
Activates or turns off the tones when a keypad is pressed_
- Press CLOCK/TOOLS month ‘KEYPRESS TONE is
- The current setting will be displayed
- Press the ‘1’ keypad to adjust the setting
- Press START or CANCEL UPPER to exit and display the time of day.
Reminder Tones Disable
Dis amp Turns off the short repeating tone that sounds every 1 minute after the end-of-eye* tones.
- Press CLOCK/TOOLS and ‘REMINDER TONE’ is displayed. 2 The current &Min will be displayed.
- Press the ‘1’ keypad to adjust the
- Press START or CANCEL UPPER to exit and display the tine of
12124 Hour Clock
- Press CLOCK/TOOLS until ‘12024 HOUR’ is displayed.
- The current setting will be
- Press the ‘1’ keypad to adjust the setting_
- Press START or CANCEL UPPER to exit and display the time of
Demo Mode
IMPORTANT: This feature is intended for use on the sales floor with a 120 V power connection and permits the control features to be demonstrated without the oven timing on. If this feature is activated. the oven will not work.
- Press CLOCK/TOOLS and ‘DEMO MODE’ is displayed.
- The current set–mg will be
- Press the ‘1’ keypad to adjust the setting_
- Press START or CANCEL UPPER to exit and display the time of
Sabbath Mode
The Sabbath mode sets the oven to remain ON in a bake setting until turned off. When the Sabbath mode is set. only the Bake cycle will operate. MI other cocking and cleaning cycles are disabled. No tones will soured and the displays will not indicate temperature changes. When the oven door is opened or dosed. the oven light will not turn on or off and the heating elements will not turn on or off immediately.
To Enable Sabbath Mode Capability (One Tine Only):
- Press CLOCK/TOOLS and ‘SABBATH’ is displayed.
- The current setting will be displayed.
- Press the1′ keypad to adjust the setting_
- Press START or CANCEL UPPER to exit and display the Tie of
12–Hour Shutoff
The oven control is set to automatically shut off the oven 12 hours after the oven initiates a cook or clean function. This will not Madera with any timed or delay cook functions.
- Press CLOCK/TOOLS and ’12Hr AUTO OFF is displayed.
- The current wain will be
- Press the ‘1’ keypad to adjust the
- Press START or CANCEL UPPER to exit and display the time of day
Languages – Scrolling Display Text
Language options are English. Spanish. and French.
- Press CLOCK/TOOLS and ‘LANGUAGE’ is
- The current setting will be
- Press the ‘1’ or ‘2’ keypad to select the desired language.
- Press START or CANCEL UPPER to exit and display the time of
Oven Temperature Offset Control
IMPORTANT: Do not use a thermometer to measure oven temperature. Elements will cycle on and off as needed to provide consistent temperature but may run slightly hot or cool at any point in time due to this cycling. Most thermometers are slow to react to temperature change and will not provide an accurate reading due to this cycling
The oven provides accurate temperatures; however, it may cook faster or slower than your previous oven, so the temperature can be adjusted to personalize it for your cooking needs. It can be changed to Fahrenheit or Celsius.
To Adjust Oven Temperature:
- Press CLOCK/TOOLS until “TEMP CALIB” is displayed.
- On some models, press “1” to adjust the drawer temperature calibration. Press START, wait 10 seconds for the display to change, and then continue with Step 3.
OR
Press START to adjust the oven temperature calibration. Wait 10 seconds for the display to change, and then continue with Step 3. - Press the “3” keypad to increase the temperature in 5°F (3°C) increments, or press the “6” keypad to decrease the temperature in 5°F (3°C) increments. The offset range is from -30°F to +30°F (-18°C to +18°C).
- Press START or CANCEL UPPER to exit and display the time of day.
Sabbath Mode
The Sabbath mode sets the oven to remain on in a bake setting until turned off.
When the Sabbath mode is set, only the Bake cycle will operate. All other cooking and cleaning cycles are disabled. No tones will sound, and the display will not indicate temperature changes. When the oven door is opened or closed, the oven light will not turn on or off and the heating elements will not turn on or off immediately.
To Enable Sabbath Mode Capability (One Time Only):
- Press SETTINGS/CLOCK until “SABBATH” is displayed. “OFF. Press (1) for On” will scroll in the display.
- Press the “1” keypad. “ON. Press (1) for Off” will scroll in the display. Sabbath mode can be activated for baking.
- Press START or CANCEL to exit and display the time of day.
NOTE: To disable the Sabbath mode, repeat steps 1 through 3 to change the status from “SABBATH ON” to “SABBATH OFF.”
To Activate Sabbath Mode:
- Press BAKE.
- Press the number keypads to set a temperature other than 350°F (177°C).
- Press START.
For timed cooking in Sabbath Mode, press COOK TIME and then the number keypads to set the desired cook time. Press START. - Press SETTINGS/CLOCK. Three tones will sound. Then press “7.” “SAb” will appear in the display.
To Adjust Temperature (When Sabbath Mode is Running):
- Press the number keypad as instructed by the scrolling text to select the new temperature.
NOTE: The temperature adjustment will not appear on the display, and no tones will sound. The scrolling text will be shown on the display as it was before the keypad was pressed. - Press START.
To Deactivate Sabbath Mode:
Press CLOCK/TOOLS, and then press “7” to return to regular baking, or press CANCEL for the desired oven to turn off the range.
NOTE: No tones will sound while deactivating Sabbath mode.
Griddle

To Use the Griddle:
- Locate the griddle on the right side grate, as shown. The locating feet on the bottom of the griddle will engage the grate tines to keep the griddle from sliding.
- Before each use, brush on a thin layer of cooking oil to keep food from sticking. Cooking sprays may leave a sticky residue on the griddle that is hard to remove.
- Preheat the griddle for 5 minutes. Preheating the griddle slowly will ensure even heat distribution and will avoid warping the griddle.
- For preheating and cooking, set the front burner to the lowest heat setting and the rear burner to medium-high heat for best performance.
NOTE: The griddle may also be used on the left side grate. For best results, the rear burner setting should be set to MediumLowor Medium, and the front burner setting should be set to Low.
To Clean the Griddle:
- Let the griddle cool, and then empty the drip tray.
- See the “General Cleaning” section in the Owner’s Manual for more information.
- Store griddle in a cool dry place.
Surface Grates
The grates must be properly positioned before cooking. In the proper position, the grates should be flush and level. Improper installation of the grates may result in chipping or scratching of the cooktop.
To ensure proper positioning, align bumpers on the grate bottom with the indentations in the cooktop.

The surface grates interlock using the hooks on the middle grate and the indents on the end grates. To remove the grates, remove the end grates first, and then remove the middle grate. To replace the grates, replace the middle grate first, and then place the end grates on either side.

Although the burner grates are durable, they will gradually lose their shine and/or discolor due to the high temperatures of the gas flame.
Surface Burners
IMPORTANT: Do not obstruct the flow of combustion and ventilation air around the burner grate edges.
Burner cap: Always keep the burner cap in place when using a surface burner. A clean burner cap will help avoid poor ignition and uneven flames. Always clean the burner cap after a spillover, and routinely remove and clean the caps according to the “General Cleaning” section in the Owner’s Manual.
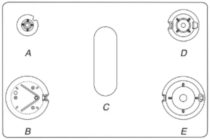
NOTE: Each round burner cap is marked with a letter indicating the burner size.
Alignment: Be sure to align the gas tube opening in the burner base with the orifice holder on the cooktop and the igniter electrode with the notch in the burner base.
NOTE: Each round burner cap is marked with a letter indicating the burner size.

A. Burner cap
B. Gas tube opening
C. Burner base
D. Igniter electrode
E. Orifice holder
Gas Tube Opening: Gas must flow freely throughout the gas tube opening for the burner to light properly. Keep this area free of soil, and do not allow spills, food, cleaning agents, or any other material to enter the gas tube opening. Keep spillovers out of the gas tube opening by always using a burner cap.

A. 1 to 1 ½” (2.5 to 3.8 cm)
B. Burner ports
Burner Ports: Check burner flames occasionally for proper size and shape as shown in the previous illustration. A good flame is blue in color, not yellow. Keep this area free of soil, and do not allow spills, food, cleaning agents, or any other material to enter the burner ports.
To Clean:
IMPORTANT: Before cleaning, make sure all controls are off and the cooktop is cool. Do not use oven cleaners, bleach, or rust removers. Do not wash in the dishwasher.
- Remove the burner cap and the burner base and clean according to the “General Cleaning” section in the Owner’s Manual.
- Clean the gas tube opening with a damp cloth.
- Clean clogged burner ports with a straight pin as shown. Do not enlarge or distort the port. Do not use a wooden toothpick. If the burner needs to be adjusted, contact a trained repair specialist.

- Replace the burner base. Each round burner base is marked with a letter indicating the burner size. See the following illustration for burner positions:
A. Small (Auxiliary)
B. X-Large (Stack)
C. Oval (OV)
D. Medium (Semi Rapid)
E. Large (Ultra Rapid) - Burner caps should be level when properly positioned. If burner caps are not properly positioned, surface burners will not light. The burner cap should not rock or wobble when properly aligned.
IMPORTANT: The bottom of the small and medium caps are different. Do not put the wrong size burner cap on the burner base.
- Turn on the burner. If the burner does not light, check cap alignment. If the burner still does not light, turn off the burner. Do not service the burner yourself. Contact a trained repair specialist.
Cookware
IMPORTANT: Do not leave empty cookware on a hot surface cooking area, element, or surface burner.
Ideal cookware should have a flat bottom, straight sides, and a well-fitting lid, and the material should be of medium-to-heavy thickness.
Rough finishes may scratch the cooktop or coils. Aluminum and copper may be used as a core or base in cookware. However, when used as a base, they can leave permanent marks on the surfaces.
Cookware material is a factor in how quickly and evenly heat is transferred, which affects cooking results. A nonstick finish has the same characteristics as its base material. For example, aluminum cookware with a nonstick finish will take on the properties of aluminum.
Cookware with nonstick surfaces should not be used under the broiler.
Check for flatness by placing the straight edge of a ruler across the bottom of the cookware. While you rotate the ruler, no space or light should be visible between it and the cookware.

Use the following chart as a guide for cookware material characteristics.
| COOKWARE | CHARACTERISTICS |
| Aluminum |
|
| Cast iron |
|
| Ceramic or Ceramic glass |
|
| Copper |
|
| Earthenware / Stoneware |
|
| Porcelain enamel-on-steel or cast iron |
|
| Stainless steel |
|
Use flat-bottomed cookware for best cooking results and energy efficiency. The cookware should be about the same size as the cooking area outlined on the cooktop. Cookware should not extend more than 1/2″ (1.3 cm) outside the area.

Home Canning
When canning for long periods, alternate the use of surface burners between batches. This allows time for the most recently used areas to cool.
- Center the canner on the grate above the burner.
- Do not place canner on 2 surface burners at the same time.
- For more information, contact your local agricultural extension office, or refer to published home canning guides. Companies that manufacture home canning products can also offer assistance.
Positioning Racks and Bakeware
To position a rack, pull it out to the stop position, raise the front edge, and then lift out. Use the following illustration and charts as guide.
The oven has 7 positions for a flat rack, as shown in the previous illustration and the following table.
Flat Rack Position* Type of Food
| 7 | Broiling/searing meats, hamburgers, steaks |
| 6 | Broiled meats, poultry, fish |
| 3 or 4 | Most baked goods, casseroles, frozen foods |
| 2 | Roasted meats |
| 1 | Large roasts or poultry |
*If your model has a Max Capacity Oven Rack, the recessed ends must be placed in the rack position above the desired position of the food. See the following illustration.

A. Ends of rack in position 3
B. Food in position 2
IMPORTANT: These rack positions are for flat racks. If a Max Capacity Oven Rack is used, the rack position must be adjusted as shown in the previous figure.
Multiple Rack Cooking
2-rack (non-convection): Use rack positions 2 and 5 or 3 and 6.
2-rack (convection): Use rack positions 2 and 5 or 3 and 6.
3-rack (convection): Use rack positions 2 and 7 and a Max
Capacity Oven Rack in rack position 5.
Bakeware
To cook food evenly, hot air must be able to circulate. Allow 2″ (5 cm) of space around bakeware and oven walls. Make sure that no bakeware piece is directly over another.
Roll-Out Rack
The roll-out rack allows easy access to position and removes food in the oven. It is not recommended to use the roll-out rack in the top rack, position 7, or the bottom rack, position
- Open Position
A. Rack frame
B. Sliding rack
Closed and Engaged Position
A. Rack frame
B. Sliding rack
To Insert Roll-Out Rack
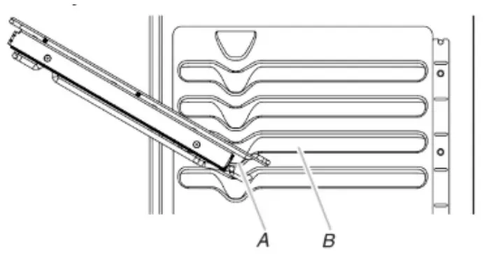
- Angle the front of the rack assembly up, and then insert the rack frame into the “V” cutout in the rack guides of the oven cavity.
A. “V” cutout
B. Rack guides - Keep rack assembly lifted up at an angle, and then push into bypass the lower “V” cutout.
- Lower the front of the rack assembly, and then gently slide rack assembly into the oven, bypassing the “V” cutouts. Push the rack assembly into the oven until it stops at the ladder in the back of the oven.
A. “V” cutout
B. Rack guides
D. Ladder hook
E. Ladder - Reach through the rack to hold the sliding rack and the front crossbar. Lift the front of the rack assembly, and then push the rack assembly to the back of the oven. Lower the front of the rack assembly so the ladder hook engages with the ladder on both sides of the oven.
A. Sliding rack
B. Front crossbar
To Remove Roll-Out Rack
- Push the sliding rack in completely so that it is in a closed and engaged position.
- Reach through the rack to hold the sliding rack and the front crossbar. Lift the front of the rack assembly to disengage the ladder hook from the ladders at the rear of the oven, and then pull the rack assembly forward.
- Using 2 hands, gently pull the sliding rack and the rack frame at the same time to the “V” cutout. Angle the rack so that the front is higher than the back, and then gently pull the rack past “V” cutout and then out of the oven.
To avoid damage to the sliding rack, do not place more than 25 lbs (11.4 kg) on the rack.
Do not clean the roll-out rack in a dishwasher. It may remove the rack’s lubricant and affect its ability to slide.
See the “General Cleaning” section in the Owner’s Manual for more information.
Baking Drawer
WARNING
Food Poisoning Hazard
Do not let food sit for more than one hour before or after cooking.
Doing so can result in food poisoning or sickness.
The baking drawer is highly recommended for baking frozen foods. Use the temperature and medium cook time given on the frozen food packaging. For example, if the packaging suggests a cook time of 15 to 20 minutes, set the cooking time for 17 minutes. Check food for doneness before removing it from the baking drawer.
The baking drawer may also be used for conventional baking, slow cooking, and keeping hot cooked foods warm. It is not recommended to prepare foods taller than the height of the baking drawer rack handles or foods that may rise above 2 ½” (6.4 cm) in the baking drawer.
IMPORTANT: Always use the baking drawer rack when using the baking drawer.

A. Baking drawer
B. Baking drawer rack
C. Baking drawer rack handles
See the “General Cleaning” section in the Owner’s Manual for more information.
To Bake with the Baking Drawer:
- Press BAKING DRAWER BAKE.
- Press the number keypads to set the desired temperature. If the temperature entered is not in the range of the temperatures allowed, the minimum or maximum allowed
temperature will be displayed. Enter a temperature in the allowable range. - Press START.
- To change the temperature, repeat steps 2 and 3.
- Press CANCEL LOWER when finished.
- Remove food from the drawer.
To Slow Cook with the Baking Drawer:
IMPORTANT: Brown roasts thoroughly before starting to slow cook.
- Place food in the Baking Drawer.
- Press BAKING DRAWER SLOW COOK.
- Press the number keypads to set the desired temperature. If the temperature entered is not in the range of the temperatures allowed, the minimum or maximum allowed
temperature will be displayed. Enter a temperature in the allowable range. - Press START.
- (Optional) Set the desired cook time using the number keypads.
- Press START.
- Press CANCEL LOWER when finished.
- Remove food from the baking drawer.
To Keep Warm with the Baking Drawer:
Food must be at serving temperature before placing it in the warmed drawer.
- Place food in the baking drawer
- Press BAKING DRAWER KEEP WARM.
- Press the number keypads to set the desired temperature. If the temperature entered is not in the range of the temperatures allowed, the minimum or maximum allowed
temperature will be displayed. Enter a temperature in the allowable range. - Press START.
- Press CANCEL LOWER when finished.
- Remove food from the baking drawer.
Baking and Roasting
Preheating
When beginning a Bake, Convect Bake, or Convect Roast cycle, the oven will begin preheating after Start is pressed. The oven will take approximately 12 to 15 minutes to reach 350°F (177°C) with all of the oven racks provided with your oven inside the oven cavity. Higher temperatures will take longer to preheat. The preheat cycle rapidly increases the oven temperature. The actual oven temperature will go above your set temperature to offset the heat lost when your oven door is opened to insert food. This ensures that when you place your food in the oven, the oven will begin at the proper temperature. Insert your food when the preheat tone sounds. Do not open the door during preheat before
the tone sounds.
Oven Temperature
While in use, the oven elements will cycle on and off as needed to maintain a consistent temperature, but they may run slightly hot or cool at any point in time due to this cycling. Opening the oven door while in use will release the hot air and cool the oven which could impact the cooking time and performance. It is recommended to use the oven light to monitor cooking progress.
NOTE: On models with convection, the convection fan may run in the non-convection bake mode to improve oven performance.
Temperature Management System
The Temperature Management System electronically regulates the oven heat levels during preheating and baking to maintain a precise temperature range for optimal cooking results. The bake and broil elements or burners cycle on and off in intervals. On convection range models, the fan will run while preheating and may be cycled on and off for short intervals during the bake to provide the best results. This feature is automatically activated when the oven is in use.
Before baking and roasting, position racks according to the “Positioning Racks and Bakeware” section. When roasting, it is not necessary to wait for the oven preheat cycle to end before putting food in unless it is recommended in the recipe.
Steam Bake
The Steam Bake function works in conjunction with the steam rack to provide additional moisture during baking. The steam rack contains a water reservoir that heats up and releases steam into the oven cavity during the Steam Bake cycle. There are 3 preprogrammed food options to choose from: Breads, Desserts, and Fish as well as a Refresh/Reheat option.
For best performance, place the steam rack in the lowest available rack position in the cavity and pour 1½ cups (350 mL) of water into the reservoir. Do not fill past the MAX level indicated on the reservoir.
After the Steam Bake cycle is complete, some water may remain in the reservoir. This is normal. Wait for the oven to cool and discard the water.

A. Steam rack
B. Water reservoir
Broiling
When broiling, preheat the oven for 2 minutes before putting food in, unless recommended otherwise in the recipe. Position food on the grid in a broiler pan, and then place it in the center of the oven rack.
NOTE: Close the door to ensure proper broiling temperature. Changing the temperature when broiling allows more precise control when cooking. The lower the broil setting is, the slower the cooking. Thicker cuts and unevenly shaped pieces of meat, fish, and poultry may cook better at lower broil settings. Use rack 6 or for broiling. Refer to the “Positioning Racks and Bakeware” section for more information. In lower settings, the broil element will cycle on and off to maintain the proper temperature.
- For best results, use a broiler pan and grid. It is designed to drain juices and help avoid spatter and smoke. If you would like to purchase a broiler pan, one may be ordered. Please refer to the Quick Start Guide for contact information.
Convection Cooking
In a convection oven, the fan-circulated hot air continually distributes heat more evenly than the natural movement of air in a standard thermal oven. This movement of hot air helps maintain a consistent temperature throughout the oven, cooking foods more evenly, crisping surfaces while sealing in moisture, and yielding crustier bread.

During convection baking or roasting, the bake, broil, and convection elements cycle on and off in intervals while the fan circulates the hot air. During convection broiling, the broil and convection elements cycle on and off.
If the oven door is opened during convection cooking, the fan will turn off immediately. It will come back on when the oven door is closed.
With convection cooking, most foods can be cooked at a lower temperature and/or a shorter cooking time than in a standard thermal oven. Depending upon the selected cooking mode, EasyConvect™ conversion can automatically reduce the standard recipe temperature and/or time you input for convection cooking. If you choose not to use the EasyConvect™ conversion, use the following table as a guide.
| Convection Mode | Time/Temp. Guidelines |
| Convection Bake | 25°F (15°C) lower temperature, possible shortened cooking time |
| Convection Roast | Cooking time shortened by up to 30% |
| Convection Broil | Shortened cooking time |
Convect Options
Convect Bake – multiple-rack baking or cookies, biscuits, breads, casseroles, tarts, tortes, cakes
Convect Roast – whole chicken or turkey, vegetables, pork roasts, beef roasts
Convect Broil – thicker cuts or unevenly shaped pieces of meat, fish, or poultry
Proofing Bread
Proofing bread prepares the dough for baking by activating the yeast. Follow the recipe directions as a guide. Standard Proof should be used for the fresh dough, thawed dough, and for the first and second rise. Rapid Proof (on some models) operates at a slightly higher temperature than Standard Proof, and it can be used for the second rise of the formed dough.
To Proof:
Before first proofing, place the dough in a lightly greased bowl and cover loosely with wax paper, coated with shortening. Place in position 2, and then close the oven door.
NOTE: If the temperature of the oven is greater than 120°F (49° C), “Oven Cooling” will be displayed until the temperature is less than 120°F (49°C).
- Press PROOF.
- Press START.
Let the dough rise until nearly doubled in size. Proofing time may vary depending on dough type and quantity. - Press CANCEL UPPER when finished proofing.
Before second proofing, shape the dough, place it in baking pan (s), and then cover loosely. Follow the same placement and control steps above. Before baking, remove the cover.
NOTE: If the oven temperature is greater than 120°F (49°C), the display will indicate “oven cooling” until the temperature is below 120°F (49°C).
Cook Time
WARNING
Food Poisoning Hazard
Do not let food sit for more than one hour before or after cooking.
Doing so can result in food poisoning or sickness.
To Set a Timed Cook:
- Press BAKE or BROIL or press an Easy Convect function.
- Press the number keypads to enter a temperature other than the one displayed.
- Press COOK TIME. The Cook Time oven indicator light will light up.
- Press the number keypads to enter the length of time to cook.
- Press START for the desired oven. The display will count down the time. When the time ends, the oven will shut off automatically.
- Press CANCEL for the desired oven to clear the display.
To Set a Delayed Timed Cook:
- Press BAKE or BROIL or press an Easy Convect function.
- Press the number keypads to enter a temperature other than the one displayed.
- Press COOK TIME. The Cook Time oven indicator light will light up.
- Press number keypads to enter the length of time to cook.
- Press DELAY START.
- Press number keypads to enter the number of hours and/or minutes you want to delay the start time.
- Press START.
When the start time is reached, the oven will automatically turn on. The temperature and/or time settings can be changed anytime after the oven turns on by repeating steps 2 through - When the set cook time ends, the oven will shut off automatically.
- Press CANCEL for the desired oven to clear the display.
W11477347A
®/™ ©2020 All rights reserved. Used under license in Canada.

A. Small (Auxiliary)
IMPORTANT: The bottom of the small and medium caps are different. Do not put the wrong size burner cap on the burner base.
A. Rack frame
A. “V” cutout
A. “V” cutout
A. Sliding rack

















