KitchenAid KFGD500EWH 30-Inch 5 Burner Gas Double Oven Convection Range

WARNING: To reduce the risk of fire, electric shock, or injury to persons, read the IMPORTANT SAFETY INSTRUCTIONS, located in your appliance’s Owner’s Manual, before operating this appliance. This manual covers several models. Your model may have some or all of the items listed. Refer to this manual or the Product Help section of our website at www.kitchenaid.com for more detailed instructions. In Canada, refer to the Product Help Section at www.kitchenaid.ca.
Food Poisoning Hazard
Do not let food sit for more than one hour before or after cooking. Doing so can result in food poisoning or sickness.
| KEYPAD | FEATURE | INSTRUCTIONS |
| CLOCK | Clock | This clock can use a 12 or 24 hour cycle. See “Electronic Oven Controls” section. |
| 1. Press the CLOCK. | ||
| 2. Press “3” for AM or “6” for PM or Time/Temp + keypad for AM or – keypad for PM. | ||
| 3. Press the number keypads or Time/Temp + or – to set the time of day. Press and hold to scroll quickly. | ||
| 4. Press the Clock keypad, START UPPER or START LOWER / Press CLOCK or START. | ||
| Oven Light | Oven cavity light | While the oven doors are closed, press OVEN LIGHT to turn the lights on or off. The oven lights will come on when an oven door is opened. |
| TIMER SET/OFF | Oven timer | The Timer can be set in hours or minutes up to 9 hours and 59 minutes. |
| 1. Press TIMER SET/OFF. | ||
| 2. Press the number keypads to set the length of time in hr-min-min. Leading zeros do not have to be entered. For example, for 2 minutes, enter “2.” | ||
| 3. Press TIMER SET/OFF to begin the countdown. If enabled, end-of-cycle tones will sound at the end of countdown. The display will return to the time of day at end of countdown. | ||
| 4. Press TIMER SET/OFF to cancel the Timer and return to the time of day. Do not press the off keypad because the oven will turn off. | ||
| START | Cooking start | The Start keypad begins any oven function. If Start is not pressed within 2 minutes after pressing a keypad, the function is canceled and the time of day is displayed. |
| OFF UPPER | Range | The upper and lower Off keypads stop any oven function except the Clock, Timer, and |
| OFF LOWER | function | Control Lock in the selected oven. |




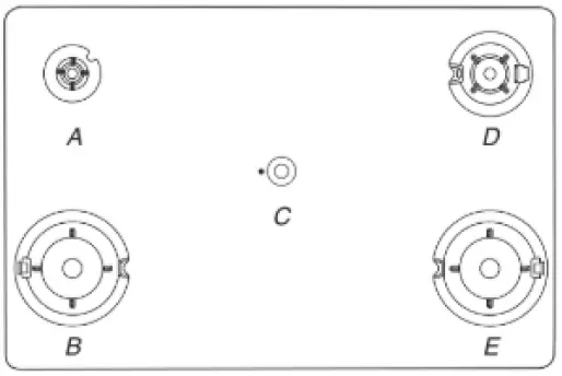
Surface Burners
NOTE: Do not obstruct the flow of combustion and ventilation air around the burner grate edges. Always keep the burner cap in place when using a surface burner. A clean burner cap will help avoid poor ignition and uneven flames. Always clean the burner cap after a spillover, and routinely remove and clean the caps according to the “General Cleaning” section in the Owner’s Manual. Alignment: Be sure to align the gas tube opening in the burner base with the orifice holder on the cooktop and the igniter electrode with the notch in the burner base.
- A. Burner cap
- B. Gas tube opening
- C. Burner base
- D. Igniter electrode
- E. Orifice holder
NOTE: The oval burner base is permanently attached to the burner cap.
Gas tube opening: Gas must flow freely throughout the gas tube opening for the burner to light properly. Keep this area free of soil and do not allow spills, food, cleaning agents or any other material to enter the gas tube opening. Keep spillovers out of the gas tube opening by always using a burner cap.
- 1-1 1/2″ (2.5-3.8 cm)
- Burner ports
To Clean:
IMPORTANT: Before cleaning, make sure all controls are OFF and the cooktop is cool. Do not use oven cleaners, bleach, or rust removers. Do not wash in the dishwasher.
- Remove the burner cap and the burner base, and clean according to “General Cleaning” section in the Owner’s Manual.
- Clean the gas tube opening with a damp cloth.
- Clean clogged burner ports with a straight pin as shown. Do not enlarge or distort the port. Do not use a wooden toothpick. If the burner needs to be adjusted, contact a trained repair specialist.

- Replace the burner base. The burner bases and caps must be properly positioned before cooking. Your range comes with three sizes of burners and caps. See the following illustration for burner positions.

- Small (AUX)
- Large (UR)
- Oval
- Medium (SR)
- Large (UR)
- Replace the burner cap, making sure it is properly aligned with the burner base. If burner caps are not properly positioned, surface burners will not light. The burner cap should not rock or wobble when properly aligned.

- Incorrect
- Correct
IMPORTANT: The bottom of the small and medium caps are different. Do not put the wrong size burner cap on the burner base.
- Turn on the burner. If the burner does not light, check cap alignment. If the burner still does not light, turn off the burner. Do not service the burner yourself. Contact a trained repair specialist.
Grates
The grates on this range cover the full width of the cooktop. The two grates may interlock (on some models), using the hook formed into one end of both grates. The flat end of one grate drops onto the hook on the other grate as shown in the following illustration.
On some models, the two grates are identical and can be used on either the left or right side of the cooktop. Grates that are designed for use on only one side of the cooktop will have either “LEFT” or “RIGHT” embossed on the bottom side of the grate.
Griddle

To Use the Griddle:
- Locate the griddle on the right side grate as shown. The locating feet on the bottom of the griddle will engage the grate tines to keep the griddle from sliding.
- Before each use, brush on a thin layer of cooking oil to keep food from sticking. Cooking sprays may leave a sticky residue on the griddle that is hard to remove.
- Preheat the griddle for 5 minutes. Preheating the griddle slowly will ensure even heat distribution and will avoid warping the griddle.
- For preheating and cooking, set the front burner to the lowest heat setting and the rear burner to Medium-High heat for best performance.
NOTE: The griddle may also be used on the left side grate. For best results, the rear burner setting should be set to Medium-Low or Medium, and the front burner setting should be set to Low.
To Clean the Griddle:
- Let the griddle cool, and then empty the drip tray.
- See the “General Cleaning” section of your Owner’s Manual for cleaning instructions.
- Store griddle in a cool dry place.
Cookware
IMPORTANT: Do not leave empty cookware on a hot surface cooking area, element, or surface burner. Ideal cookware should have a flat bottom, straight sides, and a well-fitting lid, and the material should be of medium-to-heavy thickness. Rough finishes may scratch the cooktop or coils. Aluminum and copper may be used as a core or base in cookware. However, when used as a base, they can leave permanent marks on the grates. Cookware material is a factor in how quickly and evenly heat is transferred which affects cooking results. Cookware with nonstick surfaces should not be used under the broiler. Check for flatness by placing the straight edge of a ruler across the bottom of the cookware. While you rotate the ruler, no space or light should be visible between it and the cookware.
Use the following chart as a guide for cookware material characteristics.
For best results, the cookware should be centered above the burner with the bottom sitting level on the grate. The flame should be adjusted so that it does not extend up the sides of the pan.
Home Canning
When canning for long periods, alternate the use of surface burners between batches. This allows time for the most recently used areas to cool.
- Center the canner on the grate above the burner.
- Do not place canner on 2 surface burners at the same time.
- For more information, contact your local agricultural extension office, or refer to published home canning guides. Companies that manufacture home canning products can also offer assistance.
OVEN USE
Odors and smoke are normal when the oven is used the first few times or when it is heavily soiled.
IMPORTANT: The health of some birds is extremely sensitive to the fumes given off. Exposure to the fumes may result in death to certain birds. Always move birds to another closed and well ventilated room.
Electronic Oven Controls
Control Display
The display will flash when powered up or after a power loss. When oven is not in use, the time of day is displayed.
Tones
Tones are audible signals, indicating the following:
One Tone
- Valid keypad press
- Oven is preheated (long tone)
- Kitchen timer (long tone with reminder tone every minute)
- Function has been entered.
Three Tones
- Invalid keypad press
Four Tones
- End of cycle (with reminder tone every minute) Use the Settings or Options keypad to change the tone settings.
Options
Many features of the oven control can be adjusted to meet your personal needs. These changes are made using the Options keypad. Use the Options keypad to scroll through the features that can be changed. Each press of the Options keypad will advance the display to the next setting. After selecting the feature to be changed, the control will prompt you for the required input. Details of all the feature changes are explained in the following sections. Press OFF UPPER or OFF LOWER to exit Options.
Fahrenheit and Celsius
The temperature is preset to Fahrenheit but can be changed to Celsius.
- Press OPTIONS until “TEMP UNIT” is displayed.
- The current setting will be displayed.
- Press the “1” keypad to adjust the setting.
- Press OFF UPPER or OFF LOWER to exit and display the time of day.
Audible Tones Disable
Turns off all tones, including the end of cycle tone and keypress tones.
- Press OPTIONS until “SOUND” is displayed.
- The current setting will be displayed.
- Press the “1” keypad to adjust the setting.
- Press OFF UPPER or OFF LOWER to exit and display the time of day.
Sound Volume
Sets the pitch of the tone to either high or low.
- Press OPTIONS until “SOUND VOLUME” is displayed.
- The current setting will be displayed.
- Press the “1” keypad to adjust the setting.
- Press OFF UPPER or OFF LOWER to exit and display the time of day.
End of Cycle Tone
Activates or turns off the tones that sound at the end of a cycle.
- Press OPTIONS until “END TONE” is displayed.
- The current setting will be displayed.
- Press the “1” keypad to adjust the setting.
- Press OFF UPPER or OFF LOWER to exit and display the time of day.
Keypress Tones
Activates or turns off the tones when a keypad is pressed.
- Press OPTIONS until “KEYPRESS TONE” is displayed.
- The current setting will be displayed.
- Press the “1” keypad to adjust the setting.
- Press OFF UPPER or OFF LOWER to exit and display the time of day.
Reminder Tones Disable
Turns off the short repeating tone that sounds every 1 minute after the end-of-cycle tones.
- Press OPTIONS until “REMINDER TONE” is displayed.
- The current setting will be displayed.
- Press the “1” keypad to adjust the setting.
- Press OFF UPPER or OFF LOWER to exit and display the time of day.
12/24 Hour Clock
Turns off the short repeating tone that sounds every 1 minute after the end-of-cycle tones.
- Press OPTIONS until “12/24 HOUR” is displayed.
- The current setting will be displayed.
- Press the “1” keypad to adjust the setting.
- Press OFF UPPER or OFF LOWER to exit and display the time of day.
12 Hour Shut-Off
The oven control is set to automatically shut off the oven 12 hours after the oven initiates a cook or clean function. This will not interfere with any timed or delay cook functions.
- Press OPTIONS until “12-HR SHUT-OFF” is displayed.
- The current setting will be displayed.
- Press the “1” keypad to adjust the setting.
- Press OFF UPPER or OFF LOWER to exit and display the time of day.
Languages – Scrolling Display Text
Language options are English, Spanish and French.
- Press OPTIONS until “LANGUAGE” is displayed.
- The current setting will be displayed.
- Press the “1” keypad to adjust the setting.
- Press OFF UPPER or OFF LOWER to exit and display the time of day.
Demo Mode
IMPORTANT: This feature is intended for use on the sales floor with a 120 V power connection and permits the control features to be demonstrated without heating elements turning on. If this feature is activated, the oven will not work.
- Press OPTIONS until “DEMO MODE” is displayed.
- The current setting will be displayed.
- Press the “1” keypad to adjust the setting.
- Press OFF UPPER or OFF LOWER to exit and display the time of day.
Energy Save
The Energy Save mode deactivates the display to reduce energy consumption. The setting will be activated after being idle for several minutes. Any mode may be used with the range in Energy Save by selecting the desired mode.
- Press OPTIONS until “ENERGY SAVE” is displayed.
- The current setting will be displayed.
- Press the “1” keypad to adjust the setting.
- Press OFF UPPER or OFF LOWER to exit and display the time of day.
Oven Temperature Offset Control
IMPORTANT: Do not use a thermometer to measure oven temperature. Elements will cycle on and off as needed to provide consistent temperature, but they may run slightly hot or cool at any point in time due to this cycling. Most thermometers are slow to react to temperature change and will not provide an accurate reading due to this cycling. The oven provides accurate temperatures; however, it may cook faster or slower than your previous oven, so the temperature can be adjusted to personalize it for your cooking needs. It can be changed in Fahrenheit or Celsius.
To Adjust Oven Temperature:
- Press OPTIONS until “TEMP CALIB” is displayed.
- The current setting will be displayed. Press the “1” keypad to toggle between the upper and lower ovens.
- Press STARTor START UPPER/START LOWER to select the choice displayed in Step 2. Wait 10 seconds for the display to change or press STARTor START UPPER/START LOWER, and then continue with Step 4.
- Press the “3” keypad to increase the temperature in 5°F (3°C) increments, or press the “6” keypad to decrease the temperature in 5°F (3°C) increments. The range is from -30°F to +30°F (-18°C to +18°C).
- Press STARTor START UPPER/START LOWER.
- Press OFF UPPER or OFF LOWER to exit and display the time of day.
Keep Warm
IMPORTANT: Food must be at serving temperature before placing it in the warmed oven. Food may be held up to 1 hour; however, breads and casseroles may become too dry if left in the oven during the Keep Warm function. For best results, cover food. The Keep Warm or warm feature allows hot cooked foods to stay at serving temperature.
To Use:
- Press KEEP WARM for the desired oven.
- Press the number keypads to set the desired temperature. If the temperature entered is not in the range of temperatures allowed, the minimum or maximum allowed temperature will be displayed. Enter a temperature in the allowable range. NOTE: The temperature may be changed at any time by pressing the number keypads to enter the desired temperature and then START.
- Press START.
- Place food in the oven.
- Press OFF for the selected oven when finished.
- Remove food from the oven.
To Cancel Keep Warm Feature:
- Press OFF for the desired oven.
- Remove food from oven.
Sabbath Mode
Sabbath mode sets the oven to remain on in a bake setting until turned off. When the Sabbath mode is set, only the Bake cycle will operate. All other cooking and cleaning cycles are disabled. No tones will sound and the displays will not indicate temperature changes. When the oven door is opened or closed, the oven light will not turn on or off and the heating elements will not turn on or off immediately.
To Enable Sabbath Mode Capability (One Time Only):
- Press OPTIONS until “SABBATH” is displayed.
- Press the “1” keypad. Sabbath mode can be activated for baking.
- Press OFF UPPER or OFF LOWER to save the setting and exit to display the time of day.
NOTE: To disable the Sabbath mode, repeat steps 1 through 3 to change the status from “SABBATH ON” to “SABBATH OFF.”
To Activate Sabbath mode:
- Press BAKE for the desired oven.
- Press the number keypads to set the desired temperature. If the temperature entered is not in the range of temperatures allowed, the minimum or maximum allowed temperature will be displayed. Enter a temperature in the allowable range.
- Press START. For the timed cooking in Sabbath mode, press COOK TIME, and then press the number keypads to set the desired cook time. Press START.
- (Optional) If Sabbath mode is to be used for both ovens, repeat steps 1 through 3 for the second oven.
- Press OPTIONS. Three tones will sound. Then press “7.” “SAb” will appear in the display.
To Adjust Temperature (when Sabbath mode is running in only one oven):
- Press the number keypad as instructed by the scrolling text to select the new temperature.
NOTE: The temperature adjustment will not appear on the display, and no tones will sound. The scrolling text will be shown on the display as it was before the keypad was pressed. - Press START for the selected oven.
To Adjust Temperature (when Sabbath mode is running in both ovens):
- Press BAKE for the desired oven.
- Press the number keypad as instructed by the scrolling text to select the new temperature.
NOTE: The temperature adjustment will not appear on the display, and no tones will sound. The scrolling text will be shown on the display as it was before the keypad was pressed. - Press START for the selected oven.
To Deactivate Sabbath Mode:
Press OPTIONS, then press “7” to return to regular baking, or press OFF UPPER or OFF LOWER to turn off the oven(s).
Positioning Racks and Bakeware
Use the following illustrations and charts as a guide for positioning racks.
Rack Positions – Upper Oven
Rack Positions – Lower Oven

Multiple Rack Cooking
2-rack: Use rack positions 2 and 4 for regular baking with the roll-out rack in position 2. 2-rack (convection only): Use rack positions 2 and 4 for convection baking with the roll-out rack in position 2.
NOTE: The roll-out rack in the lower oven sits midway between adjacent rack positions. The roll-out rack should not be used in rack position 5.
Bakeware
To cook food evenly, hot air must be able to circulate. Allow 2″ (5.0 cm) of space around the bakeware and oven walls. Use the following chart as a guide.
Roll-out Rack
The roll-out rack allows easy access to position and remove food in the oven. The roll-out rack should not be used in rack position 5.
Open position
- A. Sliding rails
- B. Sliding shelf
Closed and Engaged Position
- A. Sliding rails
- B. Sliding shelf
To Insert Roll-Out Rack
- Angle rack assembly up, and then insert into the “V” cutout in the rack guides of the oven cavity.
- Keep rack assembly lifted up at an angle, and then push in to bypass the lower “V” cutout.
- Gently slide rack assembly into oven, bypassing the “V” cutouts.

- A. “V” cutout
- B. Rack guides
To Remove Roll-Out Rack
- Push the sliding shelf in completely so that it is in the closed and engaged position.
- Using 2 hands, gently pull the sliding shelf and the slide rails at the same time to the “V” cutout. Angle the rack so that the front is higher than the back, and then gently pull rack past “V” cutout and then out of the oven.
To avoid damage to the sliding shelves, do not place more than 25 lbs. (11.4 kg) on the rack. Do not clean the roll-out rack in the dishwasher. It may remove the rack’s lubricant and affect its ability to slide. See the “General Cleaning” section in your Owner’s Manual for more information.
Baking and Roasting
Preheating
When beginning a Bake, Convect Bake, or Convect Roast cycle, the oven will begin preheating after Start is pressed. The oven will take approximately 12 to 15 minutes to reach 350°F (177°C) with all of the oven racks provided with your oven inside the oven cavity. Higher temperatures will take longer to preheat. The preheat cycle rapidly increases the oven temperature. The actual oven temperature will go above your set temperature to offset the heat lost when your oven door is opened to insert food. This ensures that when you place your food in the oven, the oven will begin at the proper temperature. Insert your food when the preheat tone sounds. Do not open the door during preheat before the tone sounds.
Oven Temperature
While in use, the oven elements will cycle on and off as needed to maintain a consistent temperature, but they may run slightly hot or cool at any point in time due to this cycling. Opening the oven door while in use will release the hot air and cool the oven which could impact the cooking time and performance. It is recommended to use the oven light to monitor the cooking progress.
NOTE: On models with convection, the convection fan may run in the non-convection Bake mode to improve oven performance.
Temperature Management System
The Temperature Management System electronically regulates the oven heat levels during preheating and bake to maintain a precise temperature range for optimal cooking results. The bake and broil elements or burners cycle on and off in intervals. On convection range models, the fan will run while preheating and may be cycled on and off for short intervals during bake to provide the best results. This feature is automatically activated when the oven is in use. Before baking and roasting, position racks according to the “Positioning Racks and Bakeware” section. When roasting, it is not necessary to wait for the oven preheat cycle to end before putting food in unless it is recommended in the recipe.
Steam Bake
The Steam Bake function works in conjunction with the steam rack to provide additional moisture during baking. The steam rack contains a water reservoir that heats up and releases steam into the oven cavity during the Steam Bake cycle. There are 3 preprogrammed food options to choose from: Bread, Desserts, and Fish as well as a Refresh/Reheat option. For best performance, place the steam rack in the lowest available rack position in the cavity and pour 11/2 cups (350 mL) of water into the reservoir. Do not fill past the MAX level indicated on the reservoir.
After the Steam Bake cycle is complete, some water may remain in the reservoir. This is normal. Wait for the oven to cool and discard the water.
- A. Steam rack
- B. Water reservoir
Broiling
Close the oven door while broiling. No preheating is necessary. Position food on grid in a broiler pan, and then place it in the center of the oven rack.
NOTE: Odors and smoke are normal the first few times the oven is used or if the oven is heavily soiled. Changing the temperature when broiling allows more precise control when cooking. The lower the broil setting, the slower the cooking. Thicker cuts and unevenly shaped pieces of meat, fish, and poultry may cook better at lower broil settings. Refer to the “Positioning Racks and Bakeware” section for more information. On lower settings, the broil element will cycle on and off to maintain the proper temperature.
- For best results, use a broiler pan and grid. It is designed to drain juices and help avoid spatter and smoke. If you would like to purchase a broiler pan, one may be ordered. Please refer to the Quick Start Guide for contact information.
Lower Oven Convection Cooking
In a convection oven, the fan-circulated hot air continually distributes heat more evenly than the natural movement of air in a standard thermal oven. This movement of hot air helps maintain a consistent temperature throughout the oven, cooking foods more evenly, crisping the surfaces while sealing in moisture, and yielding crustier bread. During the convection cooking, the bake, broil, and convection (true convection only) elements cycle on and off in intervals to maintain the oven temperature, while the fan circulates the hot air. If the oven door is opened during convection cooking, the fan will turn off immediately. It will come back on when the oven door is closed.
NOTE: The oven door must be closed for convection broiling.
Position the racks according to the “Positioning Racks and Bakeware” section before starting convection cooking. With convection cooking, most foods can be cooked at a lower temperature or for a shorter length of time. These adjustments can be made using the following chart or by using the EasyConvect™ Conversion feature on your range.
BowTie True Convection with T.H.E.™™ Element
True convection adds an electric element around the convection fan to enhance the cooking performance. Use the following Convect Options chart as a guide.
EasyConvect™ Conversion
Convection cooking temperatures and times can differ from those of standard cooking. Depending upon the selected category, EasyConvect™ Conversion automatically reduces the standard recipe temperature and/or time you input for convection cooking. Foods are grouped into 3 general categories. Choose the category most appropriate for the food to be cooked. Use the following chart as a guide.
To Use:
NOTE: For best results, preheat your oven to the desired temperature prior to using EasyConvect™ Conversion. After preheating is complete, press OFF LOWER before using EasyConvect™ Conversion.
- Press EASY CONVECT until the desired option (MEATS, BAKED GOODS or OTHER) is displayed.
- Press START.
- Press number pads to enter standard cook temperature, and then press START.
- Press number pads to enter standard cook time, and then press START.
- Place the food in the oven. Check food for doneness before the stop time is reached. If food will not be done when the stop time is reached, add more cooking time before time elapses. See “Cook Time” section. At the end of the stop time, the oven will automatically turn off.
- Press OFF LOWER when finished.
- Remove food from the oven.
Slow Cook
Recommended Temperature Range:
- 4 hour cook time = 250°F to 300°F (120°C to 150°C)
- 8 hour cook time = 200°F to 250°F (93°C to 120°C)
- 12 hour cook time = 170°F to 226°F (77°C to 108°C)
- Food should be completely thawed.
- Cover food to keep moist.
- Prior to Slow Roasting, meat can be pan seared or broiled on the sides to enhance browning, flavor, and tenderness.
- Use a flat rack in position 3 for best results.
To Use Slow Cook:
Before using Slow Cook, see the “Positioning Racks and Bakeware” section. It is not necessary to preheat the oven.
- Place food in the oven.
- Press SLOW COOK for the desired oven.
- Press the number keypads to set the desired temperature. If the temperature entered is not in the range of temperatures allowed, the minimum or maximum allowed temperature will be displayed.
- Enter a temperature in the allowable range. Press START. “Preheating” will show in the display until the set temperature is reached. When a minimum oven temperature is reached, the oven display will show the temperature increasing. A single tone will sound when the set temperature is reached.
- Press OFF for the selected oven when finished.
Cook Time
To Set a Timed Cook:
- Press the keypad for any cooking function except Self-Clean, Bread Proof (on some models), or Keep Warm.
- Press the number keypads to set the desired temperature. If the temperature entered is not in the range of the temperatures allowed, the minim or maximum allowed temperature will be displayed. Enter a temperature in the allowable range.
- Press COOK TIME.
- Press the number keypads to enter the length of time to cook.
- Press START for the desired oven. The display will count down the time. When the time ends, the oven will shut off automatically.
The temperature and/or time setting can be changed at any time by repeating steps 2 through 5. - Press OFF for the desired oven to clear the display.
To Set a Delayed Timed Cook:
- Press DELAY START.
- Press the number “1” or “2” keypad to select the desired oven.
- Press the number keypads to enter the number of hours and/or minutes you want to delay the start time.
- Press the keypad for any cooking function except Bread Proof or Keep Warm.
- Press the number of keypads to set the desired temperature. If the temperature entered is not in the range of the temperatures allowed, the minimum or maximum allowed temperature will be displayed. Enter a temperature in the allowable range.
- Press STARTor COOK TIME.
- Press the number keypads to enter the length of time to cook.
- Press START for the desired oven. When the start time is reached, the oven will automatically turn on. The temperature and/or time settings can be changed after the delay countdown by repeating steps 1 through 7. When resetting the time and temperature, it is necessary to press START for the desired oven between steps 4 and 5 to continue making changes. When the set cook time ends, the oven will shut off automatically.
- Press OFF for the desired oven to clear the display.
- ©2021 KitchenAid. All rights reserved. Used under license in Canada. Tous droits réservés. Utilisé sous licence au Canada.
























