
USER MANUAL
Rangehood


Please read the Manual carefully before use.
The Manual shall be kept in good custody for later reference
MODEL: 90M83
RECOMMENDATIONS AND SUGGESTIONS
The instructions for Use apply to several versions of this appliance. Accordingly, you may find descriptions of individual features that do not apply to your specific appliance.
INSTALLATION

- The manufacturer will not be held liable for any damages resulting from incorrect or improper installation.
- Check that the mains voltage corresponds to that indicated on the rating plate fixed to the inside of the hood.
- For Class I appliances, check that the domestic power supply guarantees adequate earthing.
- Connect the extractor to the exhaust flue through a pipe of minimum diameter 120mm.
- The route of the flue must be as short as possible.
- Do not connect the extractor hood to exhaust ducts carrying combustion flumes (boilers, fireplaces, etc.).
- If the instructions for installation for the gas hob specify a greater distance specified above, this has to be taken into account.
- If the supply cord is damaged, it must be replaced by the manufacturer or its service agent or a similarly qualified person in order to avoid a hazard.
- The air must not be discharged into a flue that is used for exhausting fumes from appliances burning gas or other fuels(not applicable to appliances that only discharge the air back into the room).
- The minimum distance between the supporting surface for the cooking vessels on the hob and the lowest part of the range hood is 650 mm.
- Regulations concerning the discharge of air have to be fulfilled.
USE

- The extractor hood has been designed exclusively for domestic use to eliminate kitchen smells.
- Never use the hood for purposes other than for which it has been designed.
- Never leave high naked flames under the hood when it is in operation.
- Adjust the flame intensity to direct it onto the bottom of the pan only, making sure that it does not engulf the sides.
- Deep fat fryers must be continuously monitored during use: overheated oil can burst into flames.
- This appliance is not intended for use by persons (including children) with reduced physical, sensory or mental capabilities, or lack of experience and knowledge, unless they have been given supervision or instruction concerning use of the appliance by a person responsible for their safety.
- Children should be supervised to ensure that they do not play with the appliance.
- There shall be adequate ventilation of the room when the range hood is used at the same time as appliances burning gas or other fuels (not applicable to appliances that only discharge the air back into the room).
- There is a fire risk if cleaning is not carried out in accordance with the instructions.
- Do not flame under the range hood.
- “CAUTION “: Accessible parts may become hot when used with cooking appliances”.
MAINTENANCE

- The cooker hood and its filter should be cleaned regularly according to the instruction.
- Switch off or unplug the appliance from the mains supply before carrying out any maintenance work.
- Clean the hood using a damp cloth and a neutral liquid detergent.
- The appliance uses 4 hob elements at most.
The symbol
is packaging indicates that this product may not be treated as household waste. Instead it shall be handed over to the applicable collection point for the recycling of electrical and electronic equipment. By ensuring this product is disposed of correctly, you will help prevent potential negative consequences for the environment and human health, which could otherwise be caused by inappropriate waste handling of this product. For more detailed information about recycling of this product, please contact your local city office, your household waste disposal service or the shop where you purchased the product.
COMPONENTS


| Ref. | Qty. | Product Components |
| 1 | 1 | Hood Body,complete with: Controls, Light, Blower,Filter. |
| 3.1 | 1 | Lower Decorative Chimney |
| 3.2 | 1 | Upper Decorative Chimney |
| 4 | 1 | Hanger Assembly |
| 5 | 4 | Hanger |
| 6 | 1 | Exhaust pipe |
| 7.1 | 2 | The Round Activated Charcoal filter ( optional ) |
| 7.2 | 1 | The Rectangular Activated Charcoal filter ( optional ) |
| 7.3 | 1 | Flange ( optional ) |
| Qty. | Documentation |
| 1 | Instruction Manual |

| Ref. | Qty. | Installation Components |
| 8 | 14 | Screws M4*8 (4 spare screws included) |
| 9 | 4 | Decorative Screws Assembly (no need for this hood) |
| 10 | 4 | Screws ST5*50 |
| 11 | 4 | Wall Plugs |
DIMENSIONS


INSTALLATION
1.Install the Exhaust pipe to the Hood body.

2.Fasten the 4 Hanger to the Hood Body assembly with 8 Screws (M4*8) according to the image below.

3.Assemble the Lower Decorative Chimney and the Upper Decorative Chimney to the Hood body assembly.

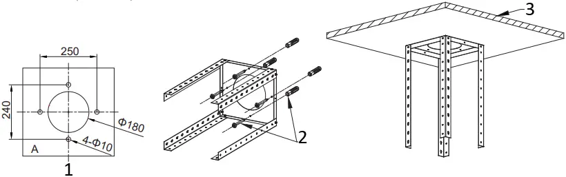
4.Drill holes according to the Figure A with a 10 mm drill bit; and then insert the wall plugs into the holes; Finally Fasten the adjustment hanger assembly to the ceiling by 4 Screws (ST5*50)

- Mounting hole position size
- 4 Screws (ST5*50) and 4 Wall plugs
- Ceiling
5.Fasten the Hood Body Assembly to the adjustment hanger assembly by using 8 Screws (M4*8).

- M4*8 (8 Screws)
6.Drag up the exhaust pipe and connect it to the public smoke exhaust system ; in the meantime, connect the cord to the socket.
7.Drag up the Upper Decorative Chimney until the Upper Decorative Chimney touch the ceiling, fasten with 2 Screws (M4*8) .

- M4*8 (2 Screws)
USE
Speed adjustment. (For some models)
After the hood is switched on, a beep sound heard and all key lights are lightened for 1 s, indicating the hood has been powered on. Under the condition the hood power-on:
- Power Key: control the motor power, under standby state, press the “power” button, “power” key light is on, the motor starts up at low speed, digital screen displays setting 1; under power-on state, press the “power” button, enter 3-min-delay-shutdown state, setting switched to low speed, the power key flashes at one second interval, which means entering delay-shutdown state; under delay-shutdown state, press the “power” button, it’s shut down immediately (motor stops running).
- Light Key: independently control the light on and off free from the effect of other keys. Press it once, the light is on, meanwhile the light key light is on; press again, the light is off and light key light is off too.
- Plus (+) Key: valid under power-on state, press plus (+) key once, motor speed increased one setting, digital tube displays corresponding setting. When the plus (+) key is pressed down, plus (+) key light is on. When at the highest setting, only give out key touch sound, the setting no longer changes.
- Minus (-) Key: valid under power-on state, press “minus (-)” key once,motor speed decreased one setting, digital tube displays corresponding setting. When the “minus (-)”key is pressed down, “minus (-)”key light is on. When at the lowest setting, only give out key touch sound, the setting no longer changes.

Light Minus Digital screen Plus Power
MAINTENANCE
GREASE FILTERS
CLEANING METAL SELF-SUPPORTING GREASE FILTERS

- The filters must be cleaned every 2 months of operation, or more frequently for particularly heavy usage, and can be washed in a dishwasher.
- Pull the comfort panels to open them.
- Remove the filters one by one pushing them towards the back side of the hood unit and simultaneously pulling downwards.
- Any kind of bending of the filters has to be avoided when washing them. Before fitting them again into the hood make sure that they are completely dry. (The color of the filter surface may change throughout the time but this has no influence to the filter efficiency).
- When fitting the filters into the hood pay attention that they are mounted in correct position the handle facing outwards.
ACTIVATED CHARCOAL FILTER (RECIRCULATION VERSION)
These filters are not washable and cannot be regenerated, and must be replaced approximately every 4 months of operation, or more frequently with heavy usage.
REPLACING THE ACTIVATED CHARCOAL FILTER
- Remove the metal grease filters.
- Remove the saturated activated charcoal filter.
- Fit the new filters.
- Replace the metal grease filters.

Round activated charcoal filter

Rectangluar activated charcoal filter
LIGHTING
LIGHT REPLACEMENT
Replacing the light modules
- You cannot replaced the light bulbs, the entire light module has to be replaced.
- When changing the light modules, the contacts are live.
- Before changing the light module(s), unplug the appliance from the mains or switch off the circuit breaker in the fuse box.
- Remove the grease filter and carefully remove the 2 screws from the front plate (a cross headed screwdriver will be needed to remove the screws).
- Disconnect the terminal of LED light.
- Press LED light on the back of the front plate, take the LED light out.
- Replace the lamp(commercially available LED lamp (max.1.5w).

| Lamp type | Max Power | Voltage | Picture | Lamp Cap | ILCOS D code |
| LED modules, separate ballas | 1.5W | DC 12 V | ![]() Square / Dimesion: 33.2mm x 120mm | – | DSS-1.5-S-33.2 /120 |
- Press LED light on the front of front plate, install the LED light on the front plate.
- Connect the terminal of LED light and light leads.
- Carefully fasten the 2 screws on the front plate ,reinstall the grease filter.
DISPOSAL OF OLD ELECTRICAL APPLIANCES
The European directive 2012/19/EU on Waste Electrical and Electronic Equipment (WEEE), requires that old household electrical appliances must not be disposed of in the normal unsorted municipal waste stream. Old appliances must be collected separately in order to optimize the recovery and recycling of the materials they contain, and reduce the impact on human health and the environment.
The crossed out “wheeled bin” symbol on the product reminds you of your obligation, that when you dispose of the appliance, it must be separately collected.
Consumers should contact their local authority or retailer for information concerning the correct disposal of their old appliance.
TROUBLE SHOOTING
| Fault | Cause | Solution |
| Light on, but motor does not work | The blades are blocked. | Check the blades. |
| The capacitor is damaged. | Replace capacitor | |
| The motor is damaged. | Replace motor | |
| The internal wiring of motor is cut off/ disconnected. An unpleasant smell may be produced. | Replace motor. | |
| Both light and motor do not work | Apart from the above mentioned, check the following: | |
| Light damaged. | Replace lights. | |
| Power cord loose. | Connect the wires as the electric diagram. | |
| Oil leakage | Outlet and the air ventilation entrance are not tightly sealed. | Take down the outlet and seal with glue. |
| Vibration | The blade, if damaged, can cause vibrating. | Replace the blade. |
| The motor is not tightly fastened. | Fasten the motor tightly. | |
| The cooker hood is not tightly fixed. | Fixed the cooker hood tightly. | |
| Insufficient suction | The distance between the cooker hood and the cooker top is too large. | Readjust the distance. |
| Too much ventilation from open doors or windows. | Choose a new place to install the appliance or close some doors / windows. | |
| The machine inclines | The fixing screws are not tight enough. | Tighten the fixing screw and make it horizontal. |
| The hanging screws are not tight enough | Tighten the hanging screw and make it horizontal. | |

make yourself at home
P/N:16173000A14967



















