GlenDimplex
Undermount Rangehood
User Manual
UC52
52cm Undermount Rangehood

UC75
75cm Undermount Rangehood

PLEASE READ THE USER MANUAL CAREFULLY BEFORE USE
Dear Customer,
We thank you for choosing this quality appliance and hope you enjoy many years of reliable service.
Please ensure this manual is read carefully before installation and use.
Keep this manual in a safe and accessible location should future reference be required.
Regards
Glen Dimplex Australia
NOTICE
- Thank you for choosing our canopy rangehood.
Please read the instruction manual carefully before use. - The installation work must be undertaken by a qualified and competent installer.
- The manufacturer disclaims all liability for any damage or injury caused as a result of not following instructions for installation contained in the following text.
The cooker hood is used on 220/240v, 50Hz.
SAFETY WARNINGS
- Installation of this Integrated Canopy Rangehood must be carried by a Qualified and competent installer.
- The manufacturer disclaims and liability for any damage or injury caused as a result of not following instruction of installation contained in this instruction manual.
- This Integrated Canopy Rangehood is not intended for use by young children or infirm persons without supervision.
- Young children should be supervised to ensure they do not play with this Integrated Canopy Rangehood.
- To avoid possible electric shock this Integrated Canopy Rangehood should be unplugged before any maintenance or cleaning is carried out.
- This Integrated Canopy Rangehood cannot be installed in an external environment.
- The Grease Filters should be cleaned at least once a month to avoid the risk of fire.
- Flambé cooking cannot be carried out under the Integrated Canopy Rangehood and is not recommended for use over Barbeques.
- Ducting must be independent from any other form of ducting of other household heating sources.
- Ducting into wall cavities is prohibited unless the cavity has been designed for this purpose
- Lit gas burner should never remain uncovered or on when there is no pan present due to the risk of fire.
- Adequate ventilation of the room is required when the cooker hood is used at the same time as appliances burning gas or other fuels.
CAUTION: Accessible parts may become hot when used with cooking appliances.
Thank you for purchasing this cooker hood. Please read the instruction manual carefully before you use the cooker hood, and keep it in a safe place.
The installation work must be carried out by a qualified electrician or competent person. Before you use the cooker hood, make sure that the voltage (V) and the frequency (Hz) indicated on the cooker hood are exactly the same as the voltage (V) and the frequency (Hz) in your home.
The manufacturer and the agent will not bear any responsibility for the damage caused by inappropriate installation and usage.
FUNCTION AND FEATURE
- The cooker hood is made of high quality materials with streamlined design accordingly to technical and physical engineering theory, high end and luxury with age aesthetic feeling, also there are kinds of styles for your option to perfect your kitchen.
- Equipped with a large power low noise electric motor and centrifugal leaf, it produces strong suction, low noise, no stick grease filter and easy to clean.
- The grease filter is easy to remove and clean, and only wipe lightly for the motor and other interior parts.
1. INSTALLATION

- For optimum performance, Glen Dimplex recommends that all Rangehood clearances be a minimum of 650mm to a maximum of 750mm between the top of the cooking surface to the underside of the Rangehood. The distance may be reduced to 600mm to align with AS/NZS 5601.
- Drill a hole in the cabinet, with hole wide 505*280(mm) for 52CM and 730*275(mm) for model 75CM. (Pic 1).
Make sure the hole’s edge to the cupboard’s edge is at least 35mm distance. - Adjust the 4 spring clips to the highest level by turning the screws clockwise.
- Push the hood up into the cabinet ensuring the 4 spring clips spring out. (Pic 2)
- Tighten the 4 spring clips by turning the screws anti-clockwise until the hood is raised up and secure. (Pic 3)


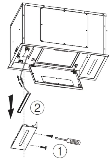
2. LIGHT REPLACEMENT
- Open the S/S panel.

2. Remove the two screws of the lamp panel. Take out the lamp panel. Take out the LED strip from the lamp panel. Unplug the connector at the end of the lamp wire.

3. OPERATION
How to use the control panel. Pic. 5:
- Push the low button, the indicating light on, and the motor runs at low speed. Push it again and the motor will stop.
- Push the middle button, the indicating light on, and the motor runs at mid speed. Push it again and the motor will stop
- Push the high button, the indicating light on, and motor runs on high speed. Push it again and the motor will stop
- Push the light button; the indicating light on, and the two lighting lamps will come on. Push it again and the lamps will turn off.

4. MAINTENANCE
- The cooker hood and its filter mesh should be cleaned regularly in order to keep in good working order. Because the grease filters are made of metal, do not clean the filters with detergents that will corrode metal products.
Clean the filters as below:
a) Method one:
Put the filter in the water (40℃-50℃), pour in some grease-loosening detergent, soak it for about 2-3 minutes and then clean it with a soft brush. Do not brush too hard, in case to damage the filter.
b) Method two:
Also can put the filter into a dishwasher with detergent for cleaning.
Set the temperature at around 60℃. - To protect the main body from corrosion over a long period of time, the cooker hood should be cleaned with hot water plus soap or non corrosive detergent once a week. Do not use grinding detergent, or it will damage the body.
- Keep the motor and other spare parts free from water, as this will cause damage to the appliance.
- Disassembly and assembly the filter:

5. ATTENTION
- Range hood use 220-240V 50Hz power;
- Cut off the power when u clean;
- No fire and roast for the filter;
- No detached the filter around, or lead to the filter scatter;
- If the plug wire or plug damage, must use the specific flexible wire or get it in service center.
6. CAUTION
- Keep your children from using the cooker hood.
- Your cooker hood is for domestic use only, not suitable for barbecue, roast shop and other commercial use.
- Any installation work must be carried out by a qualified electrician or competent person.
- The cooker hood and its filter mesh should be cleaned regularly in order to keep in good working order.
- Before cleaning, always ensure that you have switched your cooker hood off.
- Clean the cooker hood according to the instruction manual and keep the cooker hood from the danger of burning.
- No fire for drying your cooker hood.
- If there is any fault with your cooker hood, please call the service department appointed by agent for servicing.
- Please keep the room draughty when your cooker hood and gas hob are working.
- Do not exhaust the gas from cooker hood through the same heated flue which is for the gas from gas hob and other kitchen appliances.
7. ABNORMITY AND SOLUTION

MANUFACTURER GUARANTEE
This warranty is provided in Australia by Glen Dimplex Australia Pty Limited ABN 69 118
275 460 (Phone number 1300 556 816) and in New Zealand by Glen Dimplex New
Zealand Limited ACN 9429000069823 (Phone number 09 274 8265) in respect of the
Glen Dimplex product.
1. Glen Dimplex Express Warranty
Subject to the exclusions below, we warrant that the product will not have any electrical or
mechanical breakdowns within:
a) In the case of Glen Dimplex products used for personal, domestic or household purposes, a
period of 2 years from the date the product is purchased as a brand-new product from a retailer
located in Australia / New Zealand.
b) In the case of Glen Dimplex products used for purposes other than personal, domestic or
household purposes (including business or commercial use), a period of 90 days from the date
the product is purchased as a brand-new product from a retailer located in Australia / New
Zealand. Glen Dimplex products are designed and intended for domestic use only; and
c) All warranty repairs must be carried out by Glen Dimplex or their nominated service agent
Note: warranty periods detailed above may vary in line with agreements with select retail and builder partners and may differ between Australia and New Zealand.
The benefits conferred by this express warranty are in addition to the Consumer Guarantees referred to in section 3 and any other statutory rights you may have under the Australian / New Zealand Consumer Law and/or other applicable laws.
2. Warranty exclusions
This express warranty does not apply where:
a) The product has been installed, used or operated otherwise than in accordance with the product manual or other similar documentation provided to you with the product;
b) The product requires repairs due to damage resulting from accident, misuse, incorrect
installation, insect or vermin infestation, improper liquid spillage, cleaning or maintenance,
unauthorised modification, use on an incorrect voltage, power surges and dips, voltage supply
problems, tampering or unauthorised repairs by any persons, use of defective or incompatible
accessories or exposure to abnormally corrosive conditions, events independent of human
control which occurred after the goods left the control of Glen Dimplex;
c) The repair relates to the replacement of consumable parts such as fuses and bulbs or any other parts of the product which require routine replacement;
d) You are unable to provide us with reasonable proof of purchase for the product;
e) the breakdown occurs after the expiry of the express warranty period set out in section 1 or
f) the product was not purchased in Australia / New Zealand as a brand-new product.
3. Consumer guarantees
Our goods come with guarantees that cannot be excluded under the Australian / New Zealand Consumer Law. You are entitled to a replacement or refund for a major failure and for compensation for any other reasonably foreseeable loss or damage. You are also entitled to have the goods repaired or replaced if the goods fail to be of acceptable quality and the failure does not amount to a major failure.
4. How to make a claim
You may make a claim under this warranty through our website, contacting our customer
care line or via email. Contact details for Glen Dimplex Australia and New Zealand can be
found at the end of this document
To make a valid claim under this warranty, you must:
a) Lodge the claim with us as soon as possible and no later than 14 days after you first become
aware of the breakdown;
b) Provide us with the product serial number;
c) Provide us with reasonable proof of purchase for the product. This can take the form of a store receipt, new home handover form or other payment receipt documentation; and
d) If required by us, provide us (or any person nominated by us) with access to the premises at
which the product is located at times nominated by us (so that we can inspect the product).
5. Warranty claims
If you make a valid claim under this warranty and none of the exclusions set out in section 2
apply, we will, at our election, either repair the product or replace the product with a product
of identical specification (or where the product is superseded or no longer in stock, with a
product of as close a specification as possible).
Goods presented for repair may be replaced by refurbished goods of the same type rather
than being repaired. Refurbished parts may be used to repair the goods.
Products are designed and supplied for normal domestic use. We will not be liable to you
under this warranty for business loss or damage of any kind whatsoever.
Glen Dimplex Australia Pty Ltd
www.glendimplex.com.au
Australia
Ph: 1300 556 816
[email protected]
Glen Dimplex New Zealand Ltd
www.glendimplex.co.nz
New Zeaand
Ph: 09 274 8265
[email protected]
READ THE INSTRUCTION BOOKLET BEFORE INSTALLING AND USING THE APPLIANCE.
The manufacturer will not be responsible for any damage to property or to persons caused by
incorrect installation or improper use of the appliance.
The manufacturer is not responsible for any inaccuracies, due to printing or transcription errors,
contained in this manual. In addition, the appearance of the figures reported is also purely
indicative.
The manufacturer reserves the right to make changes to its products when considered necessary
and useful, without affecting the essential safety and operating characteristics.
Glen Dimplex constantly seeks ways to improve the specifications and designs of their products.
Whilst every effort is made to produce up to date literature, this document should not be regarded as an infallible guide. Actual product only should be used to derive cut out sizes.
All appliances must be installed by a qualified person/s with adherence to the relevant electrical,
plumbing and building codes, with compliance being issued as required by state or national
legislation.
Additionally, all upright cookers must have the anti-tilt device installed correctly in adherence to the relevant standards by a licenced installer.
For maximum effectiveness and efficiency all rangehoods should be installed with the use of
ductwork, by a licenced installer with adherence to the relevant state and national building codes
and regulations.
All Glen Dimplex appliances are for Domestic use only, and must be installed by a licence installer into Domestic Applications only, without exception and to the required Authorities guidelines. Any installation outside of this will VOID warranty. Alfresco areas are not a Domestic application.




















