
Black 32″ Desk Riser
Instruction Manual
SKU: DESK-V000VS
Scan the QR code with your mobile device or follow the link for helpful videos and specifications related to this product.
https://vivo-us.com/products/desk-v000vs
GET IN TOUCH | Monday-Friday from 7:00am-7:00pm CST
|
|
WARNING!
If you do not understand these directions, or if you have any doubts about the safety of the installation, please call a qualified technician. Check carefully to make sure there are no missing or defective parts. Improper installation may cause damage or serious injury. Do not use this product
for any purpose that is not explicitly specified in this manual and does not exceed weight capacity.
We cannot be liable for damage or injury caused by an improper mounting, incorrect assembly, or inappropriate use.
WARNING: CHOKING HAZARD
SMALL PARTS – NOT FOR CHILDREN UNDER 3 YEARS. ADULT SUPERVISION IS REQUIRED.
PACKAGE CONTENTS

| PINCH POINTS DO NOT place hands on or near support bars. Moving parts can crush and cut. Pinch points are created during lifting and lowering the work surface. Failure to follow these instructions may result in serious personal injury. | ||
TOOLS NEEDED
DO NOT EXCEED WEIGHT CAPACITY.
Failure to do so may result in serious injury.

ASSEMBLY STEPS
STEP 1
Carefully remove the desktop (A) from the packaging.
STEP 2
Flip the desktop (A) upside down, then attach the extended feet (B) to the frame using M5x10mm screws (C).
STEP 3
Press the handle on the side and lift the desktop (A).
STEP 4
Mount brackets (D) to keyboard tray (G) using M5x10mm screws (C).
STEP 5
Hang assembled keyboard tray onto pre-installed knobs, and tighten knobs to secure.
STEP 6
Place monitor, laptop, and other items on the desk surface.
STEP 7
Attach cable clip (E) to the desk to manage keyboard and mouse cables.
STEP 8
Manage cables using zip ties (F).
STEP 9
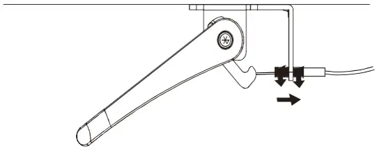
If locks are not releasing properly to change desk height, adjust the position of the black tube containing the steel release cable. Turn the nuts at the end of the tube just behind the handle as shown, moving the tube away from the handle until the cable once again has proper tension, then tighten the nuts.
CAUTION!
![]() | ![]() |
| Keep monitor and laptop base fully on the desktop. | Follow the cable routing instructions to avoid the potential to pinch cables. |
![]() | ![]() |
| Leave enough slack in the cable to allow for a full range of vertical motion (15″ / 38 cm). | Raise desktop slowly to keep items stable. |
Failure to follow these instructions may result in property damage and/or personal injury.
Love your new VIVO setup and want to share?
Tag us in your photo! @vivo_us
Open Monday – Friday 7:00 am – 7:00 pm CST,
our dedicated support team can offer immediate assistance with rapid response times. If any parts are received damaged or defective, please contact us. We are happy to replace parts to ensure you have a fully functioning product.
| AVG. RESPONSE TIME (within office hrs): 1HR 8M – 23% within < 15m – 38% within < 30m – 61% within < 1hr – 83% within < 2hr – 92% within < 3hr | |
Chat live with an agent! | AVG. RESOLUTION TIME (within office hrs): < 15 M |
| AVG. RESOLUTION TIME (within office hrs): 5M 4S |
FOR MORE VIVO PRODUCTS, CHECK OUT OUR WEBSITE AT: www.vivo-us.com
309-278-5303













